dnes je 6.10.2025

Input:

Jednotlivé prvky SMBOZP dle ČSN OHSAS 18001:2008

1.11.2011, , Zdroj: Verlag Dashöfer

18.2.3.2
Jednotlivé prvky SMBOZP dle ČSN OHSAS 18001:2008

Ing. Monika Becková

Úvod

V předchozí části jsme porovnali souhrnným a přehledným způsobem změny v oblasti systému managementu BOZP tak, jak je přinesla revize specifikace OHSAS 18001:1999, respektive vydání normy ČSN OHSAS 18001:2008 . Nyní postupně uvedeme s podrobnějším průvodním textem jednotlivé požadavky normy a na příkladech si současně ukážeme způsoby implementace těchto požadavků. Také doplníme komentář o některé zásadní aktuálně platné právní předpisy z této oblasti. Věnovat se budeme postupně požadavkům normy tak, jak jsou za sebou uspořádány, počínaje kapitolou 4 (předchozí části, tj. předmět normy a zejména přehled termínů a definic byl již okomentován v předchozí kapitole Nové požadavky na SMBOZP této příručky), ačkoli ve výsledku je samozřejmě musíme chápat jako provázaný celek, kde "všechno souvisí se vším“.

Odpovědnosti, povinnosti a cíle BOZP

Připomeňme si na začátku, že odpovědnost za BOZP je uložena jednoznačně zaměstnavateli a že i v této oblasti platí všeobecně známá zásada, a sice že za omezení rizika na přijatelnou míru odpovídá ten, kdo riziko přináší. Na druhou stranu musí být zajištěna a předpokládá se účast zaměstnanců na řízení BOZP na pracovišti. Předpokladem k vytvoření bezpečného pracovního prostředí je samozřejmě stanovení povinností rovněž zaměstnancům a nezbytné je jejich dodržování a spolupráce se zaměstnavatelem. Do tohoto vztahu zaměstnavatel - zaměstnanec vstupuje ještě třetí "zainteresovaná strana“ - stát.

Subjekty

Chceme-li se na problematiku BOZP podívat ještě ze širších souvislostí, do celého pracovního systému jsou zahrnuty tyto subjekty nebo oblasti:

  • stát,

  • zaměstnavatel,

  • zaměstnanci,

  • další zainteresované strany (sousedé - obyvatelé okolních domů, sousední firmy, obec...),

  • životní prostředí,

  • majetek zaměstnavatele (infrastruktura, technologie, know-how...),

  • produkt (výrobek nebo služba), tzn. především bezpečnost výrobku.

Stát - zaměstnavatel - zaměstnanec

Přímý vliv z pohledu řízení rizik, předně jejich minimalizace, mají přitom zejména první tři subjekty (stát - zaměstnavatel - zaměstnanec). Úlohy, resp. odpovědnosti, těchto tří stran lze rámcově rozdělit následujícím způsobem:

Úkol státu

A. Úkolem státu v oblasti BOZP je z hlediska praxe zejména:

  • Stanovit rámcové cíle bezpečnosti práce a určit priority (oblast analýzy současného stavu a potřeb, Ústava ČR, Listina základních práv a svobod, Úmluvy Mezinárodní organizace práce...).

  • Vytvářet komplexním způsobem (v návaznosti na právo EU) právní zabezpečení BOZP ve smyslu tvorby (a aktualizace) transparentních a účelných předpisů pro tuto oblast včetně dostatečných (a pokud možno vzájemně si neodporujících) právních norem navazujících na další dotčené oblasti, jako je lékařská (zejména preventivní) péče, ochrana životního prostředí, požární ochrana a další. Stanovit těmito předpisy jednoznačné kompetence, práva a povinnosti jednotlivých dotčených stran a jejich vzájemné vazby (směrnice EU v oblasti BOZP, Národní politika BOZP, zákony, nařízení vlády a vyhlášky ČR...).

  • Vytvářet a uplatňovat kontrolní mechanismy, které dostatečně účinně zajistí kontrolu naplňování platných právních požadavků, zabezpečí fungující zpětnou vazbu z praxe a sledování funkčnosti systému řízení BOZP (systém kontrolních orgánů - ČÚBP, orgány ochrany veřejného zdraví, ČBÚ, SÚJB, Inspekce práce, ČIŽP...).

  • Vytvářet a uplatňovat systém postihů a sankcí přiměřený nedostatečnému plnění stanovených bezpečnostních požadavků, vytvářet a uplatňovat systém motivace (a to jak pozitivní, tak negativní).

  • Vytvářet podmínky pro činnost organizací v oblasti služeb týkajících se BOZP (podpora pro odborné firmy poskytující vzdělávání, poradenství, kontroly).

Úkol zaměstnavatelů

B. Úkolem zaměstnavatelů v oblasti BOZP je zejména:

  • Přijímat opatření v prevenci rizik.

  • Vyhledávat rizika.

  • Zjišťovat příčiny a zdroje rizik a přijímat opatření k jejich odstranění.

  • Pravidelně kontrolovat úroveň BOZP, zejména:

    • stav technické prevence,

    • úroveň rizikových faktorů pracovních podmínek,

    • dodržet metody a způsob zjišťování a hodnocení rizikových faktorů podle zvláštních právních předpisů,

  • Nelze-li rizika odstranit, vyhodnotit je a přijmout opatření k omezení jejich působení tak, aby ohrožení bezpečnosti a zdraví zaměstnanců bylo minimalizováno.

  • Přijímat opatření pro případ zdolávání mimořádných událostí.

  • Přizpůsobovat přijatá opatření měnícím se skutečnostem, kontrolovat jejich účinnost a dodržování a dbát o zlepšování pracovních podmínek.

  • Provádět úkoly v prevenci rizik.

Podobnost čistě náhodná? Pokud čtenáři tento text něco připomíná, je to dobře. Úkoly zaměstnavatele jsou totiž v tomto smyslu popsány zák. č. 262/06 Sb., zákoník práce, v pl. zn.

Úkol zaměstnanců

C. Úkolem zaměstnanců v oblasti BOZP je zejména:

  • Podílet se na vytváření bezpečného a zdraví neohrožujícího pracovního prostředí (mj. zejména uplatňováním stanovených a zaměstnavatelem přijatých opatření a účastí na řešení otázek BOZP).

  • Dbát podle svých možností o svou vlastní bezpečnost, o své zdraví i o bezpečnost a zdraví dalších osob, kterých se bezprostředně dotýká jeho jednání.

  • Účastnit se školení zajišťovaných zaměstnavatelem zaměřených na BOZP (včetně ověřování znalostí).

  • Podrobit se lékařským preventivním prohlídkám, vyšetřením nebo očkováním stanoveným zvláštními právními předpisy (v tomto smyslu je LPP vyloučena ze svobodné volby lékaře).

  • Dodržovat právní a ostatní předpisy a pokyny zaměstnavatele k zajištění BOZP podniku (s nimiž byl dostatečně seznámen).

  • Řídit se zásadami bezpečného chování na pracovišti a informacemi a pokyny zaměstnavatele.

  • Dodržovat při práci stanovené pracovní postupy, používat stanovené pracovní prostředky, dopravní prostředky, osobní ochranné pracovní prostředky a ochranná zařízení a svévolně je neměnit a nevyřazovat z provozu.

  • Nepožívat alkoholické nápoje a nezneužívat jiné návykové látky na pracovištích zaměstnavatele a v pracovní době i mimo tato pracoviště.

  • Nevstupovat pod vlivem výše uvedených látek na pracoviště zaměstnavatele a nekouřit na pracovištích a v jiných prostorách, kde jsou účinkům kouření vystaveni také nekuřáci.

  • Oznamovat svému nadřízenému nedostatky a závady na pracovišti, které ohrožují nebo by bezprostředně a závažným způsobem mohly ohrozit BOZP, zejména hrozící vznik mimořádné události (incidentu).

  • Oznamovat svému nadřízenému nedostatky organizačních opatření, závady nebo poruchy technických zařízení a ochranných systémů.

  • Podílet se na odstraňování nedostatků zjištěných při kontrolách orgánů, kterým přísluší výkon kontroly podle zvláštních právních předpisů (např. inspekce práce; podílet se musí zaměstnanec samozřejmě s ohledem na druh jím vykonávané práce a podle svých možností).

  • Bezodkladně oznamovat svému nadřízenému svůj pracovní úraz, pokud mu to jeho zdravotní stav dovolí, a pracovní úraz jiného zaměstnance, popřípadě úraz jiné fyzické osoby, jehož byl svědkem, a spolupracovat při objasňování jeho příčin.

  • Podrobit se na pokyn oprávněného vedoucího zaměstnance zjištění, zda není pod vlivem alkoholu nebo jiných návykových látek (tento vedoucí zaměstnanec musí být písemně určen zaměstnavatelem).

Opět jde o ustanovení zákoníku práce, konkrétně § 6.

Cíle BOZP

Cílem bezpečnosti práce je odstranit nebo omezit na přijatelnou míru rizika ohrožení zdraví a životů lidí vyplývající z pracovních činností. Současně s tím souvisí i problematika ochrany životního prostředí a majetku. Zdrojem nebezpečí poškození zdraví a/nebo životů je pracovní systém neboli ucelený komplex zahrnující oblast lidského činitele, zařízení (technické zařízení, technologie) a pracovního prostředí. Jak tohoto cíle dosáhnout, a to ještě pokud možno s vysokou účinností, tj. s výhodným poměrem mezi dosaženým výsledkem a použitými zdroji? Odpovědí může být použití systémového přístupu k řízení BOZP s využitím normy OHSAS.

Požadavky normy

Vlastní požadavky na systém managementu BOZP (SMBOZP) jsou obsahem kapitoly 4 normy ČSN OHSAS 18001:2008 (dále v textu též pouze "norma“). Zopakujme si jejich pořadí:

  • 4.1 Všeobecné požadavky

  • 4.2 Politika BOZP

  • 4.3 Plánování

  • 4.4 Implementace a provoz

  • 4.5 Kontrola

  • 4.6 Přezkoumání systému managementu

Stejně jako v případech dalších norem pro systémy managementu i tato norma říká, co má (musí) organizace splňovat, je-li jejím cílem shoda s těmito požadavky, ale neobsahuje návod, jak splnění jednotlivých požadavků dosáhnout. Takový návod je částečně obsahem doplňujícího dokumentu OHSAS 18002:2000: "SMBOZP - směrnice pro zavádění“, která ale poskytuje návod pro zavádění specifikace OHSAS 18001 z roku 1999, nikoli nové normy, a v tuto chvíli teprve prochází revizí. V následujících odstavcích se pokusíme takový návod (byť ve zjednodušené podobě) poskytnout. Zároveň - abychom si upřesnili povahu změn konkrétních požadavků nové normy, porovnáme vždy znění specifikace OHSAS 18001:1999 s textem normy.

Jaké požadavky jsou tedy v souvislosti s implementací normy CSN OHSAS 18001:2008 relevantní?

Všeobecné požadavky

I. Všeobecné požadavky

Tato část je nejkratší kapitolou celé normy a je (alespoň zdánlivě) zcela jednoduchá. Obsahuje 2 rámcové požadavky:

  • Organizace musí "vytvořit, dokumentovat, implementovat, udržovat a neustále zlepšovat SMBOZP“ a "stanovit, jak bude tyto požadavky plnit“.

  • Organizace musí "stanovit a dokumentovat rozsah“ SMBOZP.

Porovnání znění předchozí verze (specifikace OHSAS) s normou

OHSAS 18001:1999 ČSN OHSAS 18001:2008
4.1. Všeobecné požadavky 4.1 Všeobecné požadavky
Organizace musí vytvořit
a udržovat systém managementu
BOZP podle požadavků směrnice.
Organizace musí vytvořit, dokumentovat,
implementovat, udržovat a neustále
zlepšovat systém managementu BOZP
v souladu s požadavky této normy OHSAS
a stanovit, jak bude plnit tyto požadavky.
Organizace musí stanovit
a dokumentovat rozsah svého
systému managementu BOZP.

"PDCA“

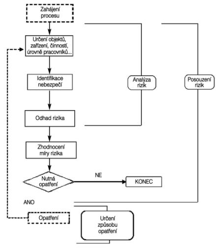
Je zřejmé, že se všeobecné požadavky rozšířily a přesněji definují rozsah. I tak jde zdánlivě o text jednoduchý a transparentní. Ve skutečnosti však tato část shrnuje podstatu celé problematiky. Vytvořit SMBOZP zahrnuje totiž řadu jednotlivých úkonů od počáteční analýzy přes plánování, zavedení opatření do provozu, jejich kontrolu a korekci (opatření) na základě výsledků kontroly, a to v rámci nikdy nekončícího cyklu "PDCA“ (viz předchozí text). Použijeme-li jako inspiraci schéma cyklu PDCA původně vytvořeného pro cyklus zlepšování ochrany životního prostředí a budeme-li ho modifikovat pro naši problematiku, je zřejmé, že princip (resp. forma) je tentýž, pouze obsah jednotlivých částí se liší, jak je vidět z následujícího obrázku.

Omezení SMBOZP dle požadavků na část organizace

Pokud se týká stanovení rozsahu SMBOZP, teoreticky můžeme omezit SMBOZP dle požadavků této normy na část organizace (podniku), jejíž rozsah (hranice) jsou nějakým vhodným způsobem (např. organizačním schématem) přesně vymezeny. Organizace si totiž může sama stanovit, zda bude systém managementu BOZP zavádět s ohledem na celou organizaci, nebo v rámci jednotlivých výrobních jednotek, popř. činností organizace.

Smysl omezení rozsahu SMBOZP

Jaký má případné omezení rozsahu SMBOZP smysl?

  • -> V případě, že si chce vedení "vyzkoušet“ principy SMBOZP dle normy OHSAS napřed na určitém (reprezentativním) vzorku "nanečisto“.
  • -> V případě, že svou úlohu při implementaci hraje poradenská organizace, přičemž náklady na takovou spolupráci jsou někdy nemalé.
  • -> V případě, že formálním potvrzením shody z požadavky normy má být certifikát, přičemž náklady na takovou certifikaci jsou někdy rovněž nemalé.
  • -> V případě, že certifikaci požaduje zákazník (odběratel), mateřská organizace, partnerská organizace a čas na přípravu je omezený.

Možná čtenáře napadnou další důvody. V každém případě je nutné si ale uvědomit, že pokud systém řízení BOZP dle normy omezíme na nějakou vymezenou část podniku, nezbavuje nás toto rozhodnutí nutnosti plnit požadavky vyplývající z právních předpisů v celém podniku . V případě certifikace pak samozřejmě bude na výstupních dokumentech (certifikátu, zprávě z auditu) uvedeno, že se týkají právě a pouze té příslušné části naší firmy, a deklarovat shodu s požadavky normy takovým certifikátem lze pouze ve vztahu k oné certifikované firemní části.

Všeobecné požadavky SMBOZP

Vraťme se však k všeobecným požadavkům vytvořit, dokumentovat, implementovat, udržovat a neustále zlepšovat SMBOZP...

Znamená to vytvořit takový SMBOZP, který:

  • je ve shodě s požadavky normy,

  • zajišťuje shodu s příslušnými požadavky právních (a jiných) předpisů,

  • je funkční (reaguje pružně na změny požadavků právních předpisů, bezpečnostních požadavků, na změny uvnitř podniku, např. na zavádění nových technologií, organizační změny apod.; umožňuje účinný management změny, umožňuje předvídat, očekávat události, které by mohly mít negativní vliv na činnost firmy, a včas přijímat potřebná preventivní opatření),

  • je transparentní (jeho součástí je efektivní informační systém poskytující osobám řízeným organizací průběžné informace o existujících rizicích, přijatých bezpečnostních opatřeních i jejich realizaci a účinnosti),

  • je efektivní (dosažený výsledek odpovídá vynaloženým nákladům; vede k omezení zbytečných nákladů na neefektivní opatření, předchází pokutám, sankcím, nákladům na odškodnění či likvidaci škod; umožní řídit plánování zdrojů optimálním způsobem),

  • je komplexní (zahrnuje komplexní řešení bezpečnosti podniku; reaguje na rizika spojená s lidmi, technologiemi, zařízením, materiály, informacemi, organizací práce i majetkem podniku, optimalizuje bezpečnostní opatření),

  • je opravdu systémový (je založen na komplexním a systémovém pojetí řízení, kdy je součástí řízení kvality i bezpečnost a ochrana zdraví, životního prostředí a majetku; systémový přístup umožňuje vyloučit nebo snížit zbytečná a nepřijatelná rizika a volit optimální bezpečnostní opatření i pružně reagovat na probíhající změny; SMBOZP nevytváří zvláštní samostatný systém řízení, ale je integrovanou, nedílnou součástí celkového řízení firmy); tento systémový přístup zjednodušeně zahrnuje následující obrázek.

V předchozí kapitole jsme hovořili o tom, v jakých krocích lze zavádět požadavky normy a co by měla organizace, která potřebuje implementovat SMBOZP, případně získat certifikát dle nové normy, postupně udělat. Na počátku zavádění požadavků je samozřejmě nutnost znát výchozí stav.

Aby bylo možno dle našeho obrázku "PDCA“ stanovit cíle a priority, musíme vědět, jaká je výchozí pozice, abychom mohli naplánovat další úkoly. Tuto fázi můžeme nazvat úvodní analýza, úvodní přezkoumání nebo vstupní analýza. Jejím smyslem je zmapování stávající úrovně řízení, stávající stav BOZP v podniku, porovnání rozdílů mezi naším cílem a okamžitou skutečností. K tomu může sloužit řada nástrojů, jak si nastíníme dále.

Úvodní přezkoumání

Podmínky úspěšného přezkoumání:

  • Vize a přesvědčení managementu.

  • Dostatečné zdroje.

    • Pracovník(ci) odborně způsobilí, kteří mají dostatek zkušeností a současně také pravomocí takové přezkoumání udělat. Je nutností si uvědomit, že znalost právních předpisů je podmínkou nutnou, nikoli postačující. Smyslem této fáze není totiž hledání "závad“, jak to mají ve zvyku osoby způsobilé v prevenci rizik dle zákona (neboli bezpečnostní technici), ale nalezení slabých míst celého systému řízení. Systémový pohled na BOZP z hlediska celé firmy je bohužel často právě úhel pohledu, který těmto pracovníkům chybí.

    • Dostatek času a prostoru provádět přezkoumání bez ohledu na jinou práci.

  • Vhodný metodický postup přezkoumání.

Přitom předpokládejme, že:

  • -> pokud se týká vize a přesvědčení managementu, odpovídá minimálně požadavkům uvedeným v úvodu této kapitoly pod písmenem B;
  • -> pokud jde o dostatečné zdroje z hlediska pracovníků a jejich způsobilosti, je dostatečná (této části bude později věnována celá kapitola týkající se čl. 4.4.2 normy - odborná způsobilost);
  • -> dostatek času na přezkoumání fakticky buď je, nebo není (když pomineme, že některým pracovníkům trvá zadaný úkol přesně tak dlouho, kolik času právě mají k dispozici).

Vhodná metodika

Vhodná metodika může mít různou podobu včetně:

  • analýzy dokumentace a záznamů a porovnání s požadavky případně se stavem u jiné obdobné organizace,

  • systematické kontroly na pracovištích prostřednictvím jednotlivce,

  • systematické kontroly na pracovištích prostřednictvím jednotlivce nebo týmu pracovníků s využitím checklistů,

  • interního auditu s využitím vlastních nebo externích auditorů,

  • analýzy prostřednictvím odborného konzultanta, případně odborné firmy,

  • hodnocení souladu s příslušnými požadavky.

Pro všechny způsoby je výhodné použít jako vodítko dotazníky - checklisty. Jsou-li dobře zpracované, pomůžou držet se určité linie a zároveň nezapomenout na cokoli důležitého. Jako příklad podoby takových checklistů v oblasti BOZP můžou posloužit následující varianty (jde vždy o ilustrativní vzorek, k otisknutí kompletní podoby bychom zaplnili celou část této příručky).

Následující druhý příklad checklistu pro vstupní analýzu obsahuje i část vyplněného komentáře ke zjištěním z analýzy (auditu).

Třetí příklad je zároveň i možným nástrojem hodnocení souladu s požadavky právních předpisů, ke kterým se ještě dostaneme v další kapitole (pož. čl. 4.5.2 normy). Jelikož součástí úvodního přezkoumání by měla být i analýza aktuální úrovně plnění relevantních požadavků právních (a jiných) předpisů, lze jako součást úvodního přezkoumání použít i toto hledisko. Protože zde hovoříme o integraci SMBOZP do stávajícího způsobu řízení podniku a požadavky právních předpisů v oblasti BOZP se v některých oblastech překrývají (nebo jsou tytéž) s požadavky předpisů v oblasti životního prostředí, nehledě na stejný požadavek hodnocení souladu v normě ISO 14001, je tabulka hodnocení souladu integrovaná pro oblast SMBOZP a OŽP.

                                                         
Položka Požadavek Základní právní předpis 1 Hodnocení souladu Poznámka/ opatření
ODPADY Zařazení odpadů Z. 185/2001 Sb.
Vyhl. 381/2001 Sb.
Zajištění nádob
a dodržování
třídění
Z. 185/2001 Sb.
Označení nádob
štítky
Z. 185/2001 Sb.
Zpracování
a aktualizace
ILNO
Z. 185/2001 Sb. Zatím nejsou
evidovány
Vybavení míst
nakládání
s nebezpečným
odpadem tímto
ILNO
Z. 185/2001 Sb. Zatím nejsou
evidovány
Podklady pro
průběžnou
evidenci
Z. 185/2001 Sb.
Vedení průběžné
evidence
Z. 185/2001 Sb.
Roční hlášení za
uplynulý kalen-
dářní rok
Z. 185/2001 Sb. Zatím
nepoužito
(nebyl
překročen
limit, resp.
evidence
neproběhla
za celý rok)
(Při překročení
50 kg NO za rok
nebo 50 tun ostat-
ních odpadů za
rok povinnost
zasílat každoročně
do 15. února
následujícího roku
hlášení o druzích,
množství odpadů
a způsobech na-
kládání s nimi
a o původcích
odpadů obecnímu
úřadu podle místa
provozovny.)
Doklady o způso-
bilosti oprávněné
přebírající osoby
Z. 185/2001 Sb.
Smlouva s opráv-
něnou osobou
přebírající
odpady
Z. 185/2001 Sb.Smlouva
ze dne ...
Souhlas k naklá-
dání s NO
Z. 185/2001 Sb. Zatím nebyly
CHEMICKÉ LÁTKY Monitoring
spotřeby CHL
Z. 59/2006 Sb.
Vyhl. 221/2004 Sb.
Zajištění a aktua-
lizace BL
Z. 356/2003 Sb.
Vyhl. 231/2004 Sb.
Kopie BL v místě
používání
Z. 356/2003 Sb.
Vyhl. 231/2004 Sb.
Školení k použí-
vání CHL
Z. 356/2003 Sb.
Z. 262/2006 Sb.
V rámci zákonného
školení BOZP
Písemná pravidla
pro nakládání
s nebezpečnými
CHL schválená
KHS
Z. 258/2000 Sb. Částečně - zpra-
cována, odeslána
ke schválení
Začlenění dle zá-
kona o prevenci
závažných prům.
havárií
Z. 59/2006 Sb. Protokol
o (ne)zařazení
Zajištění havarijní
soupravy
(úkapové vany,
sorbent)
Z. 356/2003 Sb.
Značení obalů
CHL
Z. 356/2003 Sb.
OBALY Vedení průběžné
evidence množ-
ství obalů
a odpadů z nich
Z. 477/2001 Sb.
Smlouva o zajiš-
tění plnění povin-
nosti zpětného
odběru a využití
odpadu z obalů
s autorizovanou
obalovou společ-
ností
Z. 477/2001 Sb. (Při překročení
celkového množ-
ství obalů uvede-
ných na trh nebo
do oběhu 300 kg/
kalendářní rok).
=> Neshoda -
uzavřít smlouvu!
Zápis do Sezna-
mu osob, které
jsou nositeli po-
vinnosti zpětného
odběru
Z. 477/2001 Sb. => Neshoda -
viz výše
Roční hlášení za
uplynulý kalen-
dářní rok nejpoz-
ději do 15. února
následujícího roku
Ministerstvu život-
ního prostředí ČR
Z. 477/2001 Sb. Zatím
nepoužito
(evidence
neproběhla
za celý rok)
(Údaje z evidence
do 15. února
následujícího roku
Ministerstvu život-
ního prostředí ČR.)
VODA Smlouva na
odběr vody
Z. 254/2001 Sb.
Monitoring
spotřeby vody
Z. 254/2001 Sb.
Monitoring spot-
řeby zvlášť ne-
bezpečných látek
Z. 254/2001 Sb. Zatím se
nepoužívají
Oprávnění na vy-
pouštění odpad-
ních vod
Z. 254/2001 Sb. Zatím se
nepoužívají
(K vypouštění
odpadních vod,
u nichž lze mít dů-
vodně za to, že
mohou obsahovat
jednu nebo více
zvlášť nebezpeč-
ných závadných
látek (§ 39 odst. 3),
do kanalizace je
třeba povolení vo-
doprávního úřadu.)
Havarijní plán Z. 254/2001 Sb. Pouze z hlediska
ISO 14001
OVZDUŠÍ Evidence všech
zdrojů znečištění
ovzduší
Z. 86/2002 Sb. Kotel 26 kW
Myčka
Auta
Měření účinnosti
spalinových cest
- plynový kotel
26 Kw
Z. 86/2002 Sb.
Vyhl. 356/2002
Sb.
(Malý zdroj -
jedenkrát za
2 roky.)
Oznámení obec-
nímu úřadu o pro-
vedení povinného
měření a kontrole
a jejich výsledky
do 30 dnů od
data jejich usku-
tečnění
Z. 86/2002 Sb. Odesláno
30. 9. 2008
Revize plynového
kotle 26 kW
Z. 86/2002 Sb.
Revize kouřovodů Z. 86/2002 Sb.
STK, měření emisí
mobilních zdrojů
(auta)
Z. 56/2001 Sb. Dle evidence
služ. Aut
BOZP Vedení evidence
pracovní doby,
práce přesčas,
noční práce
a doby v době
pracovní poho-
tovosti
Z. 262/2006 Sb.
§ 96, odst. 1
Zajištění vyšetření
lékařem před za-
řazením na noční
práce pro za-
městnance pra-
cující v noci, do-
klady o provede-
ném vyšetření
Z. 262/2006 Sb.
§ 94, odst. 2
Zajištění povin-
nosti vzájemné
písemné infor-
mace mezi za-
městnavatelem
a dalšími zam. na
jednom pracovišti
o rizicích a přija-
tých opatřeních
včetně spoluprá-
ce při zajišťování
BOZP
Z. 262/2006 Sb.
§ 101, odst. 3
=> Neshoda -
opatření -
zpracování
dokumentace
(registr rizik,
formulář -
podpisová kniha)
Provádění vyhle-
dávání a vyhod-
nocení rizik a při-
jímání opatření
k jejich odstraňo-
vání a k omezení
jejich působení
na provozovaném
zařízení a při čin-
nosti; dokumen-
tace
Z. 262/2006 Sb.
§ 102, odst. 3,
odst. 4
Informování za-
městnanců o tom,
do jaké kategorie
prací dle zákona
č. 258/2000 Sb.
je jimi vykonávaná
práce zařazena
Z. 262/2006 Sb.
§ 103, odst. 1
písm. b)
Z. 258/2000 Sb.
NV 361/2007 Sb.
Sdělení pro za-
městnance, které
zdravotnické za-
řízení jim posky-
tuje závodní pre-
ventivní péči
Z. 262/2006 Sb.
§ 103, odst. 1
písm. d)
=> Neshoda -
opatření: uzavření
smlouvy s lékařem
na ZPP, zpraco-
vání harmono-
gramu periodic-
kých prohlídek
Vstupní školení
BOZP
Z. 262/2006 Sb.
§ 37, odst. 5
§ 103, odst. 2)
Seznam přidělo-
vání OOPP na
základě vyhod-
nocení rizik pro
používání OOPP
Z. 262/2006 Sb.
§ 104, odst. 5;
NV 495/2001 Sb.,
Příloha č. 1
Prověrky BOZP
na všech praco-
vištích a zaříze-
ních
Z. 262/2006 Sb.
§ 108, odst. 5
Pravidelné kont-
roly úrovně BOZP,
zejména stav
výrobních a pra-
covních prostřed-
ků a vybavení
pracovišť
Z. 262/2006 Sb.
§ 102, odst. 3
NV 378/2001 Sb.
§ 4, odst. 2.

Legenda:
Sloupec hodnocení souladu: ANO ■ NE □
ILNO: identifikační list nebezpečných odpadů,
OOPP: osobní ochranné pracovní pomůcky,
CHL: chemické látky,
KHS: krajská hygienická stanice,
OŽP: ochrana životního prostředí.

Provedeme-li úvodní přezkoumání, výsledkem by mělo být stanovení neshod, priorit, plánu implementace potřebných opatření tak, aby byly splněny všeobecné (ale i další zcela konkrétní) požadavky normy.

II. Politika BOZP

Dalším článkem normy je politika. Stejně jako u kvality nebo OŽP je základním dokumentem tohoto systému politika BOZP schválená vrcholovým vedením, která jasně definuje celkové cíle na úseku BOZP a představuje závazek vedení zvyšovat úroveň zabezpečení BOZP v organizaci.

Porovnejme opět text normy s předchozí verzí:

OHSAS 18001:1999 ČSN OHSAS 18001:2008
4.2 Politika BOZP 4.2 Politika BOZP
Organizace musí mít politiku BOZP schválenou jejím vrcholovým vedením, která jasně uvádí celkové cíle na úseku bezpečnosti a ochrany zdraví a závazek ke zvyšování výkonnosti systému ochrany zdraví a bezpečnosti. Vrcholové vedení musí stanovit a schválit politiku BOZP organizace a zajistit, aby v rámci stanoveného rozsahu svého systému managementu BOZP:
Politika musí: a) odpovídala povaze a rozsahu rizik organizace v oblasti BOZP,
a. odpovídat povaze a rozsahu rizik BOZP; b) obsahovala závazek k prevenci vzniku úrazů a poškození zdraví a k neustálému zlepšování řízení a výkonnosti organizace v oblasti BOZP,
b. obsahovat závazek k neustálému zlepšování; c) obsahovala závazek alespoň k plnění aplikovatelných požadavků právních předpisů a dalších požadavků, k nimž se organizace zavázala a které se vztahují k nebezpečím v oblasti BOZP,
c. obsahovat závazek přinejmenším plnit požadavky příslušné platné legislativy BOZP a jiné požadavky, ke kterým se organizace přihlásila; d) poskytovala rámec pro stanovování a přezkoumávání cílů BOZP,
d. být dokumentována, uplatňována a udržována; e) byla dokumentována, implementována a udržována,
e. být sdělována všem zaměstnancům se záměrem, vytvořit povědomí jednotlivých zaměstnanců o jejich povinnostech v oblasti BOZP; f) bylo o ní komunikováno se všemi osobami řízenými organizací se záměrem vytvořit povědomí o jejich individuálních povinnostech v oblasti BOZP,
f. být dostupná zainteresovaným stranám; g) byla dostupná zainteresovaným stranám,
g. být přezkoumávána k zajištění neustálé vhodnosti a přiměřenosti ve vztahu k organizaci. h) byla pravidelně přezkoumávána k zajištění neustálé vhodnosti a přiměřenosti ve vztahu k organizaci.

Politika SMBOZP musí mimo jiné obsahovat nově závazek k prevenci úrazů (už zde se projevuje požadovaný proaktivní přístup) a zdůrazněme požadavek, který se ostatně bude týkat i dalších částí systému, a tím je komunikace o politice BOZP se všemi osobami řízenými organizací. Na rozdíl od dřívějšího termínu "zaměstnanci“ se posouvá řada povinností i směrem k dalším skupinám osob, které (analogicky s EMS) pracují "ve prospěch organizace“ nebo jsou nějakým způsobem organizací řízeny (např. externí osoby mimo zaměstnance na hlavní pracovní poměr, jako je třeba celá řada pracovníků počínaje externím bezpečnostním technikem, revizním technikem přes externí účetní, interního auditora, studenty na brigádě či praxi). Jakmile jsem v roli "osoby, kterou organizace řídí“, ať jako zaměstnanec, nebo jako "externista“, má se mnou organizace prostřednictvím pověřené osoby komunikovat a sdělovat mi řadu informací a pokynů počínaje politikou BOZP. Nezapomeňme, že o proběhnuvší komunikaci musí existovat pro případ kontroly (auditu) věrohodný důkaz (např. v podobě podepsaného zaškolení).

Jako příklad integrované politiky si uveďme následující výtah z tohoto dokumentu:

Plánování

III. Plánování

Porovnejme opět text normy s předchozí verzí (protože tato část systému managementu BOZP je značně obsáhlá a velmi důležitá, rozdělíme požadavky čl. 4.3.1 normy ČSN OHSAS na tři části. Nejprve se budeme věnovat identifikaci nebezpečí, dále metodice a vlastnímu posuzování rizika a konečně určování způsobu řízení. Hned na úvod této části ale připomeňme, že hodnocením rizika obecně se zabývají celé teorie a z této oblasti se stal v podstatě již samostatný vědní obor.

Následující odstavce nemají v žádném případě v úmyslu podat vyčerpávající popis přístupů, metod a postupů v oblasti identifikace a posuzování rizik. Chceme se zaměřit spíše na prakticky využitelné nástroje pro malou a střední organizaci v podmínkách provozování svých činností v ČR. Na organizaci, ve které je jedním z cílů vedení vytvořit takový systém řízení BOZP, který umožní být v souladu s požadavky předpisů a využitím systémových nástrojů, jako je třeba implementace normy OHSAS, zajistit prevenci incidentů a případných poškození zdraví člověka. Každý krok plánování pak doprovodíme jednoduchým ilustrativním příkladem z praxe malé výrobní firmy.

Co je tedy požadavkem dalšího článku normy?

OHSAS 18001:1999 ČSN OHSAS 18001:2008
4.3 Plánování 4.3 Plánování
4.3.1 Plánování pro identifikaci nebezpečí, hodnocení rizik a řízení rizik 4.3.1 Identifikace nebezpečí, posuzování
a) identifikace nebezpečí
Organizace musí vytvořit a udržovat postupy pro průběžnou identifikaci nebezpečí, hodnocení rizik a uplatňování nezbytných opatření k řízení. Tato identifikace musí zahrnovat:

• běžné a mimořádné činnosti;
• činnosti všech osob, které mají přístup na pracoviště (včetně subdodavatelů a návštěvníků);
• zařízení na pracovišti, provozované organizací nebo jinými subjekty.

Při stanovování cílů BOZP musí organizace zajistit, aby byly zvažovány výsledky těchto hodnocení a vliv těchto opatření. Organizace musí tyto informace dokumentovat a průběžně aktualizovat.
Organizace musí vytvořit, implementovat a udržovat postupy pro průběžnou identifikaci nebezpečí, posuzování rizika a určení způsobu nezbytného řízení. Postupy pro identifikaci nebezpečí a posuzování rizika musí brát v úvahu:

• běžné a mimořádné činnosti, • činnosti všech osob, majících přístup na pracoviště,
lidské chování, způsobilosti a další lidské faktory,
identifikovaná nebezpečí vznikající mimo pracoviště, která mohou nepříznivě ovlivnit BOZP osob organizace na daném pracovišti,
nebezpečí v okolí pracoviště způsobená činnostmi spojenými s vlastními (pracovními) aktivitami organizace,
• infrastrukturu, vybavení a materiály na pracovišti,
změny nebo navrhované změny v organizaci, jejích aktivitách nebo materiálech,
úpravy systému managementu BOZP, včetně dočasných změn,
jakékoliv požadavky právních předpisů související s posuzováním rizika a implementací nezbytného řízení,
návrh pracovišť, procesů, zařízení, strojů/vybavení, provozních postupů a organizace práce, včetně jejich přizpůsobení lidským schopnostem.

Tato část normy se zaobírá tedy tím, čím souhrnně (a ne zcela přesně) bývá označována "analýza rizik“. Cílem je získat informace o povaze a rozsahu možných rizik tak, aby bylo možné určit opatření pro jejich řízení.

Nejprve si připomeňme definici rizika podle nové normy:

Definice rizika

Riziko = kombinace pravděpodobnosti výskytu nějakého nebezpečí (nebezpečné události) nebo doby expozice a závažnosti následků. Jinými slovy, chceme (resp. potřebujeme) se dozvědět, s jakou pravděpodobností určitá událost nastane, případně jak dlouho může působit a jaké tato událost nebo doba tohoto působení bude míst následky z hlediska možného poškození zdraví.

Míra rizika

Je jasné, že abychom mohli podle námi zvolené metodiky ohodnotit míru rizika (viz dále), musíme získat přehled o tom, jaká nebezpečí reálně existují na pracovištích, při pracovních činnostech v organizaci a jejím okolí.

Idetifikace nebezpečí

Identifikace nebezpečí je tedy první krok procesu plánování. Vlastní plánování pro identifikaci nebezpečí znamená, že určíme metodu (postup), kterou budeme používat pro identifikaci takových nebezpečí, a to jednak na počátku budování systému managementu BOZP, ale opakovaně i nadále v průběhu uplatňování a zlepšování systému (minimálně v případě změn, a to i plánovaných, a v rámci přezkoumávání systému managementu vedením).

3 základní části

Souhrnně řečeno, požadavek normy se týká vytvoření, implementace a udržování postupu, tj. v podobě směrnice (metodiky, metodického postupu), který bude zahrnovat 3 základní části:

  • postup průběžné identifikace nebezpečí,

  • postup (metodiku) vlastního hodnocení rizik,

  • metodiku přijímání potřebných opatření k řízení rizik.

Jednotlivé kroky tohoto procesu znázorňuje upravený obrázek z ČSN EN 1050:2001 (Bezpečnost strojních zařízení - Zásady pro posouzení rizika):

Co rozumíme pojmem nebezpečí?

Nebezpečí

Vycházejme opět z definic naší normy, nebezpečí = zdroj nebo situace (činnost), které by mohly způsobit vznik poranění člověka (poškození zdraví). Nyní je tedy naším cílem za použití vhodné metodiky identifikovat všechna možná nebezpečí, která v případě naší firmy můžou způsobit výše uvedené následky. Připomeňme si, že v souladu s požadavky normy OHSAS námi zvolená metodika musí přiměřeně umožnit identifikování nebezpečí se zohledněním všech aspektů uvedených v odst. 4.3.1 (viz tabulka výše).

Metodika pro identifikaci nebezpečí

Metodika pro identifikaci nebezpečí

Je jasné, že i malé výrobní pracoviště představuje řadu různých faktorů a hledisek, které je třeba vzít v úvahu. Abychom na žádné důležité hledisko nezapomněli, je třeba postupovat systematicky a rozdělit si naše pracoviště (a postupně celou organizaci) do částí a těm se pak jednotlivě při identifikaci možných nebezpečí věnovat. Pro vlastní identifikaci (a poté hodnocení míry rizik) existují různé metody počínaje jednoduchou poradou odborníků sestavených z řad pracovníků firmy do řešitelského týmu přes sofistikované metody za pomoci využití různých SW aplikací. Dnes jsou k dispozici programy, které nabízejí knihovny možných nebezpečí, knihovny rizik, kritéria hodnocení a metodiku posouzení rizik. Výhodou takového produktu je i propojení s požadavky právních předpisů v oblasti BOZP a PO, takže za pomoci tohoto produktu a přiměřené znalosti odborné problematiky lze celkem snadno analýzu rizik provést. Výstupem je pak vlastní registr, který splňuje zároveň požadavky zákona č. 262/1906 Sb., v pl. zn., zákoníku práce, na dokumentaci, kterou má zaměstnavatel v tomto smyslu uchovávat.

Kdo má ve firmě takovouto činnost provádět?

Odpovědnost

Za hodnocení rizik odpovídá zaměstnavatel, včetně toho, že osoba provádějící hodnocení rizik má potřebné znalosti. K požadavku na posuzování rizik se váže požadavek zákona č. 262/1906 Sb., v pl. zn., zákoník práce, § 102 odst. 3), který říká, že "zaměstnavatel je povinen soustavně vyhledávat nebezpečné činitele a procesy pracovního prostředí a pracovních podmínek, zjišťovat jejich příčiny a zdroje. Na základě tohoto zjištění vyhledávat a hodnotit rizika a přijímat opatření k jejich odstranění“: ... Pověřen může být jeden pracovník - osoba odborně způsobilá, ale ve složitějších případech i skupina (tým) pracovníků, kde má každý člen znalosti specifické oblasti (např. elektrikář, strojař, plynař a další).

Plán hodnocení rizik

Dále je třeba stanovit plán hodnocení rizik, který bude:

  • pokrývat všechny příslušné prostory firmy,

  • pokrývat všechny pracovní činnosti ať v běžném provozu, tak i mimořádné,

  • přihlížet k zaměstnancům a jejich způsobilosti a zvláštním rizikům.

Postup

Vlastní postup pak může být založen např. na:

  • jednotlivých procesech (např. činnosti tak, jak na sebe navazují na výrobní lince),

  • jednotlivých pracovních místech,

  • jednotlivých odděleních (útvarech),

  • jednotlivých typech nebezpečí (mechanická, elektrická ...).

Provedeme tedy postupně následující kroky, které si popíšeme jednoduchým způsobem v jednotlivých odstavcích dále:

A) Výběr posuzovaných objektů

Výběr posuzovaných objektů

Organizaci rozebereme na jednotlivé systémy a jejich části (subsystémy), kterým se postupně budeme věnovat. Jedná se o vymezení rámce spolu s vymezením oblastí rizik, která mají být řízena (před hodnocením je vždy nutno určit tu část celku, která bude podrobena posuzování). Vymezení části může být provedeno např. podle následujících hledisek:

  • podle polohy,

  • podle technologického postupu ("workflow“),

  • podle funkce jednotlivých pracovišť,

  • podle činnosti.

Jako jednoduchý příklad použijeme kombinaci porady řešitelského týmu a nákresu části firmy (předpokladem je odborná znalost problematiky BOZP a daného pracoviště včetně poměrů v předmětné organizaci jednotlivých členů týmu). Vymezení jsme provedli podle organizační struktury a dále pak podle polohy funkce jednotlivých pracovišť.

Systém: firma ABC (předmět činnosti: výroba a montáž kovových dílů)

Subsystém: dílna 1

Výběr je dále možno provést soupisem (jak je vidět z našeho příkladu, je to vlastně obdoba inventury):

  • Provozních prostor

  • Strojů a zařízení

  • Pracovních činností

  • Materiálů

Legenda

Legenda:

1 - bruska na závity,

2, 3 - hrotový soustruh,

4, 5, 6 -frézka,

7 - hrotová bruska,

8 - hrotový soustruh,

9 - kotoučová bruska,

10, 11 - frézka s magnetickým upínáním,

12 - stojanová vrtačka,

13, 14 - obrážečka,

15 - hrotový soustruh,

16 - lis,

17 - stojanová vrtačka,

- el. rozváděč,

- sběrné místo pro uložení odpadu (směsný a nebezpečný - hadry znečištěné ropnými látkami).

Prováděné činnosti na dílně

Prováděné činnosti na dílně:
  • vrtání,

  • broušení,

  • dělení materiálu,

  • práce s ručním el. nářadím,

  • práce s ručním nářadím,

  • další práce na obráběcích strojích,

  • nakládání s chemickými látkami (technický benzin),

  • manipulace s nebezpečným odpadem.

Je třeba vzít v úvahu všechny možné zdroje rizika (všechna nebezpečí) včetně takových, jako je třeba úklid a čištění, odpadové hospodářství nebo přítomnost pracovníků subdodavatele.

Pro náš jednoduchý příklad můžeme zpracovat k nákresu následující výčet zdrojů, které mohou způsobit poranění (škodu):

  • vrtačky,

  • brusky,

  • soustruhy,

  • frézky,

  • další obráběcí stroje,

  • el. nářadí,

  • ruční nářadí,

  • nebezpečné chemické látky a odpady.

Pro takto vybrané a vymezené subsystémy pak provedeme v dalším kroku:

B) Identifikaci nebezpečí

Identifikace nebezpečí

Jedná se o identifikování toho, co, proč a jak může nastat a co tento stav (situaci) může způsobit.

Identifikovat nebezpečí pro jednotlivé subsystémy znamená zvážit:

  • jednotlivá pracoviště - zahrnuje podle potřeby:

    • objektivní měření rizikových faktorů, jako je hluk, vlhkost, prach, teplota, osvětlení včetně účasti, resp. realizace tohoto měření autorizovanou osobou,

Osoby

  • osoby:

    • sledování zaměstnanců při práci; identifikace má zahrnovat činnosti všech osob, majících přístup na pracoviště, které mohou být vystaveny nebezpečí (jsou to např. pracovníci ve výrobě, v obslužných, pomocných a servisních činnostech, techničtí pracovníci a management, pracovníci cizích firem, osoby samostatně výdělečně činné pohybující se na pracovišti, studenti, učni, brigádníci, pracovníci v zácviku, návštěvy...),

    • lidské chování, způsobilosti a další lidské faktory (např. zvláštní vnímavost některých skupin vůči nebezpečí, jako jsou pracovníci se sníženou pracovní schopností, mladiství, těhotné ženy a kojící matky, pracovníci užívající např. léky snižující pozornost, pracující důchodci...),

    • pohovory se zaměstnanci,

    • možnosti selhání lidského faktoru a jejich důsledky,

Zařízení

  • zařízení:

    • rozbory bezpečnosti zařízení dle norem,

    • zhodnocení infrastruktury, vybavení a materiálů na pracovišti,

    • možnosti existence technických chyb,

    • zdroje informací představují např. průvodní technická dokumentace zařízení, technologický postup, výrobní program, manuály, bezpečnostní listy chemických látek a přípravků, identifikační listy nebezpečných odpadů, již výše zmiňované knihovny (databáze) nebezpečí a rizik, odborná literatura, analýza pracovních úrazů a jakýchkoli jiných incidentů z předchozího období, ať už z vlastní firmy nebo publikované z jiných zdrojů,

Logistika, ergonomie, technologie

  • logistika, ergonomie, technologie:

    • návrh pracovišť, procesů, zařízení, strojů/vybavení, provozních postupů,

    • organizace práce, včetně jejich přizpůsobení lidským schopnostem,

    • možnosti organizačních chyb a selhání a jejich následků,

    • tok materiálu, výrobků,

    • pohyb pracovníků,

    • návrh a řešení komunikací.

Vlivy okolí

  • vlivy okolí:

    • identifikovaná nebezpečí vznikající mimo pracoviště, která mohou nepříznivě ovlivnit BOZP osob organizace na daném pracovišti (okolní vlivy - např. další firmy v jednom společném areálu),

    • nebezpečí v okolí pracoviště způsobená činnostmi spojenými s vlastními (pracovními) aktivitami organizace (co může způsobit firma ve svém okolí při své činnosti - typickým příkladem je stavební činnost v zastavěné oblasti).

Management změn

  • management změn:

    • změny nebo navrhované změny v organizaci, jejích aktivitách nebo materiálech,

    • úpravy systému managementu BOZP, včetně dočasných změn,

    • jakékoliv požadavky právních předpisů související s posuzováním rizika a implementací nezbytného řízení, které se stále mění, doplňují, novelizují,

Relevantní požadavky právních předpisů

  • relevantní požadavky právních předpisů:

    • zahrnuje obecně právní a jiné požadavky, ale i jejich aktualizace (viz management změn),

    • zde navazuje požadavek normy OHSAS - hodnocení souladu,

Ostatní vlivy

  • ostatní vlivy, např.:

    • nebezpečné jednání jiných osob,

    • práce se zvířaty,

    • nepříznivé povětrnostní podmínky,

    • střídání pracovišť,

    • práce pod vodou.

Připomeňme si, že požadavek normy zahrnuje identifikaci nebezpečí jak pro běžné, tak i mimořádné činnosti (např. najíždění nových technologií, odstávky technologických celků pro případ údržby, oprav, havarijní cvičení, jako je třeba cvičný požární poplach, havarijní situace...).

Metodiky

V praxi tedy k námi vybraným jednotlivým částem subsystémů v předchozím kroku přiřazujeme příslušná nebezpečí a ohrožení, a to za použití zvolené metodiky, např.:

  • prohlídka výše specifikovaných částí,

  • prohlídka s využitím kontrolního seznamu (jak už bylo zmiňováno, možno využít SW aplikací - knihovny, nebo různých připravených checklistů),

  • použití metody "WHAT IF“ ("Co by se stalo, když...“),

  • další metody analýzy, jako je FMEA, HAZOP.

Identifikace nebezpečí má pokrývat nevyhnutelná nebezpečí a nebezpečí, která lze rozumně předvídat (ne zanedbatelná nebezpečí vyvolaná běžnými činnostmi nebo zcela nemožná/nerelevantní). Pro pracoviště a činnosti s běžnými činnostmi a běžnými riziky, jako je třeba naše dílna z popsaného příkladu, běžně vystačíme s přehledem obecných nebezpečných faktorů a se stanovením odpovědi na otázku, co může způsobit ohrožení zdraví nebo života. V metodikách posuzování rizika se většinou uvažují i škody na majetku, případně poškození životního prostředí, nová norma OHSAS 18001 však s těmito aspekty nepočítá.

K našemu příkladu (viz předchozí plánek):

  1. stroj mimo provoz (např. soustruh) - nepředstavuje nebezpečí,

  2. stroj uvedený do provozu - již představuje zdroj nebo situaci s možností způsobit škodu, tedy v kontextu definice normy OHSAS nebezpečí,

  3. pracovník u stroje uvedeného do provozu je v ohrožení (identifikované nebezpečí bylo aktivováno),

  4. pro námi identifikované nebezpečí je v dalším kroku proveden odhad rizika.

Pro identifikaci nebezpečí je výhodné, jak už bylo řečeno, použít kontrolní seznamy a další informační zdroje (viz předchozí odstavec - část "zařízení“) . Pro náš příklad uvádíme zjednodušenou část takového seznamu.

           
Kontrolní list pro hodnocení mechanických nebezpečí
Identifikace subsystému: Firma ABC, dílna 1
Identifikace pracoviště/zařízení: lis
Datum hodnocení: 10. 3. 2009
Hodnotitelský tým: Novák
Možné nebezpečí strojů a zařízení Typická zranění Ano Ne Poznámka
Stlačení (mezi dvěma proti sobě se pohybujícími plochami, jedna může být pevná), stlačení se vyskytuje i při rotaci dvou válců, kde je kombinované se vtažením. pohmožděniny, rozdrcení části těla
Vtažení (u protiběžných válců, mezi ozubenými koly apod.). pohmožděniny, rozdrcení části těla nebo jejich odtržení
Střih (mezi dvěma pohybujícími se hranami, z nichž jedna může být pevná). odstřižení části těla
Zlomení (mezi dvěma proti sobě se pohybujícími a těsně se míjejícími hranami, z nichž jedna může být pevná). zlomenina
Vniknutí cizího tělesa, bodnutí (při vpichu, nárazu, šlápnutí, sáhnutí na ostré předměty, jako jsou vyčnívající hřebíky, odstřižky plechů, ostré pásky...). rána bodná, střelná ostré pásky z obalů materiálu
Náraz (při střetu dvou těles za pohybu). modřiny, pohmožděniny, zlomeniny, tržné rány
Pořezání (v kontaktu s ostrou hranou). řezná rána ostré pásky z obalů materiálu
Popálení (třením mezi povrchy těles, např. částí těla a předmětu). popálenina
Pád osob na rovině a na komunikacích (při uklouznutí - mastný, mokrý, namrznutý povrch; při zakopnutí o překážku). zhmožděniny, zlomeniny mastný povrch komunikace, překážky - materiál, odpad

Mechanická nebezpečí

Pro doplnění příkladu si ještě uveďme příklady základních hledisek při identifikaci mechanických nebezpečí vytvářených stroji a zařízeními:

  1. nebezpečné části v klidu (vyčnívající ostré a hranaté části),

  2. pád součástí, břemen, obrobků, stroje (přetížení, uvolnění obrobku, nezajištění stroje, špatná stabilita, nevhodný transport),

  3. rotující části (hladké, s výstupky, prohlubněmi, s ostřím),

  4. části s vratnými pohyby (popř. vratné pohyby s ostřím),

  5. vzájemně se pohybující části (hladké, s výstupky, s ostřím, pohyblivá a pevná část),

  6. odletující části v důsledku rotujícího pohybu (součást technologického postupu, neupevnění, uvolnění, nedostatečná pevnost materiálu, krytu, přetížení, opotřebení, skryté vady),

  7. odletující části v důsledku přímočarého pohybu (součást technologického postupu, uvolnění, přetížení, opotřebení),

  8. mechanické nebezpečí různého druhu v důsledku chyb v konstrukci ovládačů (samovolné spuštění nebo vypnutí, současné spuštění dvou nebo více nežádoucích pohybů, chybějící blokovací zařízení),

  9. ostatní mechanická nebezpečí (chybějící zařízení zabraňující nežádoucímu přetížení, tlaku, nežádoucí posuv částí strojů a zařízení, možnost vypadnutí části stroje nebo opracovávaného materiálu).

Kromě mechanických nebezpečí existuje samozřejmě celá řada dalších:

Rizikové faktory pracovních podmínek

  • rizikové faktory pracovních podmínek - viz nařízení vlády č. 361/2007 Sb., kterým se stanoví podmínky ochrany zdraví při práci, jež je dále rozděluje na:

    • rizikové faktory vznikající v důsledku nepříznivých mikroklimatických podmínek (zátěž teplem a zátěž chladem),

    • chemické faktory (člení se na chemické faktory obecně, olovo, chemické karcinogeny, mutageny, látky toxické pro reprodukci, azbest a pracovní procesy s rizikem chemické karcinogenity),

    • biologické činitele (člení se na jednotlivé skupiny),

    • fyzická zátěž (člení se na celkovou fyzickou zátěž, lokální svalovou zátěž, pracovní polohy a ruční manipulaci s břemeny),

Fyzikální faktory

  • fyzikální faktory (hluk, vibrace, neionizující záření a ionizující záření) - viz nařízení vlády č. 480/2000 Sb. a nařízení vlády č. 148/2006 Sb.

Je dále nutno zvážit dobu expozice:

C) Identifikaci exponovaných zaměstnanců

Identifikace exponovaných zaměstnanců

Pro stanovení pravděpodobnosti poškození je třeba vzít v úvahu např.:

  • počet exponovaných osob,

  • frekvence a trvání expozice,

  • expozice vlivu částic,

  • možnost ochrany prostřednictvím OOPP.

Porovnáme-li pečlivě rozdíl v požadavcích oproti předchozí verzi (tj. specifikaci OHSAS z roku 1999), v normě ČSN OHSAS 18001:2008 přibyla řada dalších okolností, které je třeba brát v úvahu a v předchozí verzi nebyly (viz podtržené odrážky v porovnávající tabulce v úvodu tohoto odstavce). Při přechodu na novou normu je tedy třeba analyzovat rozdíly jak v metodice, tak ve vlastním registru rizik; starší verze SW produktů nebo starší registry zpracované před platností normy OHSAS je většinou neobsahují a je třeba je doplnit.

Podíváme-li se na seznam identifikovaných nebezpečí podle dřívější specifikace OHSAS, zpravidla nebude neobsahovat všechny nové aspekty dle normy z roku 2008, zejména nebere v úvahu "nebezpečí vznikající mimo pracoviště, která mohou nepříznivě ovlivnit BOZP osob organizace na daném pracovišti“, a "nebezpečí v okolí pracoviště způsobená činnostmi spojenými s vlastními (pracovními) aktivitami organizace“.

Příklad části registru identifikovaných nebezpečí dílny (kovoobráběcí stroje)

Posuzovaný objekt Subsystém Identifikace nebezpečí
Kovoobrábění/dílna 1 Kovoobráběcí
stroje
- dílenská
pracoviště
- stlačení mezi dvěma proti sobě se pohybujícími plochami
- vniknutí cizího tělesa, bodnutí
- vznik těsných, úzkých profilů, přimáčknutí, zachycení, nárazy obsluhy
- rušení obsluhy provozem na sousedních pracovištích a přilehlých komunikacích, snížení pozornosti, zvyšování únavy, nežádoucí zásah obsluhy
- pád pracovníka z výšky, naražení, zlomeniny
- zakopnutí, pád osoby na rovině
- zakopnutí, podvrtnutí nohy, naražení, zachycení o různé překážky, prvky vystupující části z podlahy
- uklouznutí, podvrtnutí nohy, naražení a pád osoby na podlaze pracovního stanoviště strojů a na horizontálních komunikacích
- pád předmětu na obsluhu stroje
- pád, sesutí materiálu, polotovaru, výrobku
- vytváření nestabilních stohů
- pád, sesunutí materiálu při přemísťování, převážení
- píchnutí a pořezání o ostrou hranu odřezku plechu na podlaze apod.
- zvýšená únava obsluhy, vykonávání obslužných činností ve fyziologicky a ergonomicky nevhodných polohách
- snížená viditelnost, únava očí - zraková zátěž
- chybný úkon při obsluze strojů v důsledku špatné viditelnosti provedení nevhodných a nebezpečných manipulací

K takto vytvořenému seznamu identifikovaných nebezpečí pokračujeme v další fázi posuzováním míry rizika.

Metodiky pro vyhodnocení míry rizika

Metodika pro posuzování rizika

Pro další fázi, kterou je posouzení (resp. vyhodnocení míry) rizika, použijeme jako vstup další část požadavků normy:

OHSAS 18001:1999 ČSN OHSAS 18001:2008
4.3 Plánování 4.3 Plánování
4.3.1 Plánování pro identifikaci nebezpečí, hodnocení rizik a řízení rizik 4.3.1 Identifikace nebezpečí, posuzování rizika a určení způsobu řízení
b) Posuzování rizika
Metodika organizace pro identifikaci nebezpečí a hodnocení rizik musí:

• být stanovena s ohledem na její rozsah, povahu a načasování tak, aby byl zajištěn spíše proaktivní přístup než reaktivní;
• umožnit klasifikaci rizik a identifikaci těch rizik, která mají být vyloučena nebo řízena podle článků 4.4. a 4.3.4.
Metodika organizace pro identifikaci nebezpečí a posuzování rizika musí:

a) být stanovena s ohledem na její předmět, povahu a načasování tak, aby byl zajištěn spíše proaktivní než reaktivní přístup, a
b) přiměřeně umožnit identifikování rizik, stanovování priorit, dokumentování rizik a aplikování opatření.

Metodika pro posuzování rizika musí umožnit stanovení priorit v další fázi, kterou je řízení rizik aplikováním opatření. Znamená to vyhodnotit míru rizika a tu porovnat s daným kritériem. Tak získáme pořadí významnosti a definování priorit v určování dalších opatření.

Jinak řečeno, u každého identifikovaného nebezpečí z předchozího kroku námi zvolenou metodikou dále posoudíme, jaká škoda může být způsobena. Znamená to především určit pravděpodobnost výskytu a jaké mohou být následky.

Vrátíme-li se k naší analogii s normou ČSN EN 1050, odvození míry rizika pro naše použití je možné z následujících prvků, které znázorňuje jednoduchý obrázek:

  • závažnosti škody,

  • pravděpodobnosti výskytu škody, která je funkcí četnosti a doby trvání ohrožení osob nebezpečím a pravděpodobnosti výskytu nebezpečných událostí).

Závažnost

Závažnost může být v našem případě odhadnuta s přihlédnutím k závažnosti zranění nebo poškození zdraví:

  1. lehké (přechodné následky),

  2. těžké (trvalé následky),

  3. smrtelné,

případně dále s přihlédnutím k rozsahu škody (u každého stroje):

  1. u jedné osoby,

  2. u několika osob.

Máme-li ale za cíl prevenci rizik obecně, stupeň závažnosti zranění je podstatný oproti tomu, zda může k poškození dojít u jedné nebo u dvou osob.

Pravděpodobnost výskytu škody

Pravděpodobnost výskytu škody může být odhadnuta podle:

  1. četnosti a doby trvání ohrožení (tj. zda se ohrožení příslušným druhem nebezpečí vyskytuje nepřetržitě, 1x za hodinu, 1x za den, 1x za měsíc, jaká je doba expozice),

  2. pravděpodobnosti výskytu nebezpečné události (zejména ze statistických údajů a vývoje úrazovosti či incidentů, dále např. pomocí simulačních technik a expertních odhadů).

Míra rizika

Pro náš příklad - viz seznam nebezpečí pro kovoobráběcí stroje (dílna - dílenské pracoviště), kde jsme v předchozím kroku identifikovali nebezpečí jako zdroj nebo situaci s možností způsobit škodu, teď stanovíme podle zvolené metodiky míru rizika. V posledním kroku této etapy plánování se pak budeme zabývat určováním způsobu opatření pro řízení rizik.

Metodiky pro vyhodnocení míry rizika

Nutno říci, že pro vlastní vyhodnocení (výpočet, odhad) míry rizika se používají různé metodiky, které lze obecně rozdělit do tří skupin (na jednu z metod už bylo upozorněno v předchozí kapitole příručky):

  1. Kvalitativní analýza:
    Užívá slovního popisu k vyjádření potencionálních následků a pravděpodobnosti, viz příklad v následující tabulce:

    NÁSLEDKY

    Úroveň Popis následků Slovní vyjádření
    1 zanedbatelné bez poškození zdraví
    2 malé ošetření v rámci první pomoci vlastními prostředky, bez pracovní neschopnosti
    3 střední ošetření lékařem, pracovní neschopnost do 5 dnů
    4 závažné ošetření lékařem, pracovní neschopnost nad 5 dnů
    5 katastrofické trvalé následky, smrtelný úraz

    PRAVDĚPODOBNOST

    Úroveň Popis pravděpodobnosti Slovní vyjádření
    5 téměř jistá událost nastane ve většině případů
    4 pravděpodobná událost pravděpodobně nastane ve velkém počtu případů
    3 možná událost, malá pravděpodobnost může nastat nebo nastane v malém počtu případů
    2 nepravděpodobná událost mohlo by nastat za určitých okolností
    1 velmi nepravděpodobná nebo zcela nemožná událost mohlo by nastat pouze za velmi výjimečných okolností

    Polokvalitativní analýza

  2. Polokvalitativní analýza
    Pro vyjádření míry rizika jsou použité naše ohodnocené úrovně z předchozích tabulek. Doplněním slovního vyjádření o tyto hodnoty a např. jednoduchým vynásobením NÁSLEDKY × PRAVDĚPODOBNOST pak dostaneme stupnici míry rizika, kde pro příklad zanedbatelné následky x velmi nepravděpodobná nebo zcela nemožná událost (1 × 1 = 1) budou mít nejnižší hodnotu, zatímco závažné následky x pravděpodobná událost (4 × 4 = 16) už jsou na horní polovině stupnice a největší hodnotu pak samozřejmě budou mít katastrofické následky × téměř jistá událost (5 × 5 = 25), což představuje nepřijatelné ohrožení vynucující si okamžité opatření. Cílem je dosáhnout ohodnocení rizik pro jejich porovnání a seřazení do stupnice podle závažnosti. Pro větší objektivitu se někdy přidává tzv. názor hodnotitelů - viz náš příklad dále.

    Kvantitativní analýza

  3. Kvantitativní analýza
    Kvantitativní analýza využívá pouze číselných vyjádření jak pro pravděpodobnosti, tak pro následky. Kvalita takové analýzy záleží na kvalitě použitých vstupních dat a jejich číselného zpracování (např. vstupními daty můžou být statistické údaje o počtu výskytu určitého incidentu a následků přepočteno na celkový počet exponovaných pracovníků za podmínky výskytu určité okolnosti). Takové modely mohou být velice složité a pro další příklad v rámci naší jednoduché dílny je dále nebudeme brát v úvahu.

Pro náš příklad (viz část registru identifikovaných nebezpečí dílny pro kovoobráběcí stroje) doplníme nyní identifikovaná nebezpečí o vyhodnocení závažnosti rizika pomocí polokvalitativní metody.

Vyhodnocení závažnosti rizika

Posuzovaný objekt Subsystém Identifikace nebezpečí Vyhodnocení
závažnosti
rizika
P N H R
Kovoobrábění/dílna 1 Kovoobráběcí
stroje
- dílenská
pracoviště
stlačení mezi dvěma proti sobě se pohybujícími plochami 2 3 1 6
vniknutí cizího tělesa, bodnutí 3 2 1 6
vznik těsných, úzkých profilů, přimáčknutí, zachycení, nárazy obsluhy 4 2 1 8
rušení obsluhy provozem na sousedních pracovištích a přilehlých komunikacích, snížení pozornosti, zvyšování únavy, nežádoucí zásah obsluhy 3 2 1 6
pád pracovníka z výšky, naražení, zlomeniny 2 3 1 6
zakopnutí, pád osoby na rovině; zakopnutí, podvrtnutí nohy, naražení, zachycení o různé překážky, prvky vystupující části z podlahy 3 2 1 6
uklouznutí, podvrtnutí nohy, naražení a pád osoby na podlaze pracovního stanoviště strojů a na horizontálních komunikacích 3 2 1 6
pád předmětu na obsluhu stroje 2 2 1 4
pád, sesutí materiálu, polotovaru, výrobku; vytváření nestabilních stohů 3 2 1 6
pád, sesunutí materiálu při přemísťování, převážení 3 2 1 6
píchnutí a pořezání o ostrou hranu odřezku plechu na podlaze apod. 3 2 1 6
zvýšená únava obsluhy, vykonávání obslužných činností ve fyziologicky a ergonomicky nevhodných polohách 3 1 1 3
snížená viditelnost, únava očí - zraková zátěž, chybný úkon při obsluze strojů v důsledku špatné viditelnosti provedení nevhodných a nebezpečných manipulací 3 2 1 6

Legenda

Legenda:

P - Pravděpodobnost vzniku a existence rizika:

  1. Nahodilá

  2. Nepravděpodobná

  3. Pravděpodobná

  4. Velmi pravděpodobná

  5. Trvalá

N - Pravděpodobnost následků - závažnost:

  1. Poranění bez pracovní neschopnosti

  2. Absenční úraz (s pracovní neschopností)

  3. Vážnější úraz vyžadující hospitalizaci

  4. Těžký úraz a úraz s trvalými následky

  5. Smrtelný úraz

H - Názor hodnotitelů:

  1. Zanedbatelný vliv na míru nebezpečí a ohrožení

  2. Malý vliv na míru nebezpečí a ohrožení

  3. Větší, nezanedbatelný vliv na míru nebezpečí a ohrožení

  4. Velký a významný vliv na míru nebezpečí a ohrožení

  5. Více významných a nepříznivých vlivů na závažnost a následky ohrožení a nebezpečí

R – Míra rizika = P × N × H

Stupnice závažnosti

  • 0 - 3: bezvýznamné riziko,

  • 4 - 10: akceptovatelné riziko,

  • 11 - 50: mírné riziko,

  • 51 - 100: nežádoucí riziko,

  • 101 - 125: nepřijatelné riziko.

Z naší tabulky je vidět, že všechna ohodnocená rizika jsou v rozmezí 4 - 10, tedy na námi použité stupnici závažnosti se pohybujeme v oblasti tzv. "akceptovatelného rizika“, což znamená, že kromě dodržování stanovených požadavků (viz dále tabulka doplněná o opatření) nejsou bezprostředně nutná žádná zvláštní opatření. Samozřejmě v praxi by výčet rizik a jejich míra byly nepochybně vyšší.

Určení způsobu řízení

Posledním krokem etapy plánování dle čl. 4.3.1 normy OHSAS, tedy identifikace nebezpečí, posuzování rizika a určení způsobu řízení, je určení způsobu řízení. Jestliže je výsledná míra rizika nižší něž stanovená hodnota přijatelného rizika, není třeba obvykle dalšího opatření kromě toho, že riziko dále monitorujeme pro případ, že by se situace změnila. Jestliže je hodnota rizika na hranici přijatelnosti nebo dokonce nad ní, je nutno přijmout dostatečná opatření tak, aby bylo riziko sníženo pod hranici přijatelnosti.

Připomeňme, že v souladu s požadavky normy OHSAS je jedním z nezbytných vstupů pro posuzování rizik identifikace nebezpečí a rizika v oblasti BOZP spojená se změnami v organizaci, v celkovém systému managementu BOZP nebo v jejích činnostech, a to ještě před přijetím samotných změn. Je třeba dále zajistit, aby výsledky těchto posouzení byly zvažovány při určování způsobu řízení.

Jako jednoduchý příklad použijeme možnost personální změny na pozici bezpečnostního technika, který má v systému managementu BOZP nezastupitelnou úroveň, a tudíž jde o plánovanou změnu v systému. Nebezpečným faktorem pak může být neznalost firemního prostředí, malá praxe, nedostatečná odborná způsobilost. Následkem může být nedostatečná kontrola realizace již přijatých opatření v praxi (třeba jako je roční prověrka BOZP či pravidelné kontroly BOZP na pracovištích). Míra rizika bude vysoká a opatřením zde může být dostatečné zaškolení, souběh prováděných činností nového pracovníka současně se stávajícím apod.

Dalšími příklady takových změn může být zavedení nové technologie nebo jednotlivého pracovního postupu, kde by ještě před zahájením měla být provedena identifikace nebezpečí, vyhodnocena míra rizik a aktualizace registru rizik za účelem případného přijetí opatření tak, aby s náběhem nové technologie nedošlo v oblasti BOZP k žádnému incidentu.

Určení způsobu řízení

Určení způsobu řízení

Opět použijeme jako vstup odpovídající část požadavků normy:

 
OHSAS 18001:1999 ČSN OHSAS 18001:2008
4.3 Plánování 4.3 Plánování
4.3.1 Plánování pro identifikaci nebezpečí, hodnocení rizik a řízení rizik 4.3.1 Identifikace nebezpečí, posuzování rizika a určení způsobu řízení
c) určení způsobu řízení
Při určování způsobu řízení nebo zvažování změn stávajícího způsobu řízení musí být pro snižování rizik použita následující hierarchie
a) odstranění,
b) nahrazení,
c) technická opatření,
d) značení/varování a/nebo organizační opatření,
e) osobní ochranné prostředky.

Jak je vidět z naší srovnávací tabulky, hierarchie opatření v předchozí specifikaci nebyla, i když samozřejmě analogický požadavek, jak už bylo zmiňováno, obsahuje samozřejmě příslušná část zákona č. 262/2006 Sb., v pl.zn., zákoník práce.

V předchozím kroku jsme rizika rozdělili na přijatelná a nepřijatelná, přičemž přijatelná rizika se dále sledují, zatímco pro nepřijatelná rizika jsou nutná opatření pro jejich snížení v tom pořadí, jak je zřejmé z výše uvedené příslušné části normy. Samozřejmostí je pak stálý monitoring jak nebezpečí a rizik včetně změn, tak opatření k jejich snižování.

Pro příklad tohoto kroku použijeme naši tabulku (tj. seznam nebezpečí s vyhodnocenými riziky) doplněnou o bezpečnostní opatření.

Bezpečnostní opatření k identifikovaným rizikům

Posuzovaný objekt Subsystém Identifikace nebezpečí Vyhodnocení závažnosti rizika Bezpečnostní opatření
P N H R
Kovoobrábění/dílna 1 Kovoobráběcí
stroje
- dílenská
pracoviště
Stlačení mezi dvěma proti sobě se pohybujícími plochami. 2 3 1 6 - dodržování návodu k obsluze a bezpečnostních pokynů umístěných na zařízení
Vniknutí cizího tělesa, bodnutí. 3 2 1 6 - dodržování stanoveného postupu
- používání OOPP
Vznik těsných, úzkých profilů, přimáčknutí, zachycení, nárazy obsluhy. 4 2 1 8 - správné prostorové rozmístění strojů dle ČSN 73 5105
- dostatečný prostor potřebný pro uskladnění pomocných zařízení, zpracovávaného materiálu obrobků a prostor potřebný pro manipulaci s těmito předměty
- vyznačení komunikací a průchodů
- udržování komunikací, průchodů a obslužných prostorů volně průchodných a volných, bez překážek, jejich nezastavování materiálem, provozním zařízením
Rušení obsluhy provozem na sousedních pracovištích a přilehlých komunikacích, snížení pozornosti, zvyšování únavy, nežádoucí zásah obsluhy. 3 2 1 6 - správné umístění stroje tak, aby obsluha nebyla při práci rušena provozem na sousedních pracovištích a aby při práci nestála zády k hlavní cestě, vede-li tato cesta v bezprostřední blízkosti pracoviště
- oddělení pracoviště zástěnami
Pád pracovníka z výšky, naražení, zlomeniny 2 3 1 6 - řádné výstupy ke zvýšeným místům práce a pohybu (schody, žebříky, stupadla, madla atd.)
- zábradlí na volných okrajích plošin, lávek, zvýšených obslužných stanovišť apod. (s výškovým rozdílem nad 0,5 m)
Zakopnutí, pád osoby na rovině; zakopnutí, podvrtnutí nohy, naražení, zachycení o různé překážky, prvky vystupující části z podlahy. 3 2 1 6 - odstranění jakýchkoliv komunikačních překážek, o které lze zakopnout
- potrubí, hadice a elektrické kabely vést tak, aby nepřekážely; v místech, kde může dojít při provozu stroje k jejich proražení, prodření, poškození tepelným účinkem atp., musí být vhodně chráněny
Uklouznutí, podvrtnutí nohy, naražení a pád osoby na podlaze pracovního stanoviště strojů a na horizontálních komunikacích. 3 2 1 6 - rovný a tvrdý stav povrchu podlah a komunikací, bez nerovností, výmolů, udržování, čištění a úklid podlah, včasné odstraňování poškozených míst, nerovností
- vhodná pracovní obuv
- čištění podlah, včasné odstranění nečistot, včasný úklid, včasné odstranění nečistot (zvyšujících kluzkost, zejména mastnota)
- odstraňování odpadu
Pád předmětu na obsluhu stroje. 2 2 1 4 - dle potřeby zajistit police, stojany a odkládací místa - neukládat nástroje a měřidla do stojanů strojů, na stoly a lože, není-li na stroji zvlášť pro to určeno místo
Pád, sesutí materiálu, polotovaru, výrobku. Vytváření nestabilních stohů. 3 2 1 6 - materiál, polotovary a výrobky ukládat přehledně, zajišťovat jejich stabilitu
- nepřekračovat max. stanovené výšky přechodně skladovaného materiálu
- materiál správně ukládat tak, aby byla zaručena jeho stabilita a umožněno pohodlné snímání
- obrobky dle potřeby prokládat dřevěnými hranoly
- využívat paletizace a kontejnerizace, při ukládání výrobků do palet, přepravek, ukládacích beden a jiných manipulačních jednotek dodržovat požadavky ČSN 26 9030
Pád, sesunutí materiálu při přemísťování převážení. 3 2 1 6 - správné uložení materiálu na dopr. prostředek (vozík)
- nepřetěžování palet, vyloučit, aby materiál přesahoval půdorysné rozměry palet, beden
Píchnutí a pořezání o ostrou hranu odřezku plechu na podlaze apod. 3 2 1 6 - udržování pořádku
- materiál a výrobky ukládat přehledně, zajišťovat jejich stabilitu
Zvýšená únava obsluhy, vykonávání obslužných činností ve fyziologicky a ergonomicky nevhodných polohách. 3 1 1 3 - lze-li práci vykonávat vsedě, vybavit stanoviště obsluhy vhodnou sedačkou vyhovující fyziologickým a ergonomickým požadavkům (např. výškově stavitelná sedačka s opěradlem)
Snížená viditelnost, únava očí – zraková zátěž, chybný úkon při obsluze strojů v důsledku špatné viditelnosti provedení nevhodných a nebezpečných manipulací. 3 2 1 6 - správné rozestavení a umístění strojů a prac. míst s ohledem na osvětlení; stroje umístit na nejvhodnějším místě pro denní světlo, současně přihlédnout k umělému osvětlení (intenzita osvětlení pracoviště má být při strojním obrábění od 300 do 1 000 luxů); pohyblivá kloubová svítidla umístěná na stroji a přenosná svítidla na malé napětí (24 V)
- dostatečné osvětlení (umělé i denní), čištění oken, osvětlovacích těles od prachu
- správné umístění zdrojů osvětlení (místní, celkové)

V dalších krocích budeme vycházet z našeho registru rizik při stanovování cílů, cílových hodnot a programů v oblasti BOZP.

Samozřejmou součástí (resp. jedním z navazujících opatření) je informování všech dotčených (zainteresovaných) osob (zaměstnanci, pracovníci dodavatelských firem, patří sem i povinnost vzájemné písemné informovanosti o rizicích - viz zákon č. 262/2006 Sb., v pl. zn., zákoník práce, § 101 odst. 3): "Plní-li na jednom pracovišti úkoly zaměstnanci dvou a více zaměstnavatelů, jsou zaměstnavatelé povinni vzájemně se písemně informovat o rizicích a přijatých opatřeních k ochraně před jejich působením, která se týkají výkonu práce a pracoviště, a spolupracovat při zajišťování bezpečnosti a ochrany zdraví při práci pro všechny zaměstnance na pracovišti.“

Dokumentace

Na závěr této části připomeňme, že organizace musí dokumentovat a udržovat výsledky identifikace nebezpečí, posuzování rizik a určeného způsobu řízení v aktuálním stavu. Dokumentace týkající se identifikace nebezpečí, posuzování rizika a určení způsobu řízení ve smyslu normy OHSAS znamená:

  • směrnice (postup obsahující metodiku identifikace nebezpečí a vyhodnocování míry rizika),

  • registr nebezpečí a rizik,

  • navazující dokumentace (cíle a programy BOZP, důkazy o opatřeních k řízení rizik),

  • záznamy o seznámení pracovníků (školení),

  • důkazy o vzájemné výměně rizik v případě, že na jednom pracovišti plní pracovní úkoly zaměstnanci více než jednoho zaměstnavatele,

  • důkazy o aktualizaci těchto dokumentů.

Organizace musí dále zajistit, aby byla vzata rizika v oblasti BOZP a stanovené způsoby opatření k jejich eliminaci (snižování) v úvahu při vytváření, implementování a udržování systému managementu BOZP. Kategorie rizik získané v procesu jejich posuzování musí být základem pro rozhodování, které problémy je třeba řešit nejdříve. Celkový přehled o povaze a rozsahu rizik slouží jako jeden z podkladů pro vytváření celého systému managementu BOZP ve firmě.

Minule jsme se podrobně věnovali tématu identifikace nebezpečí, posuzování rizika a určení jeho řízení. V tomto článku si přiblížíme, jaké jsou rozdíly mezi předchozí verzí specifikace OHSAS 18001 a nynější normou ČSN OHSAS 18001 a především, co by si firma měla představit pod pojmem "požadavky právních předpisů a jiné požadavky“.

Pro správné porozumění si rozdělíme požadavky článku 4.3.2 normy ČSN OHSAS na tři části.

Nejprve si tedy objasněme první část článku:

OHSAS 18001:1999 ČSN OHSAS 18001:2008
4.3 Plánování 4.3 Plánování
4.3.2 Právní a jiné požadavky 4.3.2 Požadavky právních předpisů a jiné požadavky
Organizace musí vytvořit a udržovat postup pro identifikaci a přístup k právním a jiným požadavkům BOZP, které se na ni vztahují. Organizace musí vytvářet, implementovat a udržovat postupy k identifikaci a zajištění přístupu k požadavkům právních předpisů a k jiným požadavkům na BOZP, které se na ni vztahují.

Implementace BOZP

V prvé řadě si vysvětleme pojmy, jelikož už zde řada firem, která implementuje systém managementu BOZP, má problém, co vše si pod tímto termínem představit.

Právní požadavky

  • "Právní požadavky“ - jedná se např. o zákony, vyhlášky, nařízení vlády, zásady správné praxe, opatření a metodické pokyny ministerstev, vyhlášky a nařízení úřadů, resortní směrnice, rozhodnutí, souhlasy a vyjádření orgánů státní správy, rozsudky trestních orgánů nebo správních soudů atd.

Jiné požadavky

  • "Jiné požadavky“ - neúřední směrnice, požadavky mateřské společnosti, definované požadavky samotné organizace, dohody se zaměstnanci z oblasti BOZP, české technické normy, předpisy EU, dohody s orgány ochrany veřejného zdraví, návody na používání aj.

O právních předpisech se píše i v samotném zákoníku práce (zákon č. 262/2006 Sb., v platném znění), kde v je § 349, odst. 1 uvedeno:
Právní a ostatní předpisy k zajištění bezpečnosti a ochrany zdraví při práci jsou předpisy na ochranu života a zdraví, předpisy hygienické a protiepidemické, technické předpisy, technické dokumenty a technické normy, stavební předpisy, dopravní předpisy, předpisy o požární ochraně a předpisy o zacházení s hořlavinami, výbušninami, zbraněmi, radioaktivními látkami, chemickými látkami a chemickými přípravky a jinými látkami škodlivými zdraví, pokud upravují otázky týkající se ochrany života a zdraví.

Ač se v zákoníku práce hovoří o technických normách, ne každá technická norma je závazná. Vždy záleží na určitých faktorech, které si popíšeme níže. Nejprve si připomeňme, že v § 4 zákona č. 22/1997 Sb. se píše "česká technická norma není obecně závazná“. V první řadě, pokud se právní předpisy (tj. předpisy publikované ve Sbírce zákonů, a nebo i vyhlášky měst, obcí) určitým způsobem odkazují na CSN, pak to znamená povinnost dodržovat technické normy, ale jen těm subjektům, kterým daný právní předpis stanoví konkrétní povinnosti. Dále jsou technické normy závazné, pokud je ve smlouvě založené podle občanského nebo obchodního zákoníku zakotveno, že např. zboží, příp. činnosti, které jsou předmětem této smlouvy, musí splňovat požadavky konkrétní CSN. V tomto případě se stává plnění této ČSN právní povinností.

To platí i v oblasti pracovněprávních vztahů, kde může vyplynout povinnost řídit se ustanoveními CSN, pokud zaměstnavatel své zaměstnance s těmito ČSN řádně seznámil. Pokud je v interním dokumentu společnosti odkazováno, že pracovník postupuje v souladu s danou CSN, pak je tato technická norma pro daného pracovníka závazná.

V neposlední řadě může být povinnost dodržet určitou českou technickou normu stanovena v rozhodnutí správního orgánu, které je jím vydáno na základě zmocnění uvedeného v zákoně. Jako příklad lze uvést zákon č. 183/2006 Sb., o územním plánování a stavebním řádu (stavební zákon), ve znění pozdějších předpisů. Tento zákon v § 115 uvádí mimo jiné, že stavební úřad "stanoví zejména návaznost na jiné podmiňující stavby a zařízení, dodržení obecných požadavků na výstavbu, včetně požadavků na bezbariérové užívání stavby, popřípadě technických norem“. Pokud je tedy ve stavebním povolení uvedeno, že stavba musí splňovat požadavky určitých CSN, jde o povinnost právní.

Připomeňme si, že i v článku 4.2 normy ČSN OHSAS, který se vztahuje k politice BOZP, se hovoří o požadavku, aby politika BOZP "obsahovala závazek alespoň k plnění aplikovatelných požadavků právních předpisů a dalších požadavků, k nimž se organizace zavázala a které se vztahují k nebezpečím v oblasti BOZP“.

Úvodní přezkoumání

Pro správné naplnění tohoto požadavku normy je tedy nutné provést úvodní přezkoumání, abychom zjistili, které relevantní požadavky právních předpisů i jiné požadavky se dotýkají organizace s ohledem na:

  • činnosti,

  • provoz, pracoviště,

  • výrobní materiály, strojní vybavení, zařízení, přístroje,

  • samotné výrobky,

  • zaměstnance organizace,

  • umístění organizace.

Pro lepší představu je níže uveden jeden vzor zpracovaného základního registru právních předpisů a jiných požadavků

Číslo a název právního předpisu

I. Zákony

I. Zákony

Ústavní zákon č. 1/1993 Sb., ÚSTAVA ČESKÉ REPUBLIKY.

Usnesení ČNR č. 2/1993 Sb., vyhlášení LISTINY ZÁKLADNÍCH PRÁV A SVOBOD.

Zákon č. 20/1966 Sb., o péči o zdraví lidu.

Zákon č. 258/2000 Sb., o ochraně veřejného zdraví.

Zákon č. 22/1997 Sb., o technických požadavcích na výrobky a o změně a doplnění některých souvisejících zákonů.

Zákon č. 40/1964 Sb., občanský zákoník.

Zákon č. 48/1997 Sb., o veřejném zdravotním pojištění a o změně a doplnění některých souvisejících zákonů.

Zákon č. 262/2006 Sb., zákoník práce.

Zákon č. 59/2006 Sb., o prevenci závažných havárií.

Zákon č. 133/1985 Sb., o požární ochraně.

Zákon č. 356/2003 Sb., o chemických látkách a chemických přípravcích a o změně některých zákonů.

Zákon č. 102/2001 Sb., o obecné bezpečnosti výrobků.

Zákon č. 251/2005 Sb., o inspekci práce.

Zákon č. 101/2000 Sb., o ochraně osobních údajů a o změně některých zákonů.

Zákon č. 309/2006 Sb., zajištění dalších podmínek BOZP.

Zákon č. 499/2004 Sb., o archivnictví a spisové službě a o změně některých zákonů.

Zákon č. 505/1990 Sb., o metrologii.

Zákon č. 111/1994 Sb., o silniční dopravě.

Zákon č. 361/2000 Sb., o silničním provozu.

Zákon č. 247/2000 Sb., o získávání a zdokonalování odborné způsobilosti k řízení motorových vozidel.

Zákon č. 379/2005 Sb., o opatřeních k ochraně před škodami působenými tabákovými výrobky, alkoholem a jinými návykovými látkami a o změně souvisejících zákonů.

Zákon č. 40/2009 Sb., trestní zákoník.

Zákon č. 18/1997 Sb., o mírovém využívání jaderné energie a ionizujícího záření (atomový zákon) a o změně a doplnění některých zákonů.

Zákon č. 183/2006 Sb., o územním plánování a stavebním řádu (stavební zákon).

II. Nařízení vlády

II. Nařízení vlády

Nařízení vlády č. 11/2002 Sb., kterým se stanoví vzhled a umístění bezpečnostních značek a zavedení signálů.

Nařízení vlády č. 101/2005 Sb., o podrobnějších požadavcích na pracoviště a pracovní prostředí.

Nařízení vlády č. 168/2002 Sb., kterým se stanoví způsob organizace práce a pracovních postupů, které je zaměstnavatel povinen zajistit při provozování dopravy dopravními prostředky.

Nařízení vlády č. 361/2007 Sb., kterým se stanoví podmínky ochrany zdraví při práci.

Nařízení vlády č. 362/2005 Sb., o bližších požadavcích na bezpečnost a ochranu zdraví při práci na pracovištích s nebezpečím pádu z výšky nebo do hloubky.

Nařízení vlády č. 378/2001 Sb., kterým se stanoví bližší požadavky na bezpečný provoz a používání strojů, technických zařízení, přístrojů a nářadí.

Nařízení vlády č. 494/2001 Sb., kterým se stanoví způsob evidence, hlášení a zasílání záznamu o úrazu, vzor záznamu o úrazu a okruh orgánů a institucí, kterým se ohlašuje pracovní úraz a zasílá záznam o úrazu.

Nařízení vlády č. 495/2001 Sb., kterým se stanoví rozsah a bližší podmínky poskytování osobních ochranných pracovních prostředků, mycích, čisticích a dezinfekčních prostředků.

Nařízení vlády č. 1/2008 Sb., o ochraně zdraví před neionizujícím zářením.

Nařízení vlády č. 148/2006 Sb., o ochraně zdraví před nepříznivými účinky hluku a vibrací.

Nařízení vlády č. 266/2006 Sb., kterým se stanoví seznam nemocí z povolání.

Nařízení vlády č. 406/2004 Sb., o bližších požadavcích na zajištění bezpečnosti a ochrany zdraví při práci v prostředí s nebezpečím výbuchu.

Nařízení vlády č. 17/2003 Sb., kterým se stanoví technické požadavky na elektrická zařízení nízkého napětí.

Nařízení vlády č. 21/2003 Sb., kterým se stanoví technické požadavky na osobní ochranné prostředky.

Nařízení vlády č. 176/2008 Sb., o technických požadavcích na strojní zařízení.

III. Vyhlášky

Vyhláška č. 48/1982 Sb., kterou se stanoví základní požadavky k zajištění bezpečnosti práce a technických zařízení.

Vyhláška č. 432/2003 Sb., kterou se stanoví podmínky pro zařazování prací do kategorií, limitní hodnoty ukazatelů biologických expozičních testů, podmínky odběru biologického materiálu pro provádění biologických expozičních testů a náležitosti hlášení prací s azbestem a biologickými činiteli.

Vyhláška č. 288/2003 Sb., kterou se stanoví práce a pracoviště, které jsou zakázány těhotným ženám, kojícím ženám, matkám do konce devátého měsíce po porodu a mladistvým, a podmínky, za nichž mohou mladiství výjimečně tyto práce konat z důvodu přípravy na povolání.

Vyhláška č. 252/2004 Sb., kterou se stanoví hygienické požadavky na pitnou vodu a četnost a rozsah kontroly pitné vody.

Vyhláška č. 91/1993 Sb., k zajištění bezpečnosti práce v nízkotlakých kotelnách.

Vyhláška č. 21/1979 Sb., kterou se určují vyhrazená plynová zařízení a stanoví některé podmínky k zajištění jejich bezpečnosti, ve znění pozdějších předpisů.

Vyhláška č. 20/1979 Sb., kterou se určují vyhrazená elektrická zařízení a stanoví některé podmínky k zajištění jejich bezpečnosti, ve znění pozdějších předpisů.

Vyhláška č. 19/1979 Sb., kterou se určují vyhrazená zdvihací zařízení a stanoví některé podmínky k zajištění jejich bezpečnosti, ve znění pozdějších předpisů.

Vyhláška č. 18/1979 Sb., kterou se určují vyhrazená tlaková zařízení a stanoví některé podmínky k zajištění jejich bezpečnosti, ve znění pozdějších předpisů.

Vyhláška č. 85/1978 Sb., o kontrolách, revizích a zkouškách plynových zařízení.

Vyhláška č. 50/1978 Sb., o odborné způsobilosti v elektrotechnice.

Vyhláška č. 87/2000 Sb., kterou se stanoví podmínky požární bezpečnosti při svařování a nahřívání živic v tavných nádobách.

Vyhláška č. 111/1981 Sb., o čištění komínů.

Vyhláška č. 56/1997 Sb., kterou se stanoví obsah a časové rozmezí preventivních prohlídek.

Vyhláška č. 246/2001 Sb., o požární prevenci.

IV. Ostatní předpisy s vazbou na BOZP

IV. Ostatní předpisy s vazbou na BOZP

Nařízení Evropského parlamentu a Rady (ES) č. 1907/2006 o registraci, hodnocení, povolování a omezování chemických látek.

Nařízení Evropského parlamentu a Rady (ES) č. 1272/2008 o klasifikaci, označování a balení látek a směsí.

Směrnice Ministerstva zdravotnictví ČR č. 49/1967, o posuzování zdravotní způsobilosti k práci.

V. Jiné požadavky

V. Jiné požadavky

ČSN 33 1600 Revize a kontroly elektrického ručního nářadí během používání.

ČSN 33 1610 Revize a kontroly elektrických spotřebičů během jejich používání.

ČSN ISO 3864 Bezpečnostní barvy a bezpečnostní značky.

ČSN 26 9030 Manipulační jednotky - Zásady pro tvorbu, bezpečnou manipulaci a skladování.

ČSN 73 0810 Požární bezpečnost staveb - Společná ustanovení.

ČSN 73 0845 Požární bezpečnost staveb - Sklady.

ČSN 07 0703 Kotelny se zařízeními na plynná paliva.

ČSN 06 1008 Požární bezpečnost tepelných zařízení.

ČSN 26 9010 Šířky a výšky cest a uliček.

ČSN 73 5105 Výrobní průmyslové budovy.

Jedná se pouze o určitý základ registru - tedy přehledu požadavků, každá společnost má své specifické činnosti, výrobky apod. a ty musí být samozřejmě zohledněny v podobě relevantních ustanovení právních předpisů a jiných požadavků.

Úvodní přezkoumání může být provedeno samotnou organizací, kde každý odpovědný vedoucí pracovník sepíše relevantní požadavky za svou oblast. Lze tedy sestavit registr, který bude obsahovat např. následující rozsah:

  • BOZP Všeobecně;

  • OCHRANA ZDRAVÍ, HYGIENA PRÁCE, PRACOVNÍ PROSTŘEDÍ;

  • VÝROBKY, STROJE A ZAŘÍZENÍ;

  • OSOBNÍ OCHRANNÉ PRACOVNÍ PROSTŘEDKY;

  • POŽÁRNÍ OCHRANA;

  • TLAKOVÉ NÁDOBY;

  • PLYNOVÁ A TEPELNÁ ZAŘÍZENÍ;

  • ELEKTRICKÁ ZAŘÍZENÍ;

  • PRACOVNÍ ÚRAZY, NEMOCI Z POVOLÁNÍ, ODŠKODŇOVÁNÍ;

  • SKLADOVACÍ A DOPRAVNÍ ZAŘÍZENÍ;

  • NÁŘADÍ, MECHANIZOVANÉ NÁŘADÍ, PROSTŘEDKY MALÉ MECHANIZACE.

Registr si může organizace nechat i zpracovat, např. prostřednictvím poradce v oblasti BOZP, osoby odborně způsobilé v prevenci rizik, právní služby apod.

K identifikaci právních předpisů lze využít internet (např. webové stránky Ministerstva vnitra ČR, Ministerstva práce a sociálních věcí ČR aj.). Zdarma lze samotné legislativní požadavky získat na webových stránkách, jako jsou např. www.mvcr.cz , www.mpsv.cz , www.bozpinfo.cz , www.epravo.cz aj.

Kromě internetu lze legislativní požadavky získat i na CD (opětovně se smluvně zajištěnou aktualizací), v knižní podobě, v knihovnách.

Co se týká technických norem, opětovně je lze získat prostřednictvím internetu na stránkách ÚNMZ (v letošním roce se díky nízké ceně staly normy přístupné široké veřejnosti), ve specializovaných obchodech zabývajících se prodejem norem, příp. jsou k dispozici k přečtení v knihovnách.

4.3.2 Právní a jiné požadavky 4.3.2 Požadavky právních předpisů a jiné požadavky
Organizace musí tyto informace průběžně aktualizovat. Organizace musí zajistit, aby tyto aplikovatelné požadavky právních předpisů a jiné požadavky, které se na ni vztahují, byly brány v úvahu při vytváření, implementaci a udržování jejího systému managementu BOZP.

Organizace musí tyto informace průběžně aktualizovat.

Po provedení úvodního přezkoumání a zpracování registru je třeba nejdůležitější požadavky právních předpisů a jiné požadavky přenést do interní dokumentace, např. do osnovy vstupního/periodického školení BOZP, směrnice k řízení BOZP v organizaci, organizace požární ochrany, postupu pro řešení pracovního úrazu, dopravně-provozního řádu, místního řádu skladu, technologických předpisů, pracovních předpisů na pracovišti apod. Tím je zajištěna implementace požadavků předpisů do systému řízení BOZP.

Odpovědná osoba

Pro udržení aktuálnosti registru je nutné definovat odpovědnou osobu (osoby) za sledování a příp. aktualizaci. Aktualizace registru právních požadavků a jiných požadavků je však pouhý začátek dlouhého procesu, důležitější a také časově náročnější je pročtení změn, seznámení, příp. proškolení příslušných pracovníků s těmito novinkami a aktualizace, příp. vydání interního předpisu organizace. Kontrola aktuálnosti samotného registru je prováděna měsíčně, případně čtvrtletně dle typu společnosti.

4.3.2 Právní a jiné požadavky 4.3.2 Požadavky právních předpisů a jiné požadavky
Příslušné informace o právních a jiných požadavcích musí organizace sdělovat svým zaměstnancům a dalším příslušným zainteresovaným stranám. Příslušné informace o požadavcích právních předpisů a o jiných požadavcích musí organizace sdělovat osobám řízeným organizací a dalším příslušným zainteresovaným stranám

§ 103 zákoníku práce

Zde si nejprve připomeňme, že se v odst. 2 § 103 zákoníku práce píše:
"Zaměstnavatel je povinen zajistit zaměstnancům školení o právních a ostatních předpisech k zajištění bezpečnosti a ochrany zdraví při práci, které doplňují jejich odborné předpoklady a požadavky pro výkon práce, které se týkají jimi vykonávané práce a vztahují se k rizikům, s nimiž může přijít zaměstnanec do styku na pracovišti, na kterém je práce vykonávána, a soustavně vyžadovat a kontrolovat jejich dodržování.“

Sdělování informací o požadavcích právních předpisů i jiných požadavcích musí prokázat společnost prostřednictvím vstupního/periodického školení zaměstnanců v oblasti BOZP - tím je zajištěno i splnění legislativního požadavku.

Nejen zaměstnanci jsou však osoby řízené organizací. Zde je třeba chápat, že se jedná např. o agenturní zaměstnance, brigádníky, zaměstnance cizích firem pohybujících se v areálu společnosti (uklízečky, ostraha, zaměstnanci kantýny atd.). I tyto výše uvedené osoby je tedy nutné proškolit o požadavcích právních předpisů a jiných požadavků a o těchto školeních vést záznamy.

Na závěr této části si tedy připomeňme, že identifikace právních požadavků i jiných požadavků a její implementace do systému řízení BOZP v každé organizaci je nejen požadavek normy ČSN OHSAS 18001:2008 , ale především požadavek zákoníku práce.

III. Plánování

V minulém čísle jsme se podrobně věnovali tématu viz Rozvoj lidských zdrojů - Proces adaptace nového zaměstnance Požadavky právních předpisů a jiné požadavky. V tomto článku si přiblížíme, jaké jsou rozdíly viz Jak přežít vyhazov od šéfa? Cíle a programy této nové normy ČSN OHSAS 18001:2008 a předchozí verze specifikace OHSAS 18001.

Pro správné porozumění si rozdělíme požadavky viz Jak přežít vyhazov od šéfa? normy ČSN OHSAS 18001 na tři části.

Nejprve si objasněme první část článku:

OHSAS 18001:1999 ČSN OHSAS 18001:2008
4.3 Plánování 4.3 Plánování
4.3.3 Cíle 4.3.3 Cíle a programy
Organizace musí vytvořit a udržovat dokumentované cíle BOZP pro každou příslušnou funkci a úroveň v rámci organizace.

Poznámka: Tam, kde je to možné, mají být cíle změřeny.

Cíle a cílové hodnoty musí být v souladu s politikou BOZP organizace včetně závazku k neustálému zlepšování.
Organizace musí vytvořit, implementovat a udržovat dokumentované cíle BOZP pro příslušné funkce a úrovně v rámci organizace.

Cíle musí být měřitelné, pokud je to prakticky možné, a musí být v souladu s politikou BOZP, včetně přijatých závazků týkajících se prevence úrazů a poškození zdraví, požadavků předpisů a jiných požadavků, které se na organizaci vztahují, a závazku k neustálému zlepšování.

Porovnání

Pokud si porovnáme text specifikace OHSAS 18001 z roku 1999 s novou normou OHSAS 18001, je už na první pohled znát, že došlo k rozšíření požadavků. Konkrétně bylo doplněno do nové normy, aby cíle byly v souladu s "přijatými závazky týkajícími se prevence úrazů a poškození zdraví, požadavků předpisů a jiných požadavků, které se na organizaci vztahují“. Ještě více je tedy kladen důraz na soulad s legislativními předpisy a jinými požadavky a na dodržování závazků týkajících se prevence úrazů a poškození zdraví, přičemž tyto požadavky už jsou na organizaci kladeny viz 4.2 Politika BOZP (normy OHSAS 18001). Je nutné mít na paměti, že součástí plánování systému managementu bezpečnosti a ochrany zdraví při práci je stanovování cílů BOZP.

Postupování společnosti

Nyní si blíže popíšeme, jak máme jako společnost postupovat.

Společnost by měla stanovit takové cíle, aby naplnila své závazky, které si určila ve své politice BOZP. Cíle BOZP společnosti musí tedy navazovat na její politiku BOZP. Při stanovení cílů BOZP musí společnost prioritně zohlednit požadavky právních předpisů a jiné požadavky (viz kap. Rozvoj lidských zdrojů - Proces adaptace nového zaměstnance) a dále identifikovaná a posouzená rizika (viz kap. Rozvoj lidských zdrojů - Získávání nových zaměstnanců a personální marketing). Po společnosti se však nechce, aby se věnovala každému identifikovanému riziku či právnímu požadavku. Je pouze na dané organizaci, co si určí jako svou prioritu - tedy jaké cíle si stanoví.

§ 102 zákoníku práce

Pokud budeme při stanovení cílů BOZP vycházet z dokumentovaného registru rizik neboli přehledu bezpečnostních rizik (viz kap. Rozvoj lidských zdrojů - Získávání nových zaměstnanců a personální marketing), pak tím naplníme legislativní požadavek, a to § 102 zákoníku práce, odst. 4 a 5, kde se píše:

" (4) Není-li možné rizika odstranit, je zaměstnavatel povinen je vyhodnotit a přijmout opatření k omezení jejich působení tak, aby ohrožení bezpečnosti a zdraví zaměstnanců bylo minimalizováno.

(5) Při přijímání a provádění technických, organizačních a jiných opatření k prevenci rizik vychází zaměstnavatel ze všeobecných preventivních zásad, kterými se rozumí:

  1. omezování vzniku rizik,

  2. odstraňování rizik u zdroje jejich původu,

  3. přizpůsobování pracovních podmínek potřebám zaměstnanců s cílem omezení působení negativních vlivů práce na jejich zdraví,

  4. nahrazování fyzicky namáhavých prací novými technologickými a pracovními postupy,

  5. nahrazování nebezpečných technologií, výrobních a pracovních prostředků, surovin a materiálů méně nebezpečnými nebo méně rizikovými, v souladu s vývojem nejnovějších poznatků vědy a techniky,

  6. omezování počtu zaměstnanců vystavených působení rizikových faktorů pracovních podmínek překračujících nejvyšší hygienické limity a dalších rizik na nejnižší počet nutný pro zajištění provozu,

  7. plánování při provádění prevence rizik s využitím techniky, organizace práce, pracovních podmínek, sociálních vztahů a vlivu pracovního prostředí,

  8. přednostní uplatňování prostředků kolektivní ochrany před riziky oproti prostředkům individuální ochrany,

  9. provádění opatření směřujících k omezování úniku škodlivin ze strojů a zařízení,

  10. udílení vhodných pokynů k zajištění bezpečnosti a ochrany zdraví při práci.“

Společnost by tedy měla vzít v úvahu výše uvedené legislativní požadavky při stanovování svých cílů BOZP.

SMART cíle

Norma rovněž vyžaduje, aby byly cíle měřitelné, pokud je to prakticky možné. Tím se má na mysli, aby byly cíle SMART (tedy specifické, měřitelné, dosažitelné, relevantní a termínované). Cíle by měly být rozumné a dosažitelné v tom smyslu, že společnost má mít schopnost dosáhnout těchto cílů a monitorovat příslušný pokrok. Pro realizaci každého cíle BOZP má být definován přiměřený časový horizont.

Cíle BOZP musí být stanoveny pro příslušné funkce a úrovně v rámci společnosti. Povšimněme si, že z nové normy oproti původní specifikaci vypadlo slůvko "každé“. Už konečně tedy nemůže dojít k rozporům ve výkladu normy při auditech, jelikož nyní je zřejmé, že se nevyžaduje stanovit cíle BOZP pro všechny oddělení, útvary a činnosti. Ve většině případů si vedení společnosti stanoví specifické cíle BOZP, které se vztahují na celou společnost. Další cíle mohou být stanoveny vedoucími pracovníky pro jejich příslušná oddělení, případně cíle BOZP mohou být stanoveny pracovníky různých funkcí a na různých úrovních ve společnosti (např. manažerem BOZP, vedoucím výroby, odborně způsobilou osobou v prevenci rizik atd.).

Nesmíme také zapomenout na vazbu tohoto článku normy OHSAS 18001 na právní požadavek, a to § 102 zákoníku práce, odst. 3 , kde se píše:

Povinnosti zaměstnavatele

"Zaměstnavatel je povinen soustavně vyhledávat nebezpečné činitele a procesy pracovního prostředí a pracovních podmínek, zjišťovat jejich příčiny a zdroje. Na základě tohoto zjištění vyhledávat a hodnotit rizika a přijímat opatření k jejich odstranění a provádět taková opatření, aby v důsledku příznivějších pracovních podmínek a úrovně rozhodujících faktorů práce dosud zařazené podle zvláštního právního předpisu jako rizikové mohly být zařazeny do kategorie nižší. K tomu je povinen pravidelně kontrolovat úroveň bezpečnosti a ochrany zdraví při práci, zejména stav výrobních a pracovních prostředků a vybavení pracovišť a úroveň rizikových faktorů pracovních podmínek, a dodržovat metody a způsob zjištění a hodnocení rizikových faktorů podle zvláštního právního předpisu.“

Dále je rovněž v § 102 zákoníku práce, odst. 7 , stanoveno, že:

"Zaměstnavatel je povinen přizpůsobovat opatření měnícím se skutečnostem, kontrolovat jejich účinnost a dodržování a zajišťovat zlepšování stavu pracovního prostředí a pracovních podmínek.“

Jak jste si tedy sami mohli přečíst, závazek k neustálému zlepšování a k prevenci poškození zdraví je definován i v právním předpisu.

Demingův cyklus

Pro čtenáře, kteří jsou znalí i v oblasti kvality, připomeňme teorii W. E. Deminga, kterou lze využít i v oblasti BOZP pro zajišťování neustálého zlepšování. Tzv. Demingův cyklus (ve zkratce PDCA) je založen na čtyřech základních krocích, kterými jsou Plan (plánuj) - Do (dělej) - Check (kontroluj) - Act (jednej), jejichž smyslem je dosažení trvalého zlepšování v řízené oblasti (v našem případě se jedná o oblast BOZP).

Výklad Demingova cyklu:

Plan - Plánuj: stanov cíle a procesy nezbytné k dosažení požadovaného výsledku.

Do - Dělej: implementuj procesy (tj. proveď, co jsi naplánoval).

Check - Kontroluj: monitoruj a měř procesy ve vztahu k politice, cílům a stanoveným požadavkům, vypracuj zprávy o výsledcích (tj. kontroluj, co jsi provedl).

Act - Jednej: prováděj opatření podle výsledků kontroly, uprav cíle a procesy směrem ke zvyšování výkonnosti a k trvalému zlepšování.

4.3.3 Cíle 4.3.3 Cíle a programy
Při stanovování a přezkoumávání svých cílů musí organizace zvážit požadavky právních a jiných předpisů, svá nebezpečí a rizika BOZP, technologické možnosti a své finanční, provozní a podnikatelské požadavky a názory zainteresovaných stran. Při stanovování a přezkoumávání svých cílů musí organizace zvážit požadavky právních předpisů, které se na ni vztahují, a rizika v oblasti BOZP. Musí rovněž zvážit své technologické možnosti, finanční, provozní a podnikatelské požadavky a názory příslušných zainteresovaných stran.

V této části článku normy OHSAS 18001 nedošlo k žádné výrazné změně oproti původní specifikaci OHSAS 18001.

Vstupy pro cíle BOZP

Společnost by měla vzít v úvahu při stanovování svých cílů BOZP následující vstupy:

  • politiku a cíle, které se vztahují k podnikatelské činnosti společnosti jakožto celku;

  • politiku BOZP (viz kap. 4.2);

  • požadavky právních předpisů a jiné požadavky (viz 4.3.2);

  • technologické možnosti;

  • finanční, provozní a obchodní požadavky;

  • výsledky identifikace nebezpečí, posouzení rizika existujícího způsobu řízení (viz kap. Rozvoj lidských zdrojů - Získávání nových zaměstnanců a personální marketing);

  • názory pracovníků a zainteresovaných stran (výsledky hodnocení spokojenosti pracovníků s úrovní BOZP na pracovišti, nápady/náměty na zlepšení pracovníků týkající se BOZP, informace získané od dodavatelů materiálů, technologií) - viz kap. 4.4.3;

  • informace získané od pracovníků z konzultací BOZP, např. od zástupce zaměstnanců pro oblasti BOZP, rady zaměstnanců, odborové organizace k problematice BOZP;

  • vyhodnocení efektivnosti systému managementu BOZP (např. z pravidelných prověrek BOZP, preventivních prohlídek požární ochrany, z interních auditů, auditů 5S);

  • analýzu výkonnosti BOZP;

  • záznamy o vyšetřování incidentů a o neshodách v oblasti BOZP (viz kap. Požadavky na vlastnosti úspěšného obchodníka) - například se doporučuje vycházet z analýzy drobných úrazů, analýzy ohlášených úrazů, analýzy interních neshod, skoronehod;

  • výsledky přezkoumání systému managementu vedením (viz kap. 4.6).

Rovněž požadavek normy OHSAS 18001 na zvážení názorů příslušných zainteresovaných stran (např. dodavatelů, orgánů státní správy) pro stanovování cílů BOZP lze nalézt rovněž mezi povinnostmi stanovenými zákoníkem práce, § 108 Účast zaměstnanců na řešení otázek bezpečnosti a ochrany zdraví při práci

"(1) Zaměstnanci mají právo se účastnit na řešení otázek souvisejících s bezpečností a ochranou zdraví při práci prostřednictvím odborové organizace nebo zástupce pro oblast bezpečnosti a ochrany zdraví při práci.

(2) Zaměstnavatel je povinen odborové organizaci nebo zástupci pro oblast bezpečnosti a ochrany zdraví při práci anebo přímo zaměstnancům umožnit:

  1. účast při jednáních týkajících se bezpečnosti a ochrany zdraví při práci anebo jim poskytnout informace o takovém jednání,

  2. vyslechnout jejich informace, připomínky a návrhy na přijetí opatření týkajících se bezpečnosti a ochrany zdraví při práci, zejména návrhy na odstranění rizik nebo omezení působení rizik, která není možno odstranit,

  3. projednat podstatná opatření týkající se bezpečnosti a ochrany zdraví při práci.“

Mějme na paměti, že cíle BOZP nesmí být stanoveny jako opatření na neplnění legislativních požadavků. Společnost nesmí vyhlásit cíl, kterým by jasně dávala najevo, že neplní určitý právní požadavek, tedy že např. během jednoho roku po splnění cíle začne i společnost naplňovat daný právní požadavek. Neplnění právního požadavku musí společnost odstranit okamžitě.

Příklady cílů BOZP

Níže jsou uvedeny možné příklady cílů BOZP:

  • cíle, které zvyšují nebo snižují něco, co je vyjádřeno numerickou hodnotou (např. snížit množství úrazů ve společnosti o 20 %, snížit úrazovost při manipulaci s břemeny o 10 %, snížit nemocnost na útvaru montáže o 5 %, počet nahrazení méně bezpečných technologií a technických zařízení bezpečnějšími);

  • cíle, které zavádějí méně nebezpečné materiály či technologie (např. nahradit používání žíravých nebezpečných chemických látek a přípravků za NCHLP s vlastností dráždivé, změna procesů, pracovních postupů s ohledem na BOZP);

  • cíle, které zavádějí řízení nebo snížení nebezpečí (např. snížení vibrací, snížení hluku, snížení rizika stlačení ruky obsluhy v prostoru lisovacího zařízení na akceptovatelnou úroveň);

  • cíle vedoucí ke zvýšení spokojenosti pracovníků ohledně BOZP (např. zlepšení ergonomie na základě provedení ergonomického hodnocení pracovního místa);

  • cíle vedoucí ke zvýšení vědomí závažnosti a kompetence pro bezpečné plnění pracovních činností (např. zvýšení povědomí všech pracovníků ohledně BOZP ve společnosti, prohloubení znalostí vedoucích pracovníků v oblasti BOZP);

  • cíle, které vedou k odstranění nebo snížení četnosti konkrétních jednotlivých nežádoucích rizikových událostí;

  • cíle, které jsou realizovány, abychom naplnili právní požadavky ještě před jejich uzákoněním.

Přezkoumání cílů

Cíle BOZP musí být přezkoumány z hlediska dosažení, vhodnosti i aktuálnosti. Tento požadavek je rovněž definován v kap. 4.6 přezkoumání systému managementu.

V případě, že cíl není splněn (např. z finančních důvodů, změna vlastníka společnosti), není důvod k panice. Je třeba pouze dobře popsat zdůvodnění nesplnění cíle BOZP ve zprávě z přezkoumání systému managementu a daný cíl zrušit, modifikovat, případně změnit termín jeho ukončení.

Vzorový dokument

Níže je uveden vzorový dokument - cíle společnosti.

CÍLE
INTEGROVANÉHO SYSTÉMU ŘÍZENÍ

PRO ÚSPĚŠNÉ NAPLŇOVÁNÍ POLITIKY ISŘ FIRMY ABC VYHLAŠUJE ŘEDITEL FIRMY NÁSLEDUJÍCÍ CÍLE PRO ROK 2010 - 2011:

  1. Snížit úrazovost při ruční manipulaci s břemeny o 15 %

    Termín: do konce roku 2010
    Odpovídá: manažer výroby

  2. Snížit produkované množství NO 150110* (obaly obsahující zbytky nebezpečných látek nebo obaly těmito látkami znečištěné) o 10 %

    Termín: do konce roku 2011
    Odpovídá: manažer EMS

  3. Snížit množství interních neshodných výrobků o 7 %

    Termín: do konce roku 2010
    Odpovídá: manažer výroby

  4. Snížit nemocnost o 3 %

    Termín: do konce roku 2010
    Odpovídá: manažer HR

V Brně dne 4. 1. 2010

xxx
Předseda představenstva

yyy
Ředitel společnosti

Samozřejmě mohou být stanoveny cíle jak integrovaného systému řízení, ale není zakázáno, aby byly cíle určeny pro každý systém zvlášť. Vše záleží na zvyklostech dané společnosti.

4.3.4 Program(y) managementu BOZP 4.3.3 Cíle a programy
Organizace musí vytvořit a udržovat program(y) managementu BOZP pro dosažení svých cílů. To musí zahrnovat dokumentování:
a) určených odpovědností a pravomocí potřebných k dosažení cílů pro každou příslušnou funkci a úroveň organizace;
b) prostředky a časový rámec, ve kterém má být cílů dosaženo.

Program(y) managementu BOZP musí být přezkoumáván(y) v pravidelných a plánovaných intervalech. Kde je to nezbytné, musí být program(y) managementu BOZP dodatečně upraven(y) tak, aby reagoval(y) na změny činností, výrobků, služeb nebo provozních podmínek organizace.
Pro dosahování svých cílů musí organizace vytvořit, implementovat a udržovat programy. Programy musí obsahovat minimálně:
a) určení odpovědnosti a pravomoci pro dosahování cílů v příslušných funkcích a úrovních organizace,
b) zdroje a časový rámec, ve kterém má být cílů dosaženo.

Programy musí být v pravidelných a plánovaných intervalech přezkoumávány a podle potřeby přizpůsobeny, aby se zajistilo dosažení cílů.

Už z prvního pohledu je zřejmé, že došlo ke sloučení viz Jak přežít eskalaci, nebo jakoukoliv pracovní vyhrocenou situaci? Program(y) managementu BOZP (specifikace OHSAS 18001) do viz Jak přežít vyhazov od šéfa? Cíle, a vznikla tak v normě OHSAS 18001 viz Jak přežít vyhazov od šéfa? Cíle a programy. Tím došlo ke sjednocení názvu i čísla kapitoly s normou ISO 14001, a je proto umožněna ještě lepší integrace s danou normou na ochranu životního prostředí.

Nyní k samotnému obsahu třetí části viz Jak přežít vyhazov od šéfa? Cíle a programy. Abychom dosáhli cílů, musíme vytvořit programy. Je tedy nutné, abychom pro každý cíl BOZP vytvořili program. Program je akční plán (souhrn činností, úkolů), který nám slouží k dosažení jednoho cíle či více cílů BOZP.

Společnost musí zabezpečit potřebné zdroje (lidské, materiální, finanční, infrastrukturu) k vytvoření programů. Podle složitosti programu stanoveného za účelem dosažení cíle BOZP by měla společnost určit úkoly, odpovědnost a pravomoc na úseku BOZP svým zaměstnancům a ostatním zainteresovaným stranám (dodavatelům, subjektům působícím v pronajatých prostorách nebo objektech společnosti apod.) a rovněž termín ukončení jednotlivých úkolů tak, aby bylo zajištěno dosažení cíle v souladu s celkovým harmonogramem.

Programy a cíle BOZP

Cíle BOZP i programy, které jsou definovány pro jejich dosažení, mají být sdělovány (např. prostřednictvím pravidelných školení BOZP) příslušných pracovníkům, kterých se dotýkají (viz kap. 4.4.2). Způsob komunikace je zvolen tak, aby se umožňovalo nejen přenášení informací a požadavků ze strany vedení společnosti směrem k řadovým zaměstnancům (s cílem dosáhnout lepšího pochopení strategie a záměrů společnosti všemi jejími zaměstnanci), ale aby také došlo k předávání informací od zaměstnanců směrem k vedení.

Přezkoumání programů BOZP se musí provádět pravidelně, např. po dokončení příslušného úkolu. Programy by měly být podle potřeby přizpůsobovány. Přezkoumání programů však může být provedeno i jako součást přezkoumání systému managementu.

Vzorový formulář

Níže je uveden vzorový formulář programu BOZP. Je však třeba si uvědomit, že v normě není definováno, zda musí být pro cíl i program BOZP zpracován jeden dokument či dva, proto existují společnosti, které mají jeden formulář, jenž nám stanoví jak cíle, tak i programy BOZP. Pokud má organizace zaveden systém managementu dle ISO 14001, příp. dle ISO/TS 16949, pak lze využít formulářů pro programy SMK/EMS, příp. akční plány.

Na závěr této kapitoly si připomeňme, že podstatou systémového přístupu, který vyžaduje norma 18001 k řízení BOZP, je provázání jednotlivých prvků a procesů v komplexní fungující celek. Výsledkem je zajištění toho, že společnost bude kontinuálně dosahovat shody s vyhlášenou politikou BOZP, stanovenými cíli BOZP a se všemi požadavky právních předpisů a jiných požadavků, které se na ni vztahují, a že bude postupně zvyšovat úroveň zajištění bezpečnosti a ochrany zdraví zaměstnanců. Systém managementu je třeba chápat a realizovat jako dynamický proces. Ve srovnání s tím je plnění legislativních požadavků jen nezbytným minimem k efektivnímu řízení BOZP, jeho dílčích částí. Norma OHSAS 18001 je tedy určitý nadstandard pro firmy, které se nechtějí spokojit s tím, že "jen“ plní právní požadavky, je určena pro společnosti, jež chtějí být lepší.

IV. Implementace a provoz

V minulém čísle jsme se podrobně věnovali tématu kapitoly 4.3.3 Cíle a programy. V tomto článku si přiblížíme, jaké jsou rozdíly v kapitole 4.4.1 Zdroje, úlohy, odpovědnost, povinnost a pravomoc této nové normy CSN OHSAS 18001:2008 a předchozí verze specifikace OHSAS 18001.

Pro správné porozumění si rozdělíme požadavky kapitoly 4.4.1 normy ČSN OHSAS 18001 na tři části.

Nejprve si objasněme první část článku:

OHSAS 18001:1999 ČSN OHSAS 18001:2008
4.4 Zavedení a provoz 4.4 Implementace a provoz
4.4.1 Struktura a odpovědnost 4.4.1 Zdroje, úlohy, odpovědnost, povinnost a pravomoc
Úlohy, odpovědnosti a pravomoci osob, které řídí, provádějí a ověřují činnosti, mající vliv na rizika BOZP organizace, se musí definovat, dokumentovat usnadněn management BOZP.

Konečnou odpovědnost za ochranu zdraví a bezpečnost při práci má vrcholový management.

Vedení musí poskytnout zdroje nezbytné pro uplatnění, řízení a zlepšování systému managementu BOZP.

POZNÁMKA: Zdroje zahrnují lidské zdroje a specializované dovednosti, technologie a finanční zdroje.
Vrcholové vedení musí přijmout hlavní odpovědnost za BOZP a systém managementu BOZP.

Vrcholové vedení musí prokazovat svou osobní angažovanost a aktivitu prostřednictvím:

a) zajišťování dostupnosti zdrojů nezbytných pro vytvoření, implementování, udržování a zlepšování systému managementu BOZP,

POZNÁMKA 1: Zdroje zahrnují lidské zdroje a odborné dovednosti, infrastrukturu organizace, technologie a finanční zdroje.

b) stanovování úloh, přidělování odpovědností a povinností a delegování pravomocí pro efektivní management BOZP; úlohy, odpovědnosti, povinnosti a pravomoci musí být dokumentovány a musí být o nich komunikováno.
POZNÁMKA: Povinnost dle normy ČSN OHSAS 18001 znamená konečnou "odpovědnost“ a vztahuje se na osobu, která je odpovědná za to, jestli něco není uděláno, nefunguje nebo neplní svůj účel.

Angažovanost vrcholového vedení

Pokud si porovnáme text specifikace OHSAS 18001 z roku 1999 s novou normou OHSAS 18001, je už na první pohled znát, že je v nové normě zdůrazněn požadavek na prokazování angažovanosti aktivity vrcholového vedení včetně samotného uvedení požadavků, jak toho dosáhnout.

Abychom efektivně implementovali a poté i udržovali a zlepšovali systém managementu BOZP, musíme do systému řízení zapojit všechny osoby, které jsou řízeny organizací. Je třeba, aby vrcholové vedení šlo příkladem a aby prosazovalo důležitost BOZP ve společnosti. Pouze pokud vedení firmy pochopí svou odpovědnost za oblast BOZPa přihlásí se k ní, pak je možné nastolit v organizaci funkční systém řízení BOZP. Systém bohužel nikdy nebude funkční ve společnosti, kde vrcholový management sám nerespektuje právní, jiné či své vlastní požadavky, které se dotýkají BOZP (např. pokud management vstupuje do výrobní haly v otevřené obuvi, ač smí do haly vstoupit osoby pouze v pracovní obuvi - uzavřená obuv s pevnou špičkou)

Důkazy angažovanosti

Je nutné, aby si vedoucí pracovníci uvědomili, že za oblast BOZP neodpovídá dle zákoníku práce bezpečnostní technik - tedy osoba odborně způsobilá v prevenci rizik, ale že jsou to právě oni a zaměstnavatel. Vrcholové vedení může prokázat svou angažovanost např. tím, že:

  • na poradách vedení bude jedním z bodů i oblast BOZP,

  • při setkáních se zaměstnanci se bude hovořit i o tematice BOZP v organizaci,

  • výška pohyblivé složky mzdy bude závislá i na kritériu "BOZP“,

  • zaměstnanci budou motivováni k podávání "dobrých nápadů“ týkajících se zlepšování BOZP v organizaci,

  • na pracovištích budou prováděny top managementem pravidelné prověrky BOZP a návštěvy ohledně BOZP,

  • se zúčastní vyšetřování incidentů.

Dále to prokáže tak, že stanoví a poskytne zdroje k tomu, aby se v souladu s politikou BOZP předcházelo vzniku úrazů a poškození zdraví.

Při stanovování zdrojů, které jsou nutné pro vytváření, implementaci a udržování systému managementu BOZP, by měla organizace zvažovat:

  • finanční, lidské a jiné zdroje, které jsou specifické pro její provoz,

  • potřebu odborných znalostí a výcviku,

  • technologie,

  • informační systémy.

Stanovení odpovědností a pravomocí

Nezapomeňme především na to, že je třeba definovat odpovědnosti a povinnosti v oblasti BOZP vrcholovému vedení na jedné straně, ale rovněž i zajistit pravomoci, které jsou nezbytné pro výkon jejich funkcí. Dále norma požaduje, aby byly písemně stanoveny pravomoci a odpovědnosti všech osob, které vykonávají úkoly v rámci systému managementu BOZP.

Pravomoci a odpovědnosti můžeme dokumentovat například do:

  • pracovního řádu,

  • popisu pracovního místa/funkce (viz příloha č. 1),

  • pracovních postupů na jednotlivých pracovištích,

  • dalších postupů, které se dotýkají systému managementu BOZP.

Pokud systém implementujete, nezapomeňte si zkontrolovat, zda máte dokumentovány pravomoci a odpovědnosti pro např.:

  • představitele vedení systému managementu BOZP,

  • zástupce zaměstnanců pro oblast BOZP,

  • vedoucí pracovníky na jednotlivých stupních řízení,

  • interní auditory BOZP,

  • interního bezpečnostního technika/osobu odborně způsobilou v prevenci rizik,

  • pracovníky ve výrobě,

  • manažera BOZP.

Zaměřte se rovněž na to, zda máte ve společnosti definovány osoby, které jsou odpovědné např. za:

  • provoz elektrických zařízení, plynových zařízení, zdvihacích zařízení, tlakových zařízení,

  • za jednotlivá pracoviště,

  • motorové vozíky,

  • služební vozidla,

  • ostatní technická zařízení,

  • vybavení lékárniček atd.

NV č. 101/2005 Sb.

Připomeňme si povinnosti z nařízení vlády č. 101/2005 Sb., o podrobnějších požadavcích na pracoviště a pracovní prostředí, kde je v odstavci 3 a 4 § 3:

(3) Podmínkou k uvedení pracoviště, včetně výrobních a pracovních prostředků, do provozu a používání je, že odpovídají požadavkům stanoveným ve zvláštních právních předpisech a požadavkům tohoto nařízení. Před uvedením pracoviště do provozu a používání je nutné zajistit:

  1. uspořádání pracoviště tak, aby zaměstnanci byli chráněni před nepříznivými povětrnostními vlivy a před škodlivými účinky pracovních a technologických postupů a výrobních a technologických procesů, včetně určení osob, k jejichž povinnostem patří zajišťovat bezpečný provoz, používání, údržbu, úklid, čištění a opravy pracoviště.

(4) Zaměstnavatel při plnění zákonné povinnosti zajistí:

  1. stanovení termínů, lhůt a rozsahu kontrol, zkoušek, revizí, termínů údržby, oprav a rekonstrukce technického vybavení pracoviště, včetně pracovních a výrobních prostředků a zařízení, s ohledem na jejich provedení, doporučení výrobce a způsob používání, požadavky na pracoviště, rizikové faktory způsobující zhoršení technického stavu pracovních a výrobních prostředků a zařízení a v souladu s výsledky předcházejících kontrol, zkoušek či revizí, po dobu provozu a používání pracoviště,

  2. dodržování termínů a lhůt pro provádění činností uvedených v písmenu a) a určí osobu, jejíž povinností je zajistit jejich provádění.

Požadavky plynoucí ze zákoníku práce

Co se týká právních požadavků, které bezprostředně souvisejí s touto kapitolou normy, pak si objasněme pojem zaměstnavatel. Ten je definován v § 7 zákoníku práce takto:

(1) Zaměstnavatelem se pro účely tohoto zákona rozumí právnická nebo fyzická osoba, která zaměstnává fyzickou osobu v pracovněprávním vztahu.

(2) Zaměstnavatel vystupuje v pracovněprávních vztazích svým jménem a má odpovědnost vyplývající z těchto vztahů.

Dále si můžeme v § 11 zákoníku práce přečíst:

(1) Právní úkony právnické osoby, která je zaměstnavatelem v pracovněprávních vztazích, se řídí § 20 občanského zákoníku.

(2) Právní úkony fyzické osoby, která je zaměstnavatelem, činí v pracovněprávních vztazích tato osoba; místo ní je mohou činit osoby jí pověřené.

Obecné povinnosti zaměstnavatele spojené s BOZP

Rovněž si připomeňme legislativní požadavky, a to v odst. 1 a 5 § 101 zákoníku práce:

(1) Zaměstnavatel je povinen zajistit bezpečnost a ochranu zdraví zaměstnanců při práci s ohledem na rizika možného ohrožení jejich života a zdraví, která se týkají výkonu práce (dále jen "rizika“).

(5) Povinnost zaměstnavatele zajišťovat bezpečnost a ochranu zdraví při práci se vztahuje na všechny fyzické osoby, které se s jeho vědomím zdržují na jeho pracovištích.

Další povinnosti najdeme v odst. 1 , 3, 4 a 7 § 102 zákoníku práce:

(1) Zaměstnavatel je povinen vytvářet bezpečné a zdraví neohrožující pracovní prostředí a pracovní podmínky vhodnou organizací bezpečnosti a ochrany zdraví při práci a přijímáním opatření k předcházení rizikům.

(3) Zaměstnavatel je povinen soustavně vyhledávat nebezpečné činitele a procesy pracovního prostředí a pracovních podmínek, zjišťovat jejich příčiny a zdroje. Na základě tohoto zjištění vyhledávat a hodnotit rizika a přijímat opatření k jejich odstranění a provádět taková opatření, aby v důsledku příznivějších pracovních podmínek a úrovně rozhodujících faktorů práce dosud zařazené podle zvláštního právního předpisu jako rizikové mohly být zařazeny do kategorie nižší. K tomu je povinen pravidelně kontrolovat úroveň bezpečnosti a ochrany zdraví při práci, zejména stav výrobních a pracovních prostředků a vybavení pracovišť a úroveň rizikových faktorů pracovních podmínek a dodržovat metody a způsob zjištění a hodnocení rizikových faktorů podle zvláštního právního předpisu.

(4) Není-li možné rizika odstranit, je zaměstnavatel povinen je vyhodnotit a přijmout opatření k omezení jejich působení tak, aby ohrožení bezpečnosti a zdraví zaměstnanců bylo minimalizováno. Přijatá opatření jsou nedílnou a rovnocennou součástí všech činností zaměstnavatele na všech stupních řízení. O vyhledávání a vyhodnocování rizik a o přijatých opatřeních podle věty první vede zaměstnavatel dokumentaci.

(7) Zaměstnavatel je povinen přizpůsobovat opatření měnícím se skutečnostem, kontrolovat jejich účinnost a dodržování a zajišťovat zlepšování stavu pracovního prostředí a pracovních podmínek.

Povinnosti zaměstnavatele vůči zaměstnanci

Velmi důležitý právní požadavek najdeme v zákoníku práce, hlava II, POVINNOSTI ZAMĚSTNAVATELE, PRÁVA A POVINNOSTI ZAMĚSTNANCE, kde se v § 103 píše:

(1) Zaměstnavatel je povinen:

  1. nepřipustit, aby zaměstnanec vykonával zakázané práce a práce, jejichž náročnost by neodpovídala jeho schopnostem a zdravotní způsobilosti,

  2. informovat zaměstnance o tom, do jaké kategorie byla jím vykonávaná práce zařazena; kategorizaci prací upravuje zvláštní právní předpis32),

  3. zajistit, aby práce v případech stanovených zvláštním právním předpisem vykonávali pouze zaměstnanci, kteří mají platný zdravotní průkaz, kteří se podrobili zvláštnímu očkování nebo mají doklad o odolnosti vůči nákaze,

  4. sdělit zaměstnancům, které zařízení závodní preventivní péče jim poskytuje závodní preventivní péči a jakým druhům očkování a jakým preventivním prohlídkám a vyšetřením souvisejícím s výkonem práce jsou povinni se podrobit, umožnit zaměstnancům podrobit se těmto očkováním, prohlídkám a vyšetřením v rozsahu stanoveném zvláštními právními předpisy nebo rozhodnutím příslušného orgánu ochrany veřejného zdraví,

  5. nahradit zaměstnanci, který se podrobí preventivní prohlídce, vyšetření nebo očkování podle písmene d), případnou ztrátu na výdělku, a to ve výši průměrného výdělku, popřípadě ve výši rozdílu mezi náhradou mzdy nebo platu podle § 192 nebo nemocenským a průměrným výdělkem,

  6. zajistit zaměstnancům, zejména zaměstnancům v pracovním poměru na dobu určitou, zaměstnancům agentury práce dočasně přiděleným k výkonu práce k jinému zaměstnavateli, mladistvým zaměstnancům, podle potřeb vykonávané práce dostatečné a přiměřené informace a pokyny o bezpečnosti a ochraně zdraví při práci podle tohoto zákona a podle zvláštních právních předpisů32), zejména formou seznámení s riziky, výsledky vyhodnocení rizik a s opatřeními na ochranu před působením těchto rizik, která se týkají jejich práce a pracoviště,

  7. zabezpečit, aby zaměstnanci jiného zaměstnavatele vykonávající práce na jeho pracovištích obdrželi před jejich zahájením vhodné a přiměřené informace a pokyny k zajištění bezpečnosti a ochrany zdraví při práci a o přijatých opatřeních, zejména ke zdolávání požárů, poskytnutí první pomoci a evakuaci fyzických osob v případě mimořádných událostí,

  8. jestliže při práci přichází v úvahu expozice rizikovým faktorům poškozujícím plod v těle matky, informovat o tom zaměstnankyně. Těhotné zaměstnankyně, zaměstnankyně, které kojí, a zaměstnankyně-matky do konce devátého měsíce po porodu je dále povinen seznámit s riziky a jejich možnými účinky na těhotenství, kojení nebo na jejich zdraví a učinit potřebná opatření, včetně opatření, která se týkají snížení rizika psychické a fyzické únavy a jiných druhů psychické a fyzické zátěže spojené s vykonávanou prací, a to po celou dobu, kdy je to nutné k ochraně jejich bezpečnosti nebo zdraví dítěte,

  9. umožnit zaměstnanci nahlížet do evidence, která je o něm vedena v souvislosti se zajišťováním bezpečnosti a ochrany zdraví při práci,

  10. zajistit zaměstnancům poskytnutí první pomoci,

  11. nepoužívat takového způsobu odměňování prací, při kterém jsou zaměstnanci vystaveni zvýšenému nebezpečí újmy na zdraví a jehož použití by vedlo při zvyšování pracovních výsledků k ohrožení bezpečnosti a zdraví zaměstnanců,

  12. zajistit dodržování zákazu kouření na pracovištích stanoveného zvláštními právními předpisy. Informace a pokyny je třeba zajistit vždy při přijetí zaměstnance, při jeho převedení, přeložení nebo změně pracovních podmínek, změně pracovního prostředí, zavedení nebo změně pracovních prostředků, technologie a pracovních postupů.

O informacích a pokynech je zaměstnavatel povinen vést dokumentaci.

Zajištění školení

(2) Zaměstnavatel je povinen zajistit zaměstnancům školení o právních a ostatních předpisech k zajištění bezpečnosti a ochrany zdraví při práci, které doplňují jejich odborné předpoklady a požadavky pro výkon práce, které se týkají jimi vykonávané práce a vztahují se k rizikům, s nimiž může přijít zaměstnanec do styku na pracovišti, na kterém je práce vykonávána, a soustavně vyžadovat a kontrolovat jejich dodržování. Školení podle věty první zaměstnavatel zajistí při nástupu zaměstnance do práce, a dále:

  1. při změně:

    1. pracovního zařazení,

    2. druhu práce,

  2. při zavedení nové technologie nebo změny výrobních a pracovních prostředků nebo změny technologických anebo pracovních postupů,

  3. v případech, které mají nebo mohou mít podstatný vliv na bezpečnost a ochranu zdraví při práci.

(4) Zaměstnavatel je povinen těhotným zaměstnankyním, zaměstnankyním, které kojí, a zaměstnankyním-matkám do konce devátého měsíce po porodu přizpůsobovat na pracovišti prostory pro jejich odpočinek.

(5) Zaměstnavatel je povinen pro zaměstnance, který je osobou se zdravotním postižením, zajišťovat na svůj náklad technickými a organizačními opatřeními, zejména potřebnou úpravu pracovních podmínek, úpravu pracovišť, zřízení chráněných pracovních míst a dílen, zaškolení nebo zaučení těchto zaměstnanců a zvyšování jejich kvalifikace při výkonu jejich pravidelného zaměstnání.

V odstavci 2 § 248 zákoníku práce se naopak dočteme:

(2) Zaměstnavatel je z důvodu ochrany majetku oprávněn v nezbytném rozsahu provádět kontrolu věcí, které k němu zaměstnanci vnášejí nebo od něho odnášejí, popřípadě provádět prohlídky zaměstnanců. Při kontrole a prohlídce podle věty první musí být dodržena ochrana osobnosti podle § 11 občanského zákoníku. Osobní prohlídku může provádět pouze fyzická osoba stejného pohlaví.

Práva a povinnosti zaměstnance

Práva a povinnosti zaměstnance jsou stanoveny rovněž v § 106 zákoníku práce:

(1) Zaměstnanec má právo na zajištění bezpečnosti a ochrany zdraví při práci, na informace o rizicích jeho práce a na informace o opatřeních na ochranu před jejich působením; informace musí být pro zaměstnance srozumitelná.

(2) Zaměstnanec je oprávněn odmítnout výkon práce, o níž má důvodně za to, že bezprostředně a závažným způsobem ohrožuje jeho život nebo zdraví, popřípadě život nebo zdraví jiných fyzických osob; takové odmítnutí není možné posuzovat jako nesplnění povinnosti zaměstnance.

Bezpečné pracovní prostředí

(3) Zaměstnanec má právo a povinnost podílet se na vytváření bezpečného a zdraví neohrožujícího pracovního prostředí, a to zejména uplatňováním stanovených a zaměstnavatelem přijatých opatření a svou účastí na řešení otázek bezpečnosti a ochrany zdraví při práci.

(4) Každý zaměstnanec je povinen dbát podle svých možností o svou vlastní bezpečnost, o své zdraví i o bezpečnost a zdraví fyzických osob, kterých se bezprostředně dotýká jeho jednání, případně opomenutí při práci. Znalost základních povinností vyplývajících z právních a ostatních předpisů a požadavků zaměstnavatele k zajištění bezpečnosti a ochrany zdraví při práci je nedílnou a trvalou součástí kvalifikačních předpokladů zaměstnance. Zaměstnanec je povinen:

  1. účastnit se školení zajišťovaných zaměstnavatelem zaměřených na bezpečnost a ochranu zdraví při práci včetně ověření svých znalostí,

  2. podrobit se preventivním prohlídkám, vyšetřením nebo očkováním stanoveným zvláštními právními předpisy,

  3. dodržovat právní a ostatní předpisy a pokyny zaměstnavatele k zajištění bezpečnosti a ochrany zdraví při práci, s nimiž byl řádně seznámen, a řídit se zásadami bezpečného chování na pracovišti a informacemi zaměstnavatele,

  4. dodržovat při práci stanovené pracovní postupy, používat stanovené pracovní prostředky, dopravní prostředky, osobní ochranné pracovní prostředky a ochranná zařízení a svévolně je neměnit a nevyřazovat z provozu,

  5. nepožívat alkoholické nápoje a nezneužívat jiné návykové látky na pracovištích zaměstnavatele a v pracovní době i mimo tato pracoviště, nevstupovat pod jejich vlivem na pracoviště zaměstnavatele a nekouřit na pracovištích a v jiných prostorách, kde jsou účinkům kouření vystaveni také nekuřáci. Zákaz požívání alkoholických nápojů se nevztahuje na zaměstnance, kteří pracují v nepříznivých mikroklimatických podmínkách, pokud požívají pivo se sníženým obsahem alkoholu, a na zaměstnance, u nichž je požívání těchto nápojů součástí plnění pracovních úkolů nebo je s plněním těchto úkolů obvykle spojeno,

  6. oznamovat svému nadřízenému vedoucímu zaměstnanci nedostatky a závady na pracovišti, které ohrožují nebo by bezprostředně a závažným způsobem mohly ohrozit bezpečnost nebo zdraví zaměstnanců při práci, zejména hrozící vznik mimořádné události nebo nedostatky organizačních opatření, závady nebo poruchy technických zařízení a ochranných systémů určených k jejich zamezení,

  7. s ohledem na druh jím vykonávané práce se podle svých možností podílet na odstraňování nedostatků zjištěných při kontrolách orgánů, kterým přísluší výkon kontroly podle zvláštních právních předpisů,

  8. bezodkladně oznamovat svému nadřízenému vedoucímu zaměstnanci svůj pracovní úraz, pokud mu to jeho zdravotní stav dovolí, a pracovní úraz jiného zaměstnance, popřípadě úraz jiné fyzické osoby, jehož byl svědkem, a spolupracovat při objasňování jeho příčin,

  9. podrobit se na pokyn oprávněného vedoucího zaměstnance písemně určeného zaměstnavatelem zjištění, zda není pod vlivem alkoholu nebo jiných návykových látek.

Důraz na prevenci

Další povinnosti zaměstnanců nalezneme v § 249 zákoníku práce:

(1) Zaměstnanec je povinen počínat si tak, aby nedocházelo ke škodám na zdraví, majetku ani k bezdůvodnému obohacení. Hrozí-li škoda, je povinen na ni upozornit nadřízeného vedoucího zaměstnance.

(2) Je-li k odvrácení škody hrozící zaměstnavateli neodkladně třeba zákroku, je zaměstnanec povinen zakročit; nemusí tak učinit, brání-li mu v tom důležitá okolnost nebo jestliže by tím vystavil vážnému ohrožení sebe nebo ostatní zaměstnance, popřípadě osoby blízké podle § 116 občanského zákoníku.

(3) Zjistí-li zaměstnanec, že nemá vytvořeny potřebné pracovní podmínky, je povinen oznámit tuto skutečnost nadřízenému vedoucímu zaměstnanci.

Odpovědnost za škodu

V § 250 a 251 zákoníku práce je uvedeno:

§ 250

(1) Zaměstnanec odpovídá zaměstnavateli za škodu, kterou mu způsobil zaviněným porušením povinností při plnění pracovních úkolů nebo v přímé souvislosti s ním.

(2) Byla-li škoda způsobena také porušením povinností ze strany zaměstnavatele, odpovědnost zaměstnance se poměrně omezí.

(3) Zaměstnavatel je povinen prokázat zavinění zaměstnance, s výjimkou případů uvedených v § 252 a 255.

§ 251

(1) Na zaměstnanci, který vědomě neupozornil nadřízeného vedoucího zaměstnance na škodu hrozící zaměstnavateli nebo nezakročil proti hrozící škodě, ačkoliv by tím bylo zabráněno bezprostřednímu vzniku škody, může zaměstnavatel požadovat, aby se podílel na náhradě škody, která byla zaměstnavateli způsobena, a to v rozsahu přiměřeném okolnostem případu, pokud ji není možné nahradit jinak.

(2) Zaměstnanec neodpovídá za škodu, kterou způsobil při odvracení škody hrozící zaměstnavateli nebo nebezpečí přímo hrozícího životu nebo zdraví, jestliže tento stav sám úmyslně nevyvolal a počínal si přitom způsobem přiměřeným okolnostem.

Další povinnosti zaměstnanců

Povinnosti zaměstnanců jsou definovány rovněž i v § 301 zákoníku práce, a to následovně:

Zaměstnanci jsou povinni:

  1. pracovat řádně podle svých sil, znalostí a schopností, plnit pokyny nadřízených vydané v souladu s právními předpisy a spolupracovat s ostatními zaměstnanci,

  2. využívat pracovní dobu a výrobní prostředky k vykonávání svěřených prací, plnit kvalitně a včas pracovní úkoly,

  3. dodržovat právní předpisy vztahující se k práci jimi vykonávané; dodržovat ostatní předpisy vztahující se k práci jimi vykonávané, pokud s nimi byli řádně seznámeni,

  4. řádně hospodařit s prostředky svěřenými jim zaměstnavatelem a střežit a ochraňovat majetek zaměstnavatele před poškozením, ztrátou, zničením a zneužitím a nejednat v rozporu s oprávněnými zájmy zaměstnavatele.

Povinnosti fyzických osob

Další povinnosti, avšak všech fyzických osob, nám stanoví i zákon o požární ochraně č. 133/1985 Sb., v platném znění, kde je v § 17 uvedeno

(1) Fyzická osoba je povinna:

  1. počínat si tak, aby nedocházelo ke vzniku požáru, zejména při používání tepelných, elektrických, plynových a jiných spotřebičů a komínů, při skladování a používání hořlavých nebo požárně nebezpečných látek, manipulaci s nimi nebo s otevřeným ohněm či jiným zdrojem zapálení,

  2. zajistit přístup k rozvodným zařízením elektrické energie a k uzávěrům plynu, vody a topení,

  3. plnit příkazy a dodržovat zákazy týkající se požární ochrany na označených místech,

  4. obstarat požárně bezpečnostní zařízení a věcné prostředky požární ochrany v rozsahu stanoveném zákonem,

  5. zajistit přístup k požárně bezpečnostním zařízením a věcným prostředkům požární ochrany za účelem jejich včasného použití a dále udržovat tato zařízení a věcné prostředky v provozuschopném stavu; uvedené povinnosti se vztahují na osoby, které mají uvedená zařízení a věcné prostředky ve vlastnictví či užívání,

  6. vytvářet v prostorách ve svém vlastnictví nebo užívání podmínky pro rychlé zdolání požáru a pro záchranné práce,

  7. umožnit orgánu státního požárního dozoru provedení potřebných úkonů při zjišťování příčiny vzniku požáru a v odůvodněných případech mu bezúplatně poskytnout výrobky nebo vzorky k provedení požárně technické expertizy ke zjištění příčiny vzniku požáru,

  8. oznamovat bez odkladu územně příslušnému hasičskému záchrannému sboru každý požár vzniklý při činnostech, které vykonává, nebo v prostorách, které vlastní nebo užívá,

  9. dodržovat podmínky nebo návody vztahující se k požární bezpečnosti výrobků nebo činností.

Snahou autorky tohoto článku nebylo dosažení výčtu všech povinností, které stanoví naše platná legislativa zaměstnavateli, vedoucím pracovníkům a zaměstnancům, ale učinit si základní náhled o této problematice.

Odpovědnost všech v rámci organizace

Pokud jste si přečetli důkladně výše uvedené právní požadavky, určitě jste došli k názoru, že každá organizace by měla opravdu jak sdělovat, tak i propagovat, že BOZP je odpovědností každého v rámci organizace a ne pouze těch, kteří jsou určeni jako odpovědní v rámci systému managementu BOZP.

Při přebírání odpovědnosti za aspekty BOZP v rámci své činnosti je třeba, aby všechny osoby braly na zřetel nejen svou vlastní bezpečnost, ale také bezpečnost ostatních.

V této části článku normy OHSAS 18001 nedošlo k žádné výrazné změně oproti původní specifikaci OHSAS 18001.

4.4.1 Struktura a odpovědnost 4.4.1 Zdroje, úlohy, odpovědnost, povinnost a pravomoc
Organizace musí jmenovat člena vrcholového vedení (např. ve velkých organizacích člena představenstva nebo výkonného výboru) se zvláštní odpovědností za zajištění toho, že management BOZP je řádně zaveden a prováděn ve shodě s požadavky na všech místech a ve všech oblastech provozu v rámci organizace.

Představitel vedení organizace musí mít stanoveny úlohy, odpovědnosti a pravomoc pro:

a) zajištění, že požadavky na systém managementu BOZP jsou vytvořeny, zavedeny a udržovány ve shodě s touto specifikací OHSAS;
b) zajištění, že zprávy o výkonnosti/plnění systému managementu BOZP jsou předkládány vrcholovému vedení k přezkoumání a jako základ zlepšování systému managementu BOZP.
Organizace musí jmenovat člena (členy) vrcholového vedení se zvláštní odpovědností za BOZP, bez ohledu na další odpovědnosti, a se stanovenými úlohami a pravomocemi, aby zajistila:

a) vytvoření, implementování a udržování systému managementu BOZP v souladu s touto normou OHSAS,
b) předkládání zpráv o výkonnosti systému managementu BOZP vrcholového vedení k přezkoumání a jejich používání jako základu pro zlepšování systému managementu BOZP.

POZNÁMKA 2:
Představitel vrcholového vedení (např. ve velké organizaci člen představenstva nebo výkonného výboru) smí delegovat některé ze svých úkolů na podřízeného zástupce vedení, přičemž si ponechává celkovou odpovědnost.

Představitel vedení

Norma OHSAS 18001 požaduje, aby představitel vedení pro oblast BOZP byl členem vrcholového vedení. Je to dáno z toho důvodu, aby tato osoba neměla pouze povinnosti a odpovědnosti, ale aby rovněž měla pravomoc i v oblasti zajištění BOZP v organizaci. V praxi si můžeme ověřit například z organizačního schématu (vzor organizačního schématu naleznete v příloze č. 2), zda je představitel vedení skutečně člen top managementu.

Norma nepožaduje, aby představitel vedení sám zpracovával zprávu o přezkoumání systému managementu vedením, ale aby se aktivně účastnil periodických přezkoumání. Pro jeho funkci je nezbytné, aby byl pravidelně informován o výkonnosti systému managementu BOZP v organizaci.

V poznámce č. 2 si můžete přečíst, že norma připouští, aby bylo jmenováno více představitelů vedení. To je vhodné ve velkých společnostech, např. pokud má firma více hal nebo je společnost na více místech.

Níže je uveden vzor jmenování představitele vedení pro BOZP

Jmenování představitele vedení pro BOZP

Představitelem vedení pro oblast BOZP byl rozhodnutím vedení společnosti ustanoven XXX. Představitel vedení je členem vrcholového vedení firmy a bez ohledu na jiné funkční povinnosti zodpovídá za:

  • vytvoření, zavedení a udržování systému managementu BOZP v souladu s normou ČSN OHSAS 18001:2008 ,

  • předkládání zpráv o výkonnosti/plnění systému managementu vedení firmy k přezkoumání a jako podklad pro jeho zlepšování a stanovování cílů BOZP,

  • kontrolu dodržování požadavků normy ČSN OHSAS 18001:2008 formou interních prověrek managementu včetně plnění přijatých opatření k nápravě,

  • podporu povědomí o požadavcích zákazníků a právních požadavcích na produkty a procesy včetně požadavků na BOZP a PO,

  • za komunikaci s externími stranami v záležitostech vztahujících se k BOZP a PO.

Má pravomoc k:

  • přerušení výrobního procesu v případech, kdy výrobky, výrobní činnost, výrobní zařízení či služby neodpovídají požadavkům na BOZP a PO,

  • ukládání nápravných opatření k odstranění nedostatků v oblasti BOZP,

  • dohlížení na realizaci a účinnost opatření k nápravě ve výše uvedených oblastech SM,

  • nařízení neplánovaných interních prověrek SM,

  • zúčastnit se porad vedení, kde bude prezentována výkonnost systému managementu BOZP.

V xxx dne xxxx

Ředitel společnosti

Níže je uveden i vzor jmenování zástupce zaměstnanců pro oblast BOZP

Jmenování zástupce zaměstnanců pro oblast BOZP

Zástupcem zaměstnanců pro oblast BOZP byl rozhodnutím vedení společnosti ustanoven xxx, a to na základě voleb, které se uskutečnily v naší organizaci dne xxx.

Zástupce zaměstnanců bez ohledu na jiné funkční povinnosti a odpovědnosti má pravomoc:

  • ke konzultacím o vytváření a přezkoumání politiky BOZP, vytváření a přezkoumání cílů BOZP a o postupech pro řízení rizik, včetně provádění identifikace nebezpečí, hodnocení rizik a řízení rizik,

  • ke konzultacím v souvislosti se změnami, jež mají vliv na BOZP na pracovišti, jako je např. zavádění nových nebo upravovaných strojů, zařízení, přípravků, pracoviště, materiálů, technologií, procesů do provozu,

  • k účasti na vyšetřování incidentů včetně kontrol BOZP.

V xxx dne xxx

Ředitel společnosti

Dále je uveden i vzor pověření do funkce interního auditora

Pověření do funkce interního auditora BOZP společnosti XYZ

Já, XXX, jako představitel vedení pro BOZP společnosti XYZ

pověřuji na základě splnění požadavků na interní auditory BOZP tímto pana xxx, datum narození xxx,

interním auditorem BOZP
naší společnosti.

Požadavky na interní auditory BOZP:
Auditoři mohou být vyškoleni externě absolvováním kurzu u akreditované společnosti, případně absolvováním vnitropodnikového kurzu školitelem s příslušnou kvalifikací. Musí mít znalost normy ČSN OHSAS 18001:2008 a ISO 19011 a splňovat požadavky uvedené ve vnitropodnikové směrnici "Interní audity“.

Toto pověření je účinné ode dne 1. 2. 2010.

V XXX dne XXX

.......................................
xxx
Představitel vedení pro BOZP

.......................................
xxx
Interní auditor SMBOZP

Nyní se budeme věnovat poslední (třetí) části kapitoly 4.4.1.

4.4.1 Struktura a odpovědnost 4.4.1 Zdroje, úlohy, odpovědnost, povinnost a pravomoc
Všichni ti, kteří mají manažerskou odpovědnost, musejí prokazovat svůj závazek k neustálému zlepšování výkonnosti BOZP. Všechny osoby řízení organizací musí být informovány, kdo je jmenovaným představitelem vrcholového vedení.

Všichni ti, kteří mají manažerskou odpovědnost, musí prokazovat osobní angažovanost a aktivitu k neustálému zlepšování výkonnosti v oblasti BOZP, včetně dodržování požadavků kladených na organizaci z hlediska BOZP.

Povědomí o představiteli vedení

Pokud si i zde provedeme srovnání mezi požadavky původní specifikace a novou normou, je ihned zřetelné, že zde máme zcela nový požadavek, a to v tom smyslu, abychom prokázali, že všechny osoby řízené organizací ví, kdo je představitelem vedení pro BOZP. To lze například zajistit:

  • prostřednictvím pravidelných školení BOZP (doplnit do osnovy),

  • informováním o této skutečnosti na poradách, při setkáních se zaměstnanci,

  • uvedením ve firemním časopise,

  • informací na nástěnkách,

  • uvedením na intranetu organizace.

Rovněž si připomeňme legislativní požadavky. Objasněme si, kdo to je dle zákoníku práce vedoucí pracovník. Odpověď nalezneme v odst. 4 § 11:

Povinnosti vedoucích pracovníků dle zákoníku práce

Vedoucími zaměstnanci zaměstnavatele se rozumějí zaměstnanci, kteří jsou na jednotlivých stupních řízení zaměstnavatele oprávněni stanovit a ukládat podřízeným zaměstnancům pracovní úkoly, organizovat, řídit a kontrolovat jejich práci a dávat jim k tomu účelu závazné pokyny.

V odst. 2 § 101 zákoníku práce si můžeme přečíst:

Péče o bezpečnost a ochranu zdraví při práci uložená zaměstnavateli podle odstavce 1 nebo zvláštními právními předpisy je nedílnou a rovnocennou součástí pracovních povinností vedoucích zaměstnanců na všech stupních řízení v rozsahu pracovních míst, která zastávají.

Také je uvedeno v § 302:

Vedoucí zaměstnanci jsou dále povinni:

  1. řídit a kontrolovat práci podřízených zaměstnanců a hodnotit jejich pracovní výkonnost a pracovní výsledky,

  2. co nejlépe organizovat práci,

  3. vytvářet příznivé pracovní podmínky a zajišťovat bezpečnost a ochranu zdraví při práci,

  4. zabezpečovat odměňování zaměstnanců podle tohoto zákona,

  5. vytvářet podmínky pro zvyšování odborné úrovně zaměstnanců,

  6. zabezpečovat dodržování právních a vnitřních předpisů,

  7. zabezpečovat přijetí opatření k ochraně majetku zaměstnavatele.

Zlepšování výkonnosti v oblasti BOZP

Je tedy vhodné zajistit a především prokázat, že všichni vedoucí pracovníci se zajímají o problematiku BOZP na svých pracovištích a snaží se o neustálé zlepšování výkonnosti v oblasti BOZP.

Vedoucí pracovníci to mohou prokázat:

  • tím, že na poradách oddělení je jedním z bodů i oblast BOZP,

  • tak, že budou hodnotit podřízené i pomocí kritéria "BOZP“,

  • motivováním zaměstnanců k podávání "dobrých nápadů“ týkajících se zlepšování BOZP v organizaci,

  • prováděním pravidelných prověrek BOZP a vedením záznamů o těchto kontrolách (např. do knihy kontrol BOZP),

  • zpracováním záznamů o neplnění povinností z hlediska BOZP na pracovištích,

  • účastí na vyšetřování incidentů,

  • prostřednictvím pravidelných kontrol svých podřízených na alkohol či jiné návykové látky.

V každé situaci (na každé směně) musí být zřejmé, kdo je vedoucí zaměstnanec na pracovišti.

Kdo odpovídá za BOZP na pracovišti

Na závěr této kapitoly si připomeňme, že dle naší platné legislativy je to zaměstnavatel a vedoucí pracovník, kdo zodpovídá za bezpečnost a ochranu zdraví při práci na pracovišti. Je nutné se zbavit mylné představy, že za bezpečnost v organizaci odpovídá bezpečnostní technik. Tato kapitola normy nám umožňuje nastavit ve společnosti takový systém řízení BOZP, který prokáže, že plníme legislativní požadavky, ale usilujeme i o neustálé zlepšování našeho systému řízení BOZP.

Příloha č. 1 VZOR - popis pracovního místa

Popis pracovního místa

Jméno a příjmení: Pracovní zařazení/funkce:

.
FUNKČNÍ POSTAVENÍ:
NADŘÍZENOST:
PODŘÍZENOST:

ZASTUPITELNOST:
KOHO ZASTUPUJE NEBO MŮŽE
ZASTUPOVAT:
KDO JE JEHO ZÁSTUPCE:
Požadovaná min. kvalifikace/skutečnost:
Požadovaná praxe v oboru/skutečnost: Očekávané dovednosti /skutečnost:

.
Pracovní náplň:
  • řízení osobního vozidla pro potřebu firmy,

  • je oprávněn organizovat a řídit činnost externích dodavatelů technického oddělení a dávat jim k tomu účelu závazné pokyny,

  • odpovídá za technický stav, servis a údržbu zařízení stabilního hasicího zařízení (dále SHZ), elektrické požární signalizace (dále EPS), zařízení dálkového přenosu (dále ZDP), detekce úniku plynu na všech pracovištích kromě kotelen, orientační osvětlení, vnější a vnitřní zdroje požární vody, zařízení na odvod tepla a kouře, zařízení k omezení šíření požáru,

  • odpovídá za technický stav, servis a údržbu věcných prostředků a požárně bezpečnostních zařízení závodu,

  • odpovídá za technický stav, servis a údržbu zdvihacích zařízení, tlakových nádob stabilních, laserů, tvářecích strojů,

  • odpovídá za návrh opatření a jejich zajištění v případě nefunkčnosti požárně bezpečnostních zařízení,

  • koordinuje zajištění BOZP mezi zaměstnanci a externími dodavateli,

  • odpovídá za nákup nových strojů v souladu s požadavky legislativy v oblasti BOZP,

  • odpovídá za provádění, ohlášení a zajištění stavebních prací v celém areálu, za předání pracoviště nebo staveniště dodavatelům,

  • vykonává funkci osoby odborně způsobilé v prevenci rizik a technika požární ochrany,

  • vykonává funkci odpadového hospodáře v souladu se zákonem o odpadech,

  • vystavuje příkaz pro práce se zvýšeným nebezpečím požáru.

Další požadavky, úkoly a zodpovědnost:

.
Datum: Podpis majitele společnosti: Podpis pracovníka:
.

Příloha č. 2 - Vzor organizačního schématu

Implementace a provoz

V této části si přiblížíme, jaké jsou rozdíly viz 4.4.2 Kompetence, výcvik a vědomí závažnosti této nové normy ČSN OHSAS 18001:2008 a předchozí verze specifikace OHSAS 18001.

Pro správné porozumění si rozdělíme požadavky viz 4.4.2 normy ČSN OHSAS 18001 na dvě části.

První část článku 4.4.2:

OHSAS 18001:1999 ČSN OHSAS 18001:2008
4.4 Zavedení a provoz 4.4 Implementace a provoz
4.4.2 Výcvik, povědomí a odborná způsobilost 4.4.2 Kompetence, výcvik a vědomí závažnosti
Zaměstnanci musí být odborně způsobilí k provádění činností, které mohou mít dopad na BOZP na pracovišti. Odborná způsobilost musí být stanovena na základě odpovídajícího vzdělání, výcviku a/nebo zkušeností. Organizace musí zajistit, aby osoby řízené organizací, vykonávající úkony, které mohou ovlivnit BOZP, byly způsobilé na základě odpovídajícího vzdělání, výcviku nebo zkušeností, a musí uchovávat s tím spojené záznamy.

Organizace musí určit potřeby výcviku související s riziky v oblasti BOZP a systémem managementu BOZP. Musí poskytovat výcvik nebo přijmout jiná opatření, aby byly tyto potřeby splněny, hodnotit efektivnost výcviku a přijatých opatření a musí uchovávat s tím spojené záznamy.

Osoby řízené organizací

Pokud si porovnáme text specifikace OHSAS 18001 z roku 1999 s novou normou OHSAS 18001, je už na první pohled znát, že je v nové normě zaveden pojem "osoby řízené organizací“, což zahrnuje nejen zaměstnance, ale i brigádníky, agenturní pracovníky, jakož i dodavatele, jejichž zaměstnanci provádějí nějakou činnost v organizaci.

Dále byly doplněny do aktualizované normy nové požadavky. Pro její lepší pochopení si zkusme podrobněji popsat obsah první části článku 4.4.2.

Kompetence a výcvik

Aby osoby řízené organizací mohly bezpečně pracovat či vykonávat jakékoliv úkony v rámci organizace, musí si být vědomy rizik v oblasti BOZP, svých rolí a odpovědností, musí být dostatečně proškoleny a nezbytně kompetentní k provádění úkolů, které mohou mít vliv na BOZP.

Je tedy nezbytné, aby společnost vyžadovala po svých dodavatelích, aby prokázali, že jejich zaměstnanci jsou kompetentní (tedy že prokážou schopnost zaměstnanců využívat své znalosti a dovednosti) a/nebo mají odpovídající výcvik (např. prostřednictvím dokladů o vzdělání či kvalifikaci).

Při stanovení, které činnosti nebo úkoly mohou mít vliv na BOZP, by organizace měla vzít v úvahu ty činnosti nebo úkoly, které:

  • byly určeny posouzením rizik v organizaci a které přestavují riziko v oblasti BOZP na daném pracovišti,

  • jsou ručeny k řízení rizik v oblasti BOZP,

  • jsou specifické pro zavádění systému managementu BOZP.

Při stanovení kompetence požadované pro určitý úkol by mělo být zohledněno následující:

  • úlohy a odpovědnosti na pracovišti,

  • složitost a požadavky na řídící pokyny a postupy,

  • výsledky vyšetřování incidentů (nehod, havarijních situací, skoronehod apod.),

  • požadavky právních předpisů a jiných požadavků,

  • další schopnosti zaměstnanců (gramotnost, jazykové znalosti atd.).

Organizace by se měla zaměřit na kompetence těch osob, které budou:

  • posuzovat rizika BOZP,

  • posuzovat expozice,

  • provádět audity,

  • představiteli vrcholového vedení,

  • vyšetřovat incidenty,

  • pozorovat chování osob,

  • plnit úkoly identifikované při posouzení rizika, jež mohou představovat nebezpečí.

Požadavky na kompetence v oblasti BOZP by měly být vzaty v úvahu ještě před přijetím nového pracovníka do zaměstnání nebo na danou pozici (v případě přesunu v rámci organizace).

Co se týče legislativních požadavků dotýkajících se kompetencí a výcviku, pak je nutné vzít v úvahu následující požadavky zákoníku práce a níže uvedených právních předpisů:

Legislativní požadavky

Zákoník práce § 13, odst. 2 písm. e)

Zaměstnavatel musí seznamovat zaměstnance s kolektivní smlouvou a vnitřními předpisy.

Zákoník práce § 37, odst. 5

Při nástupu do práce musí být zaměstnanec seznámen s pracovním řádem a s právními a ostatními předpisy k zajištění bezpečnosti a ochrany zdraví při práci, jež musí při své práci dodržovat. Zaměstnanec musí být také seznámen s kolektivní smlouvou a vnitřními předpisy.

Zákoník práce § 94, odst. 2

Zaměstnavatel je povinen zajistit, aby zaměstnanec pracující v noci byl vyšetřen lékařem závodní preventivní péče:

  1. před zařazením na noční práci,

  2. pravidelně podle potřeby, nejméně však jednou ročně,

  3. kdykoliv během zařazení na noční práci, pokud o to zaměstnanec požádá.

Zákoník práce § 103, odst. 1 písm. a)

Zaměstnavatel je povinen:

  1. nepřipustit, aby zaměstnanec vykonával zakázané práce a práce, jejichž náročnost by neodpovídala jeho schopnostem a zdravotní způsobilosti.

(Kde je v zákoníku práce § 32 uvedeno: "V případech stanovených zvláštním právním předpisem je zaměstnavatel povinen zajistit, aby se fyzická osoba před uzavřením pracovní smlouvy podrobila vstupní lékařské prohlídce.“)

Dále je uvedeno v zákoníku práce § 103, odst. 1:

  1. b) Informovat zaměstnance o tom, do jaké kategorie byla jím vykonávaná práce zařazena; kategorizaci prací upravuje zvláštní právní předpis;
  2. c) zajistit, aby práce v případech stanovených zvláštním právním předpisem vykonávali pouze zaměstnanci, kteří mají platný zdravotní průkaz, kteří se podrobili zvláštnímu očkování nebo mají doklad o odolnosti vůči nákaze;
  3. d) sdělit zaměstnancům, které zařízení závodní preventivní péče jim poskytuje závodní preventivní péči a jakým druhům očkování a jakým preventivním prohlídkám a vyšetřením souvisejícím s výkonem práce jsou povinni se podrobit, umožnit zaměstnancům podrobit se těmto očkováním, prohlídkám a vyšetřením v rozsahu stanoveném zvláštními právními předpisy nebo rozhodnutím příslušného orgánu ochrany veřejného zdraví;
  4. e) nahradit zaměstnanci, který se podrobí preventivní prohlídce, vyšetření nebo očkování podle písmene d), případnou ztrátu na výdělku, a to ve výši průměrného výdělku, popřípadě ve výši rozdílu mezi náhradou mzdy nebo platu podle § 192 nebo nemocenským a průměrným výdělkem;
  5. f) zajistit zaměstnancům, zejména zaměstnancům v pracovním poměru na dobu určitou, zaměstnancům agentury práce dočasně přiděleným k výkonu práce k jinému zaměstnavateli, mladistvým zaměstnancům, podle potřeb vykonávané práce dostatečné a přiměřené informace a pokyny o bezpečnosti a ochraně zdraví při práci podle tohoto zákona a podle zvláštních právních předpisů, zejména formou seznámení s riziky, výsledky vyhodnocení rizik a s opatřeními na ochranu před působením těchto rizik, která se týkají jejich práce a pracoviště;
  6. g) zabezpečit, aby zaměstnanci jiného zaměstnavatele vykonávající práce na jeho pracovištích obdrželi před jejich zahájením vhodné a přiměřené informace a pokyny k zajištění bezpečnosti a ochrany zdraví při práci a o přijatých opatřeních, zejména ke zdolávání požárů, poskytnutí první pomoci a evakuace fyzických osob v případě mimořádných událostí;
  7. h) jestliže při práci přichází v úvahu expozice rizikovým faktorům poškozujícím plod v těle matky, informovat o tom zaměstnankyně. Těhotné zaměstnankyně, zaměstnankyně, které kojí, a zaměstnankyně-matky do konce devátého měsíce po porodu je dále povinen seznámit s riziky a jejich možnými účinky na těhotenství, kojení nebo na jejich zdraví a učinit potřebná opatření, včetně opatření, jež se týkají snížení rizika psychické a fyzické únavy a jiných druhů psychické a fyzické zátěže spojené s vykonávanou prací, a to po celou dobu, kdy je to nutné k ochraně jejich bezpečnosti nebo zdraví dítěte.

(2) Zaměstnavatel je povinen zajistit zaměstnancům školení o právních a ostatních předpisech k zajištění bezpečnosti a ochrany zdraví při práci, jež doplňují jejich odborné předpoklady a požadavky pro výkon práce, které se týkají jimi vykonávané práce a vztahují se k rizikům, s nimiž může přijít zaměstnanec do styku na pracovišti, na kterém je práce vykonávána, a soustavně vyžadovat a kontrolovat jejich dodržování. Školení podle věty první zaměstnavatel zajistí při nástupu zaměstnance do práce a dále:

  1. při změně:

    1. pracovního zařazení,

    2. druhu práce,

  2. při zavedení nové technologie nebo změny výrobních a pracovních prostředků či změny technologických anebo pracovních postupů,

  3. v případech, které mají nebo mohou mít podstatný vliv na bezpečnost a ochranu zdraví při práci.

(3) Zaměstnavatel určí obsah a četnost školení o právních a ostatních předpisech k zajištění bezpečnosti a ochrany zdraví při práci, způsob ověřování znalostí zaměstnanců a vedení dokumentace o provedeném školení. Vyžaduje-li to povaha rizika a jeho závažnost, musí být školení podle věty první pravidelně opakováno; v případech uvedených v odstavci 2 písm. c) musí být školení provedeno bez zbytečného odkladu.

Zákoník práce § 106, odst. 4

Každý zaměstnanec je povinen dbát podle svých možností o svou vlastní bezpečnost, o své zdraví i o bezpečnost a zdraví fyzických osob, kterých se bezprostředně dotýká jeho jednání, případně opomenutí při práci. Znalost základních povinností vyplývajících z právních a ostatních předpisů a požadavků zaměstnavatele k zajištění bezpečnosti a ochrany zdraví při práci je nedílnou a trvalou součástí kvalifikačních předpokladů zaměstnance. Zaměstnanec je povinen:

  1. účastnit se školení zajišťovaných zaměstnavatelem zaměřených na bezpečnost a ochranu zdraví při práci včetně ověření svých znalostí,

  2. podrobit se preventivním prohlídkám, vyšetřením nebo očkováním stanoveným zvláštními právními předpisy,

  3. dodržovat právní a ostatní předpisy a pokyny zaměstnavatele k zajištění bezpečnosti a ochrany zdraví při práci, s nimiž byl řádně seznámen, a řídit se zásadami bezpečného chování na pracovišti a informacemi zaměstnavatele.

Zákoník práce § 108, odst. 2 písm. c)

Zaměstnavatel je povinen odborové organizaci nebo zástupci pro oblast bezpečnosti a ochrany zdraví při práci anebo přímo zaměstnancům umožnit projednat organizaci školení o právních a ostatních předpisech k zajištění bezpečnosti a ochrany zdraví při práci.

Zákoník práce § 108, odst. 6

Zaměstnavatel je povinen odborové organizaci a zástupci pro oblast bezpečnosti a ochrany zdraví při práci zajistit školení umožňující jim řádný výkon jejich funkce a zpřístupnit jim právní a ostatní předpisy k zajištění bezpečnosti a ochrany zdraví při práci.

Zákoník práce § 228, odst. 1

Zaměstnance, který vstupuje do zaměstnání bez kvalifikace, je zaměstnavatel povinen zaškolit nebo zaučit; zaškolení nebo zaučení se považuje za výkon práce, za který přísluší zaměstnanci mzda nebo plat.

Zákoník práce § 228, odst. 2

Zaměstnavatel je povinen zaškolit nebo zaučit zaměstnance, který přechází z důvodů na straně zaměstnavatele na nové pracoviště nebo na nový druh práce, pokud je to nezbytné.

V nařízení vlády č. 495/2001 Sb., kterým se stanoví rozsah a bližší podmínky poskytování osobních ochranných pracovních prostředků, mycích, čisticích a dezinfekčních prostředků je uvedeno v § 3, odst. 3: "Zaměstnanci musí být s používáním ochranných prostředků seznámeni.“

Ve vyhlášce Českého úřadu bezpečnosti práce a Českého báňského úřadu o odborné způsobilosti v elektrotechnice č. 50/1978 Sb. je uvedeno:

  • § 3 Pracovníci seznámení

    (1) Pracovníci seznámení jsou ti, kteří byli organizací v rozsahu své činnosti seznámeni s předpisy o zacházení s elektrickými zařízeními3) a upozorněni na možné ohrožení těmito zařízeními.

    (2) Seznámení a upozornění podle odstavce 1 provede organizací pověřený pracovník s kvalifikací odpovídající charakteru činnosti a pořídí o tom zápis, který podepíše spolu s pracovníky seznámenými.

  • § 4 Pracovníci poučení

    (1) Pracovníci poučení jsou ti, kteří byli organizací v rozsahu své činnosti seznámeni s předpisy pro činnost na elektrických zařízeních, školeni v této činnosti, upozorněni na možné ohrožení elektrickými zařízeními a seznámeni s poskytováním první pomoci při úrazech elektrickým proudem.

    (2) Organizace je povinna stanovit obsah seznámení a dobu školení s ohledem na charakter a rozsah činnosti, kterou mají pracovníci uvedení v odstavci 1 vykonávat, a zajistit ověřování znalostí těchto pracovníků ve lhůtách, jež předem určí.

    (3) Seznámení, školení, upozornění a ověření znalostí podle odstavců 1 a 2 provede pro obsluhu elektrických zařízení organizací pověřený pracovník s kvalifikací odpovídající charakteru činnosti, a půjde-li o práci na elektrických zařízeních, pracovník s některou z kvalifikací uvedených v § 5 až 9; pořídí o tom zápis, který podepíše spolu s pracovníky poučenými.

V zákoně č. 258/2000 Sb., o ochraně veřejného zdraví, je v § 44a týkajícího se nakládání s nebezpečnými chemickými látkami a chemickými přípravky v odst. 8 a 9 uvedeno:

Odst. 8 Právnické osoby a fyzické osoby oprávněné k podnikání podle zvláštních právních předpisů smějí nakládat s nebezpečnými chemickými látkami nebo chemickými přípravky klasifikovanými jako vysoce toxické jen tehdy, jestliže nakládání s těmito chemickými látkami a chemickými přípravky mají zabezpečeno fyzickou osobou odborně způsobilou podle § 44b odst. 1 , 2 nebo 7. Jednotlivé činnosti v rámci nakládání s těmito chemickými látkami a chemickými přípravky může vykonávat i zaměstnanec, kterého fyzická osoba odborně způsobilá prokazatelně zaškolila. Opakované proškolení se provádí nejméně jedenkrát za rok. O školení a proškolení musí být pořízen písemný záznam, který je právnická osoba nebo fyzická osoba oprávněná k podnikání povinna uchovávat po dobu 3 let. Ustanovení tohoto odstavce se nevztahuje na provozování speciální ochranné dezinfekce, dezinsekce a deratizace.

Odst. 9 Fyzické osoby, jež v rámci svého zaměstnání nebo přípravy na povolání nakládají s nebezpečnými chemickými látkami nebo přípravky klasifikovanými jako vysoce toxické, toxické, žíravé nebo karcinogenní označené R-větou 45 nebo 49, mutagenní označené R-větou 46 a toxické pro reprodukci označené R-větou 60 nebo 61, musí být prokazatelně seznámeny s nebezpečnými vlastnostmi chemických látek a chemických přípravků, se kterými nakládají, se zásadami ochrany zdraví a životního prostředí před jejich škodlivými účinky a zásadami první předlékařské pomoci.

Bezpečnost a ochrana zdraví při práci ve výškách

V nařízení vlády č. 362/2005 Sb., o bližších požadavcích na bezpečnost a ochranu zdraví při práci na pracovištích s nebezpečím pádu z výšky nebo do hloubky, je v § 3, odst. 8 napsáno:

Při práci ve výškách a nad volnou hloubkou vykonávané osamoceně nebo samostatně musí být zaměstnanec seznámen s pravidly pro dorozumívání mezi zaměstnanci na pracovišti nebo pro dorozumívání s vedoucím zaměstnancem. Zaměstnanec vykonávající práci uvedenou ve větě první musí být poučen o povinnosti přerušit práci, pokud v ní nemůže pokračovat bezpečným způsobem, a o přerušení práce musí neprodleně informovat vedoucího zaměstnance, popřípadě zaměstnavatele.

Dále je v příloze tohoto nařízení v části XI uvedeno následující:

Zaměstnavatel poskytuje zaměstnancům v dostatečném rozsahu školení o bezpečnosti a ochraně zdraví při práci ve výškách a nad volnou hloubkou, zejména pokud jde o práce ve výškách a nad volnou hloubkou, zejména pokud jde o práce ve výškách nad 1,5 m, kdy zaměstnanci nemohou pracovat z pevných a bezpečných pracovních podlah, kdy pracují na pohyblivých pracovních plošinách, na žebřících ve výšce nad 5 m, a o používání osobních ochranných pracovních prostředků.

Bezpečnost a ochrana zdraví v prostředí s nebezpečím výbuchu

V nařízení vlády č. 406/2004 Sb., o bližších požadavcích na zajištění bezpečnosti a ochrany zdraví při práci v prostředí s nebezpečím výbuchu, je v příloze č. 2, odst. 2 .1 školení zaměstnanců uvedeno:

Zaměstnancům poskytuje zaměstnavatel v dostatečném rozsahu školení o bezpečnosti a ochraně zdraví při práci v prostředí s nebezpečím výbuchu; zejména je seznámí v odpovídajícím rozsahu s dokumentací o ochraně před výbuchem, s preventivními a ochrannými opatřeními a s písemnými pokyny podle bodu 2.2., pokud byly pro dané pracoviště vydány, a se způsobem používání osobních ochranných pracovních prostředků.

Obsluhou zařízení a ochranných systémů v prostoru s nebezpečím výbuchu pověří zaměstnavatel pouze zaměstnance, jehož teoretické znalosti a praktické dovednosti týkající se obsluhy těchto zařízení a ochranných systémů byly prokazatelně ověřeny.

Druhá část článku 4.4.2.

4.4.2 Výcvik, povědomí a odborná způsobilost 4.4.2 Kompetence, výcvik a vědomí závažnosti
Organizace musí vytvořit a udržovat postupy k zajištění, že její zaměstnanci v každé jednotlivé funkci a na každé úrovni mají povědomí o:

- důležitosti shody s politikou BOZP, postupy a požadavky systému managementu BOZP;
- skutečných nebo potenciálních důsledcích svých pracovních činností na BOZP a o přínosech zlepšeného osobního chování pro BOZP;
- svých úlohách a odpovědnostech za dosažení shody s politikou BOZP a postupy a s požadavky systému managementu BOZP, včetně požadavků na havarijní připravenost a reakci (viz 4.4.7);
- potenciálních následcích nedodržení stanovených provozních postupů.
Postupy výcviku musí brát v úvahu rozdílné úrovně:
- odpovědnosti, schopnosti a gramotnosti;
- rizika.
Organizace musí vytvořit, implementovat a udržovat postupy k zajištění toho, aby osoby, které při práci řídí, měly povědomí:
a) o skutečných nebo potenciálních důsledcích svých pracovních činností a svého chování na BOZP a o přínosech své zlepšené osobní výkonnosti v rámci BOZP,
b) o svých úlohách, odpovědnostech a důležitosti při dosahování shody s politikou BOZP, postupy a požadavky systému managementu BOZP včetně požadavků na havarijní připravenost a reakci (viz 4.4.7),
c) o potenciálních důsledcích nedodržení stanovených postupů.

Postupy výcviku musí brát v úvahu rozdílné úrovně:

a) odpovědnosti, schopnosti, jazykových schopností a gramotnosti,
b) rizika.

Jazykové schopnosti zaměstnanců

Pokud si i zde provedeme srovnání mezi požadavky původní specifikace a novou normou, pak zjistíme, že k žádným významným změnám nedošlo. Jedinou "novinkou“ vůči staré specifikaci je doplnění požadavku, abychom brali v potaz i jazykové schopnosti zaměstnanců. To bylo však v praxi uplatňováno i dříve, takže se jedná pouze o kosmetickou úpravu. Je třeba se zaměřit na to, aby organizace zaměstnávající pracovníky cizí státní příslušnosti prokázala, že zaměstnanci porozuměli danému školení/výcviku. To lze zajistit např. překladem školicích podkladů do mateřského jazyka daného pracovníka, využitím obrázků, fotek, symbolů, názorných školicích videí se správnými/špatnými postupy apod.

Tato druhá část článku 4.4.2 normy ČSN OHSAS 18001 nás tedy nabádá k tomu, aby organizace vždy zajistila, že budou všichni pracovníci včetně vrcholového vedení kompetentní dříve, než začnou vykonávat úkoly, které mohou ovlivnit BOZP. Jedině tak zajistíme, aby naši pracovníci pracovali a jednali vždy bezpečně.

Při určování výcviku nebo jiných aktivit, jež jsou nezbytné pro osoby řízené organizací, musí organizace zohlednit úkoly, odpovědnosti a pravomoci ve vztahu k rizikům v oblasti BOZP a k systému managementu BOZP.

Organizace by se měla zaměřit na zvyšování vědomí závažnosti ohledně BOZP u svých dodavatelů, návštěvníků, dočasných pracovníků atd., a to podle významnosti rizik v oblasti BOZP, kterým jsou vystaveni.

Organizace musí rovněž vyhodnocovat efektivnost výcviku. To může být realizováno např. prostřednictvím písemného testu či zkoušky, praktickou zkouškou, pozorováním změn v chování zaměstnance, hodnocením přímého nadřízeného apod.

Přílohy - vzory dokumentů:

  1. Instrukce k lékařským prohlídkám a závodní preventivní péči;

  2. Posudek o zdravotní způsobilosti k výkonu práce;

  3. Pracovní povolení pro dodavatele;

  4. Pověření osoby odpovědné za provoz tlakových nádob stabilních;

  5. Osnova školení BOZP.

Vzor č. 1: Instrukce k lékařským prohlídkám a závodní preventivní péči

Zaměstnanci mohou být pověřeni pouze pracovní činností, k níž jsou zdravotně způsobilí.

Zdravotní způsobilost k práci se posuzuje při preventivních vstupních, periodických, mimořádných a výstupních lékařských prohlídkách. Tyto prohlídky jsou poskytovány zaměstnancům u lékaře závodní preventivní péče společnosti.

Termíny a způsob provádění preventivních lékařských prohlídek zaměstnanců na případných rizikových pracovištích se řídí pokyny krajské hygienické stanice, pod kterou přísluší naše organizace.

Při každé změně pracovního místa nebo obsluhy zařízení musí být posouzena nutnost opakované lékařské prohlídky a o tomto požadavku musí být informována společností pověřená osoba pro BOZP a vedoucí personálního oddělení.

Při rozvázání pracovního poměru zaměstnance, pracujícího na nerizikovém pracovišti, může být zaměstnanec zaměstnavatelem vyzván, aby předložil lékařské potvrzení o svém zdravotním stavu. Toto lékařské potvrzení se však předkládá vždy, je-li zaměstnanec zaměstnán na rizikovém pracovišti.

Lhůty periodických (preventivních) lékařských prohlídek jsou stanoveny:

• mladiství zaměstnanci 1x ročně,
• zaměstnanci od 18 let do 50 let 1x 5 let *,
• zaměstnanci starší 50 let 1x 3 roky *,
• zaměstnanci pracující v noci před zařazením, 1x ročně,
příp. na žádost zaměstnance.
• Obsluha a oprava jeřábu 1x 3 roky,
• obsluha a oprava tlak. nádob 1x 3 roky,
• vazač jeřábového břemene 1x 3 roky,
• svářeč 1x 3 roky,
• topič (nízkotlaká kotelna) 1x 3 roky,
• práce ve výškách do 50 let 1x 3 roky,
• práce ve výškách do 21 let / nad 50 let 1x ročně,
• řidič motorového vozíku do 50 let 1x 2 roky,
• řidič motorového vozíku nad 50 let 1x ročně.

Vzor č. 2: Posudek o zdravotní způsobilosti k výkonu práce

Zaměstnavatel:

zastoupený .................................

žádá o posouzení zdravotní způsobilosti - vstupní/periodické lékařské prohlídky

   
zaměstnance: jméno .......................
bydliště ....................
rodné číslo................

pro výkon pracovní činnosti:

   
 riziko hluku  zrak
 práce v noci  skladník, manipulant
 řidič vysokozdvižného vozíku  montážní dělník
 jeřábník  riziko vibrace
 vazač  riziko ionizujícího záření
 topič  nástrojař
 elektromontér  kontrolor kvality
 obsluha tlak. nádob a plyn. kotelny  mistr výroby
 řidič referentských vozidel  údržbář
 obsluha zdvihacího zařízení  elektroúdržbář
 práce ve výškách  seřizovač
 monotónní práce  uklízeč výrobních prostor
 práce ve stoje  THP
 střídavá pracovní poloha
 nakládání s NCHLP

Vyjádření posuzujícího lékaře:

schopen *

schopen za podmínek *

neschopen *

...................
Datum

...................................................................
Razítko a podpis posuzujícího lékaře

Vzor č. 3: Pracovní povolení pro dodavatele

  1. DODAVATEL :

  2. MÍSTO PRÁCE/VÝKONU:

  3. SPECIFIKACE PROVÁDĚNÝCH PRACÍ:

  4. POŽADAVKY PŘED ZAPOČETÍM PRACÍ:

    • vyřazení z provozu energetických zdrojů:

      • elektřina, plyn, stlačený vzduch, dodávka tepla, voda, jiné:

      • kdy:

      • na jak dlouho:

      • nahlásit odpovědné osobě (s ohledem zejména na zabezpečení výroby):

    • požadavek na vyřazení z provozu zabezpečovacího, příp. požárního systému: ANO - NE:

    • mechanické zabezpečení oblasti prací + varovná označení:

    • zabezpečení oblasti pro případy přerušení činnosti:

    • pokud bude prováděno svařování, je nezbytné vyplnit tiskopis "povolení svařování“:

    • zapůjčení vybavení nebo manipulačního motorového vysokozdvižného vozíku, jiné):

    • přibližné vyznačení o existence sítí a seznámení dodavatelů s ní (elektřina, plyn, stlačený vzduch, voda, kanál - odpady, telekomunikační linky, teplárenský kanál) v místě budoucích prací, pokud je to relevantní (použití těžké stavební techniky, tj. bagry, jeřáby, řezací zařízení atd.) a seznámení dodavatele:

    • doložení způsobilosti pracovníků dodavatele k činnosti (elektřina, plyn, svařování, jeřáb, MDV vozík apod.):

    • počet externích pracovníků dodavatele: ... max. ... min.

    • seznam chemických látek používaných k provedení zakázky a jejich množství:

    • seznámení a předání a podpis pokynů pro dodavatele včetně registru rizik:

    • práce ve výškách: doložit proškolení, specifikovat způsob zajištění (při výšce větší než 1,5 m):

    • pojištění: číslo, druh, rozsah:

  5. POŽADAVKY NA OSOBNÍ OCHRANNÉ PRACOVNÍ PROSTŘEDKY:

    • zaměstnanci dodavatele:

    • doplňující OOPP pro zaměstnance naší společnosti po dobu prací:

  6. PERMANENTNÍ/VÝJIMEČNÉ POVOLENÍ PLATNÉ:

    Den (dny) od - do ........., od ........ hodin, do ......... hodin.

  7. PRACOVNÍK ODPOVĚDNÝ ZA KONTROLU DODRŽOVÁNÍ VÝŠE UVEDENÝCH UJEDNÁNÍ A POŽADAVKŮ (PRACOVNÍK UZAVÍRAJÍCÍ KONTRAKT):

    Za organizaci .................... Podpis:
    Dne:

  8. KONTROLA OBLASTI K PŘEDÁNÍ DODAVATELI ODPOVĚDNÝM PRACOVNÍKEM:

    Kdo: .................... Kdy:

    Komentář:

  9. KONTROLA DODAVATELE BĚHEM PROVÁDĚNÝCH PRACÍ:

    Kdo: .................... Kdy:

    Komentář:

  10. KONTROLA DODAVATELE PO SKONČENÍ PROVÁDĚNÝCH PRACÍ + HODNOCENÍ:

    Kdo: .................... Kdy:

    Hodnocení činnosti (nehodící se škrtněte):

    Komentář:

  11. BYL JSEM PLNĚ SEZNÁMEN(A) A SOUHLASÍM S POŽADAVKY KLADENÝMI NA PROVÁDĚNÍ VÝŠE UVEDENÝCH ČINNOSTÍ

    Za dodavatele: .................... Podpis: .......... Dne:
    Tel.:

Vzor č. 4: Pověření osoby odpovědné za provoz tlakových nádob stabilních

Jméno a příjmení:.........................................

Datum narození:.........................................

Na základě splnění předepsané kvalifikace, která je dokladována zápisem ze dne XXX, Vás pověřuji v souladu s ustanovením ČSN 69 0012 a interním předpisem

osobou odpovědnou za provoz tlakových nádob stabilních

s platností ode dne: XX.XX.XX

Uvedenou činnost budete vykonávat u společnosti: XXX

Zodpovídat budete za zařízení následujících druhů (přesná specifikace přidělených zařízení): XXX

Vaše povinnosti pro výkon této funkce jsou podrobně uvedeny v příloze ČSN 69 0012 a dále níže:

  1. odpovídá za způsob používání zařízení TNS na pracovišti, stanovuje požadavky na pracoviště, rizikové faktory pracovního prostředí, stanovuje rizika, odpovídá za odstranění vlivů způsobujících zhoršení technického stavu zařízení TNS a v souladu s výsledky předcházejících kontrol, zkoušek či revizí, po dobu provozu a používání pracoviště bude sledovat stav zařízení TNS a všech částí technologie z hlediska provozuschopnosti, bezpečnosti, spolehlivosti a hospodárnosti;

  2. do provozu nesmí připustit zařízení TNS bez bezpečnostní výstroje nebo taková, o nichž je známo, že by mohly ohrozit bezpečnost provozu nebo zdraví a život osob;

  3. zajišťuje neprodleně odstranění všech závad zjištěných obsluhou nebo osobní kontrolou na zařízení TNS a okamžité odstavení zařízení TNS do rozhodnutí revizního technika TNS, musí hlásit všechny změny, závady a skoronehody na technologickém zařízení TNS osobě odborně způsobilé v BOZP a výrobnímu řediteli;

  4. musí zajistit obsluhu, údržbu, přezkušování a kontroly v souladu s průvodní dokumentací, dále musí zajistit vedení provozních deníků a provádění prohlídek a kontrol v souladu s plánem prohlídek a kontrol, dále je povinen provádět pravidelnou kontrolu obsluhy s ohledem na dodržování technologických a pracovních postupů;

  5. ve spolupráci s revizním technikem zařízení odpovídá za vypracování technologického nebo pracovního postupu obsluhy zařízení TNS;

  6. provádí školení obsluhy zařízení před nástupem na pracoviště a zajišťuje školení a seznámení s riziky, k obsluze zařízení nepřipustí osobu bez patřičné kvalifikace a zdravotní způsobilosti;

  7. na pracovišti zajistí instalaci plánu prohlídek, kontrol a údržby a zajišťuje jejich provádění obsluhou zařízení, provádí důsledně kontrolu obsluhy a plnění jejích povinností, zajišťuje kontrolu stavu bezpečnostních prvků obsluhou zařízení;

  8. provádí seznámení všech osob, které se zdržují na pracovištích a jež provádějí veškeré práce na celém technologickém zařízení s interní dokumentací a s riziky; zajišťuje koordinaci činností s ohledem na rizika v případě přítomnosti více osob různých zaměstnavatelů na pracovišti;

  9. odpovídá za aktuálnost a přístupnost interní dokumentace pro všechny osoby zdržující se na pracovišti;

  10. kontroluje provádění zápisů o provedených prohlídkách, preventivní údržbě do provozních deníků zařízení TNS;

  11. spolupracuje při provedení roční kontroly zařízení dle NV č. 378/2001 Sb.;

  12. provádí kontrolu a doplnění lékárničky;

  13. odpovídá za likvidaci odpadů v souladu s interní směrnicí.

Pověření vydáno dne: XXX

.....................................................................................................
Razítko firmy a podpis jednatele společnosti

Pověření převzato dne: XXX

.......................................................................................................................
Podpis osoby pověřené odpovědností za bezpečný provoz tlakových nádob stabilních

Vzor č. 5: Osnova školení BOZP

Školení provedeno dne xx ve společnosti xxx

Obsah školení

Z hlediska BOZP:

Zákoník práce - zákon č. 262/2006 Sb., v platném znění (min. § 88, 89, 101-108, 224, 226, 237-240, 273, 274, 301, 302, 306, 349, 366-374, 391)

Zákon č. 309/2006 Sb., v platném znění

Zákon č. 258/2000 Sb., v platném znění

Zákon č. 361/2000 Sb., o provozu na pozemních komunikacích a o změnách některých zákonů (zákon o silničním provozu)

Zákon č. 251/2005 Sb., o inspekci práce

Vyhláška Ministerstva zdravotnictví ČR č. 432/2003 Sb. v platném znění

Nařízení vlády 362/2005 Sb., v platném znění

Nařízení vlády č. 11/2002 Sb., v platném znění

Nařízení vlády č. 361/2007 Sb., v platném znění

Nařízení vlády č. 378/2001 Sb., v platném znění

Nařízení vlády č. 495/2001 Sb., v platném znění

Nařízení vlády č. 494/2001 Sb., v platném znění

Nařízení vlády č. 101/2005 Sb., v platném znění

Nařízení vlády č. 21/2003 Sb., v platném znění

Nařízení vlády č. 168/2002 Sb., kterým se stanoví způsob organizace práce a pracovních postupů, které je zaměstnavatel povinen zajistit při provozování dopravy dopravními prostředky

Nařízení vlády č. 590/2006 Sb., kterým se stanoví okruh důležitých osobních překážek v práci

Bezpečnostní předpisy a zacházení s elektrickým zařízením pracovníky seznámenými (osobami bez elektrotechnické kvalifikace) CSN 343108

Vyhláška č. 50/1978 Sb., o odborné způsobilosti v elektrotechnice, § 3 - Pracovníci seznámení

Kategorizace prací

Registr bezpečnostních rizik - směrnice č. XXX, vydání č. XX ze dne

Návody k obsluze: varná konvice, vařič

Poskytování první pomoci a závodní preventivní péče

Rozsah školení: 240 min.

Ověření znalostí získaných školením: pohovorem a testem

Datum zpracování: xx

Vypracoval: xx

Školitel: xx

Použitá literatura: ČSN OHSAS 18002:2009 Systémy managementu bezpečnosti a ochrany zdraví při práci - Směrnice pro implementaci OHSAS 18001:2007

Komunikace, spoluúčast a konzultace

4.4.3 Komunikace, spoluúčast a konzultace nové normy CSN OHSAS 18001:2008 a předchozí verze specifikace OHSAS 18001.

Pro správné porozumění si rozdělíme požadavky kapitoly 4.4.3 normy OHSAS 18001 na dvě části.

Nejprve si objasněme první část článku:

OHSAS 18001:1999 ČSN OHSAS 18001:2008
4.4 Zavedení a provoz 4.4 Implementace a provoz
4.4.3 Konzultace a komunikace 4.4.3 Komunikace, spoluúčast a konzultace

Organizace musí mít postupy pro zajištění toho, že příslušné informace o BOZP jsou komunikovány směrem k zaměstnancům i od nich a k dalším zainteresovaným stranám. Zapojení zaměstnanců a uspořádání konzultací musí být dokumentováno a zainteresované strany informovány.
4.4.3.1 Komunikace
Ve vztahu ke svému systému managementu BOZP musí organizace vytvořit, implementovat a udržovat postupy pro
a) interní komunikaci mezi různými úrovněmi a funkcemi organizace,
b) komunikaci se smluvními partnery a jinými návštěvníky pracoviště,
c) přijímání, dokumentování a odezvu na významné podněty od externích zainteresovaných stran.

Pokud si porovnáme text specifikace OHSAS 18001 z roku 1999 s novou normou OHSAS 18001, je už na první pohled znát, že je v nové normě kladen nově důraz na komunikaci "se smluvními partnery a jinými návštěvníky pracoviště“. Je zde rovněž lépe definován požadavek na "přijímání, dokumentování a odezvu na významné podněty od externích zainteresovaných stran“.

Společnost, jenž má zaveden systém managementu BOZP, by tedy měla prostřednictvím procesu komunikace a konzultace podporovat spoluúčast na správné praxi v oblasti BOZP a podpoře své politiky a cílů BOZP ode všech, kteří jsou ovlivněni činnostmi společnosti nebo se zajímají o její systém managementu BOZP.

Komunikační procesy společnosti by měly umožnit, aby šly informace směrem nahoru (tedy od zaměstnanců k vedení), dolů (od vedení k zaměstnancům) a napříč společností (přes jednotlivá oddělení/útvary, mezi různými pracovními pozicemi a různými úrovněmi organizace). Mělo by být zajištěno, aby informace týkající se BOZP byla poskytnuta, obdržena a pochopena všemi osobami, jichž se dotýká.

Interní komunikace

Společnost může prokázat interní komunikaci např. prostřednictvím:

  • zápisů z pravidelných porad/jednání vedení společnosti, kde jeden z bodů je oblast BOZP,

  • zápisů z pravidelných porad jednotlivých oddělení/útvarů/pracovišť, kde jeden z bodů je oblast BOZP,

  • "kroužků BOZP“, jež jsou založeny ve společnosti,

  • pravidelných setkání vedení společnosti se zaměstnanci (např. vánoční posezení), kde je projednávána problematika BOZP,

  • vnitropodnikového časopisu (tištěného či na intranetu), kde jedním z témat je BOZP,

  • nástěnek s tematikou BOZP,

  • elektronické pošty, plakátů, schránky s podněty k problematice BOZP.

Forma komunikace by měla záviset především na velikosti, složitosti a struktuře společnosti, dostupné technologii, požadavcích právních předpisů a jiných požadavcích.

Společnost by měla zejména aktivně komunikovat o:

  • informacích vztahujících se k nebezpečím v oblasti BOZP a k systému managementu BOZP,

  • cílech BOZP a dalších činnostech týkajících se neustálého zlepšování,

  • informacích týkajících se vyšetřování incidentů (úrazy, skoronehody, mimořádné události atd.),

  • o změnách, které mohou ovlivnit systém managementu BOZP.

Komunikace s dodavateli

Norma OHSAS 18001 vyžaduje vytvoření a udržování postupů pro komunikaci s dodavateli a návštěvníky pracoviště. Minimálně by se měla komunikace vztahovat na rizika v oblasti BOZP, která se těchto stran týkají.

S dodavateli můžeme komunikovat prostřednictvím zpracování pokynů pro dodavatele, které s nimi projednáme např. před vstupem do areálu společnosti, případně před započetím prací. Další možností komunikace je zapracování požadavků na BOZP do smluv s dodavateli. I přesto nesmíme zapomenout na požadavek zákoníku práce, § 101, odstavec 3 o "vzájemném písemném informování se o rizicích“ (viz přesné znění níže).

Komunikace s návštěvníky

Velmi podstatnou oblastí, které se norma věnuje, je komunikace s návštěvníky (zákazníky, uchazeči o zaměstnání, auditory, pracovníky orgánu státní správy apod.). Tato komunikace může zahrnovat bezpečnostní značky, ústní či písemnou komunikaci. Z důvodu vyvinění se v případě vzniku úrazu je samozřejmě preferováno písemné informování o rizicích, s nimiž byla návštěva prokazatelně seznámena (např. prostřednictvím podpisu v knize návštěv na recepci, kde návštěva potvrzuje své seznámení se s pokyny pro návštěvníky). Dále bychom měli informovat návštěvníky pracoviště o postupech evakuace, dalších požadavcích na BOZP, relevantních pro jejich návštěvu, o potřebě použití OOPP, požadavcích na doprovod.

Posledním požadavkem viz 4.4.3.1 Komunikace je zajištění vhodného postupu pro příjem, dokumentaci a reakci na relevantní sdělení od externích zainteresovaných stran. Zainteresovanou stranou je pak osoba nebo skupina, vně pracoviště, která se zajímá o výkonnost v oblasti BOZP organizace nebo je jí ovlivněna (např. další firmy, které spolu s naší organizací sídlí v areálu, dodavatelé, zákazníci, příslušné orgány státní správy apod.).

Společnost by měla poskytovat příslušné a odpovídající informace o nebezpečích v oblasti BOZP a o svém systému managementu BOZP (to může zahrnovat i informace o potenciální havarijní situaci i o běžném provozu).

Postup pro externí komunikaci velmi často zahrnuje i identifikaci určených kontaktních osob (především pro případ vzniku havarijní situace).

Co se týče legislativních požadavků dotýkajících se komunikace, pak je nutné vzít v úvahu následující požadavky zákoníku práce (zákon č. 262/2006 Sb. v platném znění):

Legislativní požadavky

§ 13, odst. 2

Zaměstnavatel

  1. d) musí poskytovat zaměstnanci informace v pracovněprávních vztazích a zajišťovat projednání s ním,
  2. e) musí seznamovat zaměstnance s kolektivní smlouvou a vnitřními předpisy.

Velmi důležitý je i požadavek zákoníku práce ukotvený v § 37 "Informování o obsahu pracovního poměru“.

§ 37

(1) Neobsahuje-li pracovní smlouva údaje o právech a povinnostech vyplývajících z pracovního poměru, je zaměstnavatel povinen zaměstnance o nich písemně informovat, a to nejpozději do 1 měsíce od vzniku pracovního poměru; to platí i o změnách těchto údajů. Informace musí obsahovat

  1. jméno, popřípadě jména a příjmení zaměstnance a název a sídlo zaměstnavatele, je-li právnickou osobou, nebo jméno, popřípadě jména a příjmení a adresu zaměstnavatele, je-li fyzickou osobou,

  2. bližší označení druhu a místa výkonu práce,

  3. údaj o délce dovolené, popřípadě uvedení způsobu určování dovolené,

  4. údaj o výpovědních dobách,

  5. údaj o týdenní pracovní době a jejím rozvržení,

  6. údaj o mzdě nebo platu a způsobu odměňování, splatnosti mzdy nebo platu, termínu výplaty mzdy nebo platu, místu a způsobu vyplácení mzdy nebo platu,

  7. údaj o kolektivních smlouvách, které upravují pracovní podmínky zaměstnance, a označení účastníků těchto kolektivních smluv.

(2) Vysílá-li zaměstnavatel zaměstnance k výkonu práce na území jiného státu, je povinen jej předem informovat o předpokládané době trvání tohoto vyslání a o měně, ve které mu bude vyplácena mzda nebo plat.

(3) Informace uvedené v odstavci 1 písm. c), d) a e) a v odstavci 2 , týkající se měny, ve které bude zaměstnanci vyplácena mzda nebo plat, mohou být nahrazeny odkazem na příslušný právní předpis, na kolektivní smlouvu nebo na vnitřní předpis.

(4) Povinnost písemně informovat zaměstnance o základních právech a povinnostech vyplývajících z pracovního poměru se nevztahuje na pracovní poměr na dobu kratší než 1 měsíc.

(5) Při nástupu do práce musí být zaměstnanec seznámen s pracovním řádem a s právními a ostatními předpisy k zajištění bezpečnosti a ochrany zdraví při práci, jež musí při své práci dodržovat. Zaměstnanec musí být také seznámen s kolektivní smlouvou a vnitřními předpisy.

Požadavek na komunikaci je v zákoníku práce definován i pro případ hromadného propouštění. V paragrafu 62, odst. 2 a dále se lze dočíst:

§ 62

(2) Před dáním výpovědí jednotlivým zaměstnancům je zaměstnavatel povinen o svém záměru včas, nejpozději 30 dnů předem, písemně informovat odborovou organizaci nebo radu zaměstnanců; rovněž je povinen informovat o

  1. důvodech hromadného propouštění,

  2. počtu a profesním složení zaměstnanců, kteří mají být propuštěni,

  3. o počtu a profesním složení všech zaměstnanců, kteří jsou u zaměstnavatele zaměstnáni,

  4. době, v níž se má hromadné propouštění uskutečnit,

  5. hlediscích navržených pro výběr zaměstnanců, kteří mají být propuštěni,

  6. odstupném, popřípadě dalších právech propuštěných zaměstnanců.

(3) Předmětem jednání s odborovou organizací nebo radou zaměstnanců je dosažení shody zejména o opatřeních směřujících k předejití nebo omezení hromadného propouštění, zmírnění jeho nepříznivých důsledků pro zaměstnance, především možnosti jejich zařazení ve vhodném zaměstnání na jiných pracovištích zaměstnavatele.

(4) Zaměstnavatel je současně povinen písemně informovat příslušný úřad práce o opatřeních uvedených v odstavcích 2 a 3, zejména o důvodech těchto opatření, o celkovém počtu zaměstnanců, o počtu a struktuře zaměstnanců, jichž se tato opatření mají týkat, o období, v jehož průběhu dojde k hromadnému propouštění, o navržených hlediscích pro výběr propouštěných zaměstnanců a o zahájení jednání s odborovou organizací nebo s radou zaměstnanců. Jedno vyhotovení písemné informace doručí zaměstnavatel odborové organizaci nebo radě zaměstnanců.

(5) Zaměstnavatel je povinen prokazatelně doručit příslušnému úřadu práce písemnou zprávu o svém rozhodnutí o hromadném propouštění a výsledcích jednání s odborovou organizací nebo s radou zaměstnanců. Ve zprávě je povinen dále uvést celkový počet zaměstnanců a počet a profesní složení zaměstnanců, jichž se hromadné propouštění týká. Jedno vyhotovení této zprávy doručí odborové organizaci nebo radě zaměstnanců. Odborová organizace nebo rada zaměstnanců mají právo se k písemné zprávě zaměstnavatele samostatně vyjádřit a toto vyjádření doručit příslušnému úřadu práce. Zaměstnavatel, na kterého bylo vydáno rozhodnutí o úpadku, je povinen doručit úřadu práce písemnou zprávu pouze na jeho žádost.

(6) V případě, že u zaměstnavatele není ustavena nebo nepůsobí odborová organizace ani rada zaměstnanců, je zaměstnavatel povinen plnit povinnosti uvedené v odstavcích 2 až 5 vůči každému zaměstnanci, jehož se hromadné propouštění týká.

(7) Zaměstnavatel je povinen sdělit zaměstnanci den doručení písemné zprávy zaměstnavatele úřadu práce podle § 63.

Nezapomeňme na velmi důležitý požadavek zákoníku práce, jenž je zakotven v § 101, odst. 3 a 4:

(3) Plní-li na jednom pracovišti úkoly zaměstnanci dvou a více zaměstnavatelů, jsou zaměstnavatelé povinni vzájemně se písemně informovat o rizicích a přijatých opatřeních k ochraně před jejich působením, která se týkají výkonu práce a pracoviště, a spolupracovat při zajišťování bezpečnosti a ochrany zdraví při práci pro všechny zaměstnance na pracovišti. Na základě písemné dohody zúčastněných zaměstnavatelů touto dohodou pověřený zaměstnavatel koordinuje provádění opatření k ochraně bezpečnosti a zdraví zaměstnanců a postupy k jejich zajištění.

(4) Každý ze zaměstnavatelů uvedených v odstavci 3 je povinen

  1. zajistit, aby jeho činnosti a práce jeho zaměstnanců byly organizovány, koordinovány a prováděny tak, aby současně byli chráněni také zaměstnanci dalšího zaměstnavatele,

  2. dostatečně a bez zbytečného odkladu informovat odborovou organizaci nebo zástupce zaměstnanců pro oblast bezpečnosti a ochrany zdraví při práci, a nepůsobí-li u něj, přímo své zaměstnance o rizicích a přijatých opatřeních, která získal od jiných zaměstnavatelů.

Dále je uvedeno v zákoníku práce § 103, odst. 1 :

  1. b) informovat zaměstnance o tom, do jaké kategorie byla jím vykonávaná práce zařazena; kategorizaci prací upravuje zvláštní právní předpis,
  2. c) ...,
  3. d) sdělit zaměstnancům, které zařízení závodní preventivní péče jim poskytuje závodní preventivní péči a jakým druhům očkování a jakým preventivním prohlídkám a vyšetřením souvisejícím s výkonem práce jsou povinni se podrobit, umožnit zaměstnancům podrobit se těmto očkováním, prohlídkám a vyšetřením v rozsahu stanoveném zvláštními právními předpisy nebo rozhodnutím příslušného orgánu ochrany veřejného zdraví,
  4. e) ...,
  5. f) zajistit zaměstnancům, zejména zaměstnancům v pracovním poměru na dobu určitou, zaměstnancům agentury práce dočasně přiděleným k výkonu práce k jinému zaměstnavateli, mladistvým zaměstnancům, podle potřeb vykonávané práce dostatečné a přiměřené informace a pokyny o bezpečnosti a ochraně zdraví při práci podle tohoto zákona a podle zvláštních právních předpisů, zejména formou seznámení s riziky, výsledky vyhodnocení rizik a s opatřeními na ochranu před působením těchto rizik, která se týkají jejich práce a pracoviště,
  6. g) zabezpečit, aby zaměstnanci jiného zaměstnavatele vykonávající práce na jeho pracovištích obdrželi před jejich zahájením vhodné a přiměřené informace a pokyny k zajištění bezpečnosti a ochrany zdraví při práci a o přijatých opatřeních, zejména ke zdolávání požárů, poskytnutí první pomoci a evakuace fyzických osob v případě mimořádných událostí,
  7. h) jestliže při práci přichází v úvahu expozice rizikovým faktorům poškozujícím plod v těle matky, informovat o tom zaměstnankyně. Těhotné zaměstnankyně, zaměstnankyně, které kojí, a zaměstnankyně-matky do konce devátého měsíce po porodu je dále povinen seznámit s riziky a jejich možnými účinky na těhotenství, kojení nebo na jejich zdraví a učinit potřebná opatření, včetně opatření, která se týkají snížení rizika psychické a fyzické únavy a jiných druhů psychické a fyzické zátěže spojené s vykonávanou prací, a to po celou dobu, kdy je to nutné k ochraně jejich bezpečnosti nebo zdraví dítěte. Informace a pokyny je třeba zajistit vždy při přijetí zaměstnance, při jeho převedení, přeložení nebo změně pracovních podmínek, změně pracovního prostředí, zavedení nebo změně pracovních prostředků, technologie a pracovních postupů. O informacích a pokynech je zaměstnavatel povinen vést dokumentaci,
  8. i) ...

Nyní se budeme věnovat druhé části kapitoly 4.4.3.

Komunikace, spoluúčast a konzultace

4.4.3 Konzultace a komunikace 4.4.3 Komunikace, spoluúčast a konzultace
Zaměstnanci musejí být:
- zapojeni do vývoje a přezkoumání strategií a postupů při řízení rizik,
- konzultováni v případě změn, které ovlivňují BOZP na pracovišti,
- zastupování v otázkách BOZP a
- informováni o tom, kdo je představitelem zaměstnanců pro BOZP a kdo je představitel vedení (4.4.1).
4.4.3.2 Spoluúčast a konzultace
Organizace musí vytvořit, implementovat a udržovat postupy pro
a) účast pracovníků prostřednictvím jejich
- vhodného zapojení při identifikaci nebezpečí, posuzování rizik a určování způsobu jeho řízení,
- vhodného zapojení při vyšetřování incidentu,
- zapojení do tvorby a přezkoumání politik a cílů BOZP,
- konzultace v případě změn, které ovlivňují BOZP,
- zastupování v záležitostech BOZP.

Zaměstnanci musejí být informováni o úpravě jejich spoluúčasti, včetně toho, kdo je jejich zástupcem v otázkách BOZP;
b) konzultaci se smluvními partnery v případě změn, které ovlivňují jejich BOZP.
Organizace musí zajistit, že pokud to bude vhodné, budou příslušné záležitosti BOZP konzultovány s externími zainteresovanými stranami.

Pokud si i zde provedeme srovnání mezi požadavky původní specifikace a novou normou, pak zjistíme, že se zcela zrušil požadavek staré specifikace OHSAS 18001 na zapojení zaměstnanců do vývoje a přezkoumání strategií řízení rizik. V nové normě se naopak mluví o zapojení do tvorby a přezkoumání politik a cílů BOZP.

Naopak se mnohem podrobněji definovaly další požadavky:

  • konzultace se smluvními partnery v případě změn, které ovlivňují jejich BOZP,

  • zajištění, že pokud to bude vhodné, budou příslušné záležitosti BOZP konzultovány s externími zainteresovanými stranami.

V normě ČSN OHSAS 18002:2009 je definováno, že konzultace je proces, při němž management a jiné osoby nebo jejich zástupci společně zvažují a projednávají vzájemné problémy. To zahrnuje hledání přijatelných řešení problémů prostřednictvím všeobecné výměny názorů a informací.

Postupy společnosti by se měly zaměřovat na potřebu aktivního a trvalého zapojení pracovníků do vývoje a přezkoumání praktik v oblasti BOZP a tam, kde je to vhodné, i vývoje systému managementu BOZP.

Zástupce zaměstnanců pro oblast BOZP by měl mít přesně stanoveny své úkoly a pravomoci.

Postupy společnosti pro zapojení svých pracovníků by mohly zahrnovat:

  • konzultace, které se dotýkají změn majících dopad na BOZP (např. před zavedením nového zařízení, před nakoupením nového vybavení, použitím nových chemických látek a přípravků, použitím nových materiálů a surovin, před reorganizací, před novým uspořádáním pracoviště, novým procesem či pracovním postupem),

  • zapojení do zlepšování výkonnosti v oblasti BOZP (náměty zaměstnanců na zlepšení).

V případě konzultace s externími dodavateli o změnách, které mohou ovlivnit BOZP, by měla společnost brát v úvahu:

  • změny v materiálech, zařízení a vybavení,

  • změny v požadavcích právních předpisů a jiných požadavcích,

  • nová nebezpečí,

  • změny v havarijních opatřeních.

Bylo by tedy vhodné mít dokumentovaný postup, který bude řešit komunikaci s dodavateli i dalšími externími zainteresovanými stranami (zejména v případě potřeby konzultace se státní správou).

Co se týče legislativních požadavků dotýkajících se spoluúčasti a konzultace, pak je nutné vzít v úvahu následující požadavky zákoníku práce:

Legislativní požadavky

Zákoník práce v § 108 řeší účast zaměstnanců na řešení otázek bezpečnosti a ochrany zdraví při práci, viz níž.

§ 108

(1) Zaměstnanci mají právo se účastnit na řešení otázek souvisejících s bezpečností a ochranou zdraví při práci prostřednictvím odborové organizace nebo zástupce pro oblast bezpečnosti a ochrany zdraví při práci.

(2) Zaměstnavatel je povinen odborové organizaci nebo zástupci pro oblast bezpečnosti a ochrany zdraví při práci anebo přímo zaměstnancům umožnit

  1. účast při jednáních týkajících se bezpečnosti a ochrany zdraví při práci anebo jim poskytnout informace o takovém jednání, b) vyslechnout jejich informace, připomínky a návrhy na přijetí opatření týkajících se bezpečnosti a ochrany zdraví při práci, zejména návrhy na odstranění rizik nebo omezení působení rizik, která není možno odstranit, c) projednat

    1. podstatná opatření týkající se bezpečnosti a ochrany zdraví při práci,

    2. vyhodnocení rizik, přijetí a provádění opatření ke snížení jejich působení, výkon prací v kontrolovaných pásmech a zařazení prací do kategorií podle zvláštního právního předpisu,

    3. organizaci školení o právních a ostatních předpisech k zajištění bezpečnosti a ochrany zdraví při práci,

    4. určení odborně způsobilé fyzické osoby k prevenci rizik podle zákona o zajištění dalších podmínek bezpečnosti a ochrany zdraví při práci.

(3) Zaměstnavatel je dále povinen odborovou organizaci nebo zástupce pro oblast bezpečnosti a ochrany zdraví při práci anebo přímo zaměstnance informovat o

  1. zaměstnancích určených k organizování poskytnutí první pomoci, k zajištění přivolání lékařské pomoci, hasičského záchranného sboru a Policie České republiky a k organizování evakuace zaměstnanců, b) výběru a zajišťování závodní preventivní péče, c) určení odborně způsobilé fyzické osoby k prevenci rizik podle zákona o zajištění dalších podmínek bezpečnosti a ochrany zdraví při práci, d) každé další záležitosti, která může podstatně ovlivnit bezpečnost a ochranu zdraví při práci.

(4) Odborová organizace nebo zástupce pro oblast bezpečnosti a ochrany zdraví při práci anebo zaměstnanci jsou povinni spolupracovat se zaměstnavatelem a s odborně způsobilými fyzickými osobami k prevenci rizik podle zákona o zajištění dalších podmínek bezpečnosti a ochrany zdraví při práci tak, aby zaměstnavatel mohl zajistit bezpečné a zdraví neohrožující pracovní podmínky a plnit veškeré povinnosti stanovené zvláštními právními předpisy a opatřeními orgánů, kterým přísluší výkon kontroly podle zvláštních právních předpisů.

(5) Zaměstnavatel je povinen organizovat nejméně jednou v roce prověrky bezpečnosti a ochrany zdraví při práci na všech pracovištích a zařízeních zaměstnavatele v dohodě s odborovou organizací nebo zástupcem zaměstnanců pro oblast bezpečnosti a ochrany zdraví při práci a zjištěné nedostatky odstraňovat.

(6) Zaměstnavatel je povinen odborové organizaci a zástupci pro oblast bezpečnosti a ochrany zdraví při práci zajistit školení umožňující jim řádný výkon jejich funkce a zpřístupnit jim právní a ostatní předpisy k zajištění bezpečnosti a ochrany zdraví při práci a doklady o

  1. vyhledávání a vyhodnocení rizik, opatřeních k odstranění rizik a k omezení jejich působení na zaměstnance a k vhodné organizaci bezpečnosti a ochrany zdraví zaměstnanců při práci, b) evidenci a hlášení pracovních úrazů a uznaných nemocí z povolání, c) výkonu kontroly a opatřeních orgánů, kterým přísluší výkon kontroly nad bezpečností a ochranou zdraví při práci podle zvláštních právních předpisů.

(7) Zaměstnavatel je povinen umožnit odborové organizaci a zástupci pro oblast bezpečnosti a ochrany zdraví při práci při kontrolách orgánů, kterým přísluší výkon kontroly podle zvláštních právních předpisů, přednést své připomínky.

Také je třeba si vzpomenout na požadavek § 14, odst. 3 :

(3) Zaměstnavatel je povinen projednat se zaměstnancem nebo na jeho žádost s odborovou organizací nebo radou zaměstnanců anebo zástupcem pro oblast bezpečnosti a ochrany zdraví při práci stížnost zaměstnance na výkon práv a povinností vyplývajících z pracovněprávních vztahů. Tím není dotčeno právo zaměstnance domáhat se svých práv u soudu.

Dále si připomeňme, že v části dvanácté zákoníku práce s příznačným názvem "informování, projednání v pracovněprávním vztahu a oprávnění odborové organizace, rada zaměstnanců a zástupce pro oblast bezpečnosti a ochrany zdraví při práci“ je napsáno následující:

§ 276

(1) Zaměstnanci v pracovněprávním vztahu uvedeném v § 3 větě druhé mají právo na informace a projednání. Zaměstnavatel je povinen informovat zaměstnance a jednat s nimi přímo, nepůsobí-li u něj odborová organizace, rada zaměstnanců nebo zástupce pro oblast bezpečnosti a ochrany zdraví při práci (dále jen "zástupci zaměstnanců“).

(2) Zástupci zaměstnanců nesmějí být pro výkon své činnosti znevýhodněni nebo zvýhodněni ve svých právech, ani diskriminováni.

(3) Důvěrnou informací se rozumí informace, jejíž poskytnutí může ohrozit nebo poškodit činnost zaměstnavatele. Za důvěrnou informaci se nepovažuje informace, kterou je zaměstnavatel povinen sdělit, projednat nebo zveřejnit podle tohoto zákona nebo zvláštního právního předpisu. Informace o skutečnostech chráněných podle zvláštních právních předpisů není zaměstnavatel povinen podávat nebo projednávat. Členové odborové organizace, rady zaměstnanců a zástupce pro oblast bezpečnosti a ochrany zdraví při práci jsou povinni zachovávat mlčenlivost o důvěrných informacích a o skutečnostech, o nichž se dovědí při výkonu své funkce, pokud by porušením mlčenlivosti mohlo dojít k prozrazení utajovaných informací nebo porušení oprávněných zájmů zaměstnavatele nebo zaměstnanců. Tato povinnost trvá i po dobu 1 roku po skončení výkonu jejich funkce, pokud zvláštní právní předpis nestanoví jinak.

(4) Ustanovení odstavce 3 platí i pro odborníky, které si zástupci zaměstnanců přizvou.

(5) Zástupci zaměstnanců jsou povinni vhodným způsobem informovat zaměstnance na všech pracovištích o své činnosti a o obsahu a závěrech informací a projednání se zaměstnavatelem.

(6) Zaměstnavatel je povinen umožnit zaměstnancům konání voleb zástupců zaměstnanců. Volby se konají v pracovní době. Nedovolují-li to provozní možnosti zaměstnavatele, může se volba uskutečnit i mimo pracoviště.

§ 277

Zaměstnavatel je povinen na svůj náklad vytvořit zástupcům zaměstnanců podmínky pro řádný výkon jejich činnosti, zejména jim poskytovat podle svých provozních možností v přiměřeném rozsahu místnosti s nezbytným vybavením, hradit nezbytné náklady na údržbu a technický provoz a náklady na potřebné podklady.

HLAVA II zákoníku práce

INFORMOVÁNÍ A PROJEDNÁNÍ

§ 278

(1) K zajištění práva na informace a projednání si mohou zaměstnanci zaměstnavatele zvolit radu zaměstnanců, popřípadě zástupce pro oblast bezpečnosti a ochrany zdraví při práci podle § 281.

(2) Informováním se rozumí poskytnutí nezbytných údajů, z nichž je možné jednoznačně zjistit stav oznamované skutečnosti, popřípadě k ní zaujmout stanovisko. Zaměstnavatel je povinen poskytnout informace v dostatečném předstihu a vhodným způsobem, aby je zaměstnanci mohli posoudit, popřípadě se připravit na projednání a vyjádřit své stanovisko před uskutečněním opatření.

(3) Projednáním se rozumí jednání mezi zaměstnavatelem a zaměstnanci, výměna stanovisek a vysvětlení s cílem dosáhnout shody. Zaměstnavatel je povinen zajistit projednání v dostatečném předstihu a vhodným způsobem, aby zaměstnanci mohli na základě poskytnutých informací vyjádřit svá stanoviska a zaměstnavatel je mohl vzít v úvahu před uskutečněním opatření. Zaměstnanci mají při projednání právo obdržet na své stanovisko odůvodněnou odpověď.

(4) Zaměstnanci mají před uskutečněním opatření právo požadovat dodatečné informace a vysvětlení. Zaměstnanci mají rovněž právo požadovat osobní jednání se zaměstnavatelem na příslušné úrovni řízení podle povahy věci. Zaměstnavatel, zaměstnanci a zástupci zaměstnanců jsou povinni si poskytovat součinnost a jednat v souladu se svými oprávněnými zájmy.

§ 279

Informování

(1) Zaměstnavatel je povinen informovat zaměstnance o

  1. ekonomické a finanční situaci zaměstnavatele a jejím pravděpodobném vývoji,

  2. činnosti zaměstnavatele, jejím pravděpodobném vývoji, jejích důsledcích na životní prostředí a jeho ekologických opatřeních,

  3. právním postavení zaměstnavatele a jeho změnách, vnitřním uspořádání a osobě oprávněné jednat za zaměstnavatele v pracovněprávních vztazích a uskutečněných změnách v předmětu činnosti zaměstnavatele,

  4. základních otázkách pracovních podmínek a jejich změnách,

  5. záležitostech v rozsahu stanoveném v § 280,

  6. opatřeních, kterými zaměstnavatel zajišťuje rovné zacházení se zaměstnanci a zaměstnankyněmi a zamezení diskriminace,

  7. nabídce volných pracovních míst na dobu neurčitou, která by byla vhodná pro další pracovní zařazení zaměstnanců pracujících u zaměstnavatele v pracovním poměru uzavřeném na dobu určitou,

  8. bezpečnosti a ochraně zdraví při práci v rozsahu stanoveném v § 101 až § 106 odst. 1 a § 108 a zvláštním zákonem,

  9. záležitosti v rozsahu stanoveném ujednáním o zřízení evropské rady zaměstnanců nebo na základě jiného ujednaného postupu pro informace a projednání na nadnárodní úrovni nebo v rozsahu stanoveném v § 294.

(2) Povinnosti uvedené v odstavci 1 písm. a) a b) se nevztahují na zaměstnavatele, kteří zaměstnávají méně než 10 zaměstnanců.

(3) Uživatel (§ 2 odst. 5) je rovněž povinen informovat dočasně přidělené zaměstnance agentury práce o nabídce volných pracovních míst.

§ 280

Projednání

(1) Zaměstnavatel je povinen se zaměstnanci projednat

  1. pravděpodobný hospodářský vývoj u zaměstnavatele, b) zamýšlené strukturální změny zaměstnavatele, jeho racionalizační nebo organizační opatření, opatření ovlivňující zaměstnanost, zejména opatření v souvislosti s hromadným propouštěním zaměstnanců podle § 62, c) nejnovější stav a strukturu zaměstnanců, pravděpodobný vývoj zaměstnanosti u zaměstnavatele, základní otázky pracovních podmínek a jejich změny, d) převod podle § 338 až 342, e) bezpečnost a ochranu zdraví při práci v rozsahu stanoveném v § 101 až § 106 odst. 1 a § 108 a zvláštním zákonem, f) záležitosti v rozsahu stanoveném ujednáním o zřízení evropské rady zaměstnanců nebo na základě jiného ujednaného postupu pro informace a projednání na nadnárodní úrovni nebo v rozsahu stanoveném v § 294.

(2) Povinnosti uvedené v odstavci 1 písm. a) až c) se nevztahují na zaměstnavatele, kteří zaměstnávají méně než 10 zaměstnanců.

HLAVA III

RADA ZAMĚSTNANCŮ A ZÁSTUPCE
PRO OBLAST BEZPEČNOSTI A OCHRANY
ZDRAVÍ PŘI PRÁCI

§ 281

(1) Radu zaměstnanců a zástupce pro oblast bezpečnosti a ochrany zdraví při práci je možné zvolit u zaměstnavatele. Rada zaměstnanců má nejméně 3, nejvýše 15 členů. Počet členů je vždy lichý. Celkový počet zástupců pro oblast bezpečnosti a ochrany zdraví při práci závisí na celkovém počtu zaměstnanců zaměstnavatele a na rizikovosti vykonávaných prací; je možné však ustavit nejvýše jednoho zástupce na 10 zaměstnanců. Počet členů rady zaměstnanců a zástupců pro oblast bezpečnosti a ochrany zdraví při práci určí zaměstnavatel po projednání s volební komisí ustavenou podle § 283 odst. 2 .

(2) Funkční období rady zaměstnanců a zástupce pro oblast bezpečnosti a ochrany zdraví při práci trvá 3 roky.

(3) Pro účely volby rady zaměstnanců, popřípadě zástupce pro oblast bezpečnosti a ochrany zdraví při práci je rozhodný počet zaměstnanců zaměstnavatele v pracovním poměru ke dni podání písemného návrhu na vyhlášení voleb.

(4) Rada zaměstnanců zvolí ze svých členů na svém prvním zasedání předsedu a informuje o tom zaměstnavatele a zaměstnance.

(5) Jestliže při přechodu práv a povinností z pracovněprávních vztahů u dosavadního zaměstnavatele i u přejímajícího zaměstnavatele působí zástupci zaměstnanců, přejímající zaměstnavatel v případech uvedených v § 279 a 280 plní povinnosti vůči všem, nedohodnou-li se mezi sebou a zaměstnavatelem jinak. Zástupci zaměstnanců plní své povinnosti do dne, kdy jim uplyne funkční období. Jestliže před uplynutím funkčního období počet členů jedné z rad zaměstnanců klesl na méně než 3, přebírá její funkci druhá rada zaměstnanců.

§ 282

(1) Rada zaměstnanců a funkce zástupce pro oblast bezpečnosti a ochrany zdraví při práci zaniká dnem

  1. uplynutí volebního období, pokud není v tomto zákoně dále stanoveno jinak,

  2. kdy počet členů rady zaměstnanců klesl na méně než 3.

(2) Jestliže u zaměstnavatele působí rada zaměstnanců nebo zástupce pro oblast bezpečnosti a ochrany zdraví při práci a začne u něj působit odborová organizace, plní zaměstnavatel stanovené povinnosti vůči všem zástupcům zaměstnanců, nedohodnou-li se mezi sebou a zaměstnavatelem o jiném způsobu součinnosti.

(3) V případech stanovených v odstavci 1 předá rada zaměstnanců nebo zástupce pro oblast bezpečnosti a ochrany zdraví při práci bez zbytečného odkladu veškeré podklady související s výkonem funkce zaměstnavateli, který je uschová po dobu 5 let ode dne zániku rady zaměstnanců nebo funkce zástupce pro oblast bezpečnosti a ochrany zdraví při práci.

(4) Členství v radě zaměstnanců a funkce zástupce pro oblast bezpečnosti a ochrany zdraví při práci končí dnem

  1. vzdání se funkce, b) skončení pracovního poměru u zaměstnavatele, c) odvolání z funkce.

§ 283

(1) Volby vyhlašuje zaměstnavatel na základě písemného návrhu podepsaného nejméně jednou třetinou zaměstnanců zaměstnavatele v pracovním poměru nejpozději do 3 měsíců ode dne doručení návrhu.

(2) Volby organizuje volební komise složená nejméně ze 3, nejvýše z 9 zaměstnanců zaměstnavatele. Počet členů volební komise určí zaměstnavatel s přihlédnutím k počtu zaměstnanců a vnitřnímu uspořádání. Členy volební komise jsou zaměstnanci podle pořadí, ve kterém jsou podepsáni na písemném návrhu na volbu rady zaměstnanců. Zaměstnavatel informuje zaměstnance o složení volební komise. Volební komisi je povinen poskytnout nezbytné informace a podklady pro účely voleb, zejména seznam všech zaměstnanců v pracovním poměru.

(3) Volební komise

  1. v dohodě se zaměstnavatelem stanoví a vyhlásí termín voleb nejméně 1 měsíc před jejich konáním a konečný termín pro podání návrhů kandidátů,

  2. vypracuje a zveřejní volební řád,

  3. sestaví kandidátní listinu z návrhů zaměstnanců zaměstnavatele v pracovním poměru,

  4. listinu zveřejní v dostatečném předstihu před konáním voleb,

  5. organizuje a řídí volby,

  6. rozhoduje o stížnostech na chyby a nedostatky uvedené na kandidátní listině,

  7. sčítá hlasy a o výsledku voleb sepíše písemný protokol ve dvou vyhotoveních; jedno vyhotovení předá zvolené radě zaměstnanců, popřípadě zvoleným zástupcům pro oblast bezpečnosti a ochrany zdraví při práci, druhé zaměstnavateli,

  8. o výsledku voleb informuje zaměstnavatele a všechny zaměstnance.

(4) Volby jsou přímé, rovné a tajné. Volbu je možno vykonat pouze osobně. K platnosti voleb je potřebná účast alespoň jedné poloviny zaměstnanců zaměstnavatele, kteří se k volbám mohli dostavit, protože jim v tom nebránila překážka v práci nebo pracovní cesta. Každý volič může hlasovat nejvíce pro tolik kandidátů, kolik je míst v radě zaměstnanců; jednomu kandidátu může dát pouze 1 hlas. Nedodrží-li tato pravidla, je jeho hlas neplatný.

(5) Oprávnění volit a být volen mají všichni zaměstnanci zaměstnavatele v pracovním poměru.

§ 284

(1) Navrhovat kandidáty může každý zaměstnanec zaměstnavatele v pracovním poměru. Návrh podává volební komisi písemně a musí jej doložit písemným souhlasem kandidáta, a to nejpozději do termínu stanoveného volební komisí.

(2) Volby se neuskuteční v případě, že volební komise neobdrží do konečného termínu pro podání návrhů kandidátů

  1. do rady zaměstnanců alespoň 3 návrhy,

  2. na funkci zástupce pro oblast bezpečnosti a ochrany zdraví při práci alespoň 1 návrh.

(3) Členy rady zaměstnanců a zástupci pro oblast bezpečnosti a ochrany zdraví při práci jsou do předem určeného počtu zvoleni kandidáti s největším počtem získaných platných hlasů. Kandidáti na dalších místech jsou náhradníky na tyto funkce; stávají se členy rady zaměstnanců nebo zástupci pro oblast bezpečnosti a ochrany zdraví při práci dnem, kdy se tyto funkce uvolní, a to v pořadí podle počtu získaných platných hlasů ve volbách. Při rovnosti hlasů určí volební komise pořadí losem.

(4) Protokol o výsledku voleb uschovává zaměstnavatel po dobu 5 let ode dne voleb.

(5) Na odvolání člena rady zaměstnanců nebo zástupce pro oblast bezpečnosti a ochrany zdraví při práci se přiměřeně použijí ustanovení odstavců 1 až 4 a § 283.

§ 285

(1) Každý zaměstnanec zaměstnavatele v pracovním poměru a zaměstnavatel může podat volební komisi písemnou stížnost na chyby a nedostatky uvedené na kandidátní listině a navrhnout opravu, a to nejpozději 3 dny přede dnem voleb. Volební komise o stížnosti rozhodne a o svém rozhodnutí vyrozumí stěžovatele písemně do dne předcházejícího volbám. Rozhodnutí komise je konečné a je vyloučeno z přezkoumání soudem.

(2) Každý zaměstnanec zaměstnavatele v pracovním poměru a zaměstnavatel se může podáním návrhu na vyslovení neplatnosti volby domáhat ochrany u soudu podle zvláštního zákona, jestliže má za to, že došlo k porušení zákona, které mohlo podstatným způsobem ovlivnit výsledek voleb. Návrh je třeba podat písemně nejpozději do 8 dnů ode dne vyhlášení výsledků voleb.

(3) Jestliže soud rozhodl, že volby jsou neplatné, konají se nejpozději do 3 měsíců od právní moci rozhodnutí opakované volby. Členy volební komise při opakovaných volbách jsou zaměstnanci podle § 283 odst. 2 s vyloučením těch zaměstnanců, kteří působili ve volební komisi a kteří byli kandidáty.

HLAVA IV

PŮSOBNOST ODBOROVÝCH ORGANIZACÍ
V PRACOVNĚPRÁVNÍCH VZTAZÍCH V JEDNÁNÍ
ZA ZAMĚSTNANCE A INFORMOVÁNÍ
A PROJEDNÁNÍ

§ 286

(1) Působí-li u zaměstnavatele více odborových organizací, je zaměstnavatel povinen v případech týkajících se všech nebo většího počtu zaměstnanců, kdy tento zákon nebo zvláštní právní předpisy vyžadují informování, projednání, souhlas nebo dohodu s odborovou organizací, plnit tyto povinnosti vůči všem odborovým organizacím, nedohodne-li se s nimi na jiném způsobu informování, projednání nebo vyslovení souhlasu.

(2) Působí-li u zaměstnavatele více odborových organizací, jedná za zaměstnance v pracovněprávních vztazích ve vztahu k jednotlivým zaměstnancům odborová organizace, jíž je zaměstnanec členem. Za zaměstnance, který není odborově organizován, jedná v pracovněprávních vztazích odborová organizace s největším počtem členů, kteří jsou u zaměstnavatele v pracovním poměru, neurčí-li tento zaměstnanec jinak.

§ 287

Informování a projednání

(1) Zaměstnavatel je povinen informovat odborovou organizaci o

  1. vývoji mezd nebo platů, průměrné mzdy nebo platu a jejich jednotlivých složek včetně členění podle jednotlivých profesních skupin, není-li dohodnuto jinak,

  2. záležitostech uvedených v § 279.

(2) Zaměstnavatel je povinen projednat s odborovou organizací

  1. ekonomickou situaci zaměstnavatele,

  2. množství práce a pracovní tempo (§ 300),

  3. změny organizace práce,

  4. systém odměňování a hodnocení zaměstnanců,

  5. systém školení a vzdělávání zaměstnanců,

  6. opatření k vytváření podmínek pro zaměstnávání fyzických osob, zejména mladistvých, osob pečujících o dítě mladší než 15 let a fyzických osob se zdravotním postižením, včetně podstatných záležitostí péče o zaměstnance, opatření ke zlepšení hygieny práce a pracovního prostředí, organizování sociálních, kulturních a tělovýchovných potřeb zaměstnanců,

  7. další opatření týkající se většího počtu zaměstnanců,

  8. záležitosti uvedené v § 280.

Další požadavek na projednání s odborovou organizací je kladen v § 99:

§ 99

Opatření týkající se hromadné úpravy pracovní doby, práce přesčas, možnost nařizovat práci ve dnech pracovního klidu a noční práci se zřetelem na bezpečnost a ochranu zdraví při práci je zaměstnavatel povinen předem projednat s odborovou organizací.

I zákon č. 309/2006 Sb., § 9, odst. 5 pamatuje na práva odborové organizace, příp. zástupce pro oblast bezpečnosti a ochrany zdraví při práci:

§ 9

(5) Při zajišťování úkolů v prevenci rizik postupuje odborně způsobilá osoba v součinnosti s odborně způsobilými fyzickými osobami vykonávajícími svoji působnost podle zvláštních právních předpisů, s odborovou organizací a zástupcem pro oblast bezpečnosti a ochrany zdraví při práci.

Připomeňme si rovněž, že § 15 a dále i § 22 - § 29 zákoníku práce řeší podrobněji tematiku odborové organizace i kolektivní smlouvy (viz výtah ze zákoníku práce níže).

§ 15

(1) Odborové organizace jsou oprávněny vystupovat v pracovněprávních vztazích, včetně kolektivního vyjednávání podle tohoto zákona, za podmínek stanovených zákonem nebo sjednaných v kolektivní smlouvě.

(2) Za odborovou organizaci jedná orgán určený jejími stanovami.

Dále řeší zákoník práce i téma kolektivní smlouva, a to v níže uvedených paragrafech.

§ 22

Právo uzavřít kolektivní smlouvu za zaměstnance má pouze odborová organizace.

§ 23

(1) Především v kolektivní smlouvě je možné upravit mzdová nebo platová práva a ostatní práva v pracovněprávních vztazích, jakož i práva nebo povinnosti účastníků této smlouvy. Kolektivní smlouva nemůže ukládat povinnosti jednotlivým zaměstnancům.

(2) Účastníky kolektivní smlouvy jsou zaměstnavatel nebo více zaměstnavatelů, nebo jedna nebo více organizací zaměstnavatelů a jedna nebo více odborových organizací.

(3) Kolektivní smlouvu není možné nahrazovat smlouvou podle § 51 občanského zákoníku.

(4) Kolektivní smlouva je

  1. podniková, je-li uzavřena mezi zaměstnavatelem nebo více zaměstnavateli a odborovou organizací nebo více odborovými organizacemi působícími u zaměstnavatele,

  2. vyššího stupně, je-li uzavřena mezi organizací nebo organizacemi zaměstnavatelů a odborovou organizací nebo odborovými organizacemi.

(5) Postup při uzavírání kolektivní smlouvy, včetně řešení sporů mezi účastníky, upravuje zvláštní právní předpis.

§ 24

(1) Odborová organizace uzavírá kolektivní smlouvu také za zaměstnance, kteří nejsou odborově organizováni.

(2) Působí-li u zaměstnavatele více odborových organizací, jedná zaměstnavatel o uzavření kolektivní smlouvy se všemi odborovými organizacemi; odborové organizace vystupují a jednají s právními důsledky pro všechny zaměstnance společně a ve vzájemné shodě, nedohodnou-li se mezi sebou a zaměstnavatelem jinak.

§ 25

(1) Kolektivní smlouva je závazná pro její účastníky.

(2) Kolektivní smlouva je závazná také pro

  1. zaměstnavatele, kteří jsou členy organizace zaměstnavatelů, která uzavřela kolektivní smlouvu vyššího stupně, a pro zaměstnavatele, kteří v době účinnosti kolektivní smlouvy z organizace zaměstnavatelů vystoupili,

  2. zaměstnance, za které uzavřela kolektivní smlouvu odborová organizace nebo odborové organizace,

  3. odborové organizace, za které uzavřela kolektivní smlouvu vyššího stupně odborová organizace.

(3) Zaměstnanec má právo předkládat podněty ke kolektivnímu vyjednávání o kolektivní smlouvě a má právo být informován o průběhu tohoto vyjednávání.

(4) Práva, která vznikla z kolektivní smlouvy jednotlivým zaměstnancům, se uplatňují a uspokojují jako ostatní práva zaměstnanců z pracovního poměru nebo dohod o pracích konaných mimo pracovní poměr.

§ 26

(1) Kolektivní smlouva může být uzavřena na dobu určitou nebo na dobu neurčitou s výpovědní dobou v délce 6 měsíců, která začíná prvním dnem měsíce následujícího po doručení písemné výpovědi účastníku kolektivní smlouvy. Kolektivní smlouvu je možné vypovědět nejdříve po uplynutí 6 měsíců od data její účinnosti. Je-li ukončení doby podle věty první vázáno na splnění podmínky, musí kolektivní smlouva obsahovat také údaj o nejzazší době její účinnosti.

(2) Účinnost kolektivní smlouvy začíná prvním dnem období, na které byla kolektivní smlouva uzavřena, a končí uplynutím tohoto období, pokud doba účinnosti některých práv nebo povinností není v kolektivní smlouvě sjednána odchylně.

§ 27

(1) Podniková kolektivní smlouva je neplatná v té části, která upravuje práva a povinnosti z pracovněprávních vztahů zaměstnanců v menším rozsahu než kolektivní smlouva vyššího stupně.

(2) Kolektivní smlouva musí být uzavřena písemně a podepsána účastníky na téže listině, jinak je neplatná.

§ 28

Pro kolektivní smlouvu se nepoužije ustanovení § 41a, 42a, 43a, 43b, 43c, 44 a 49 občanského zákoníku.

§ 29

Účastníci kolektivní smlouvy jsou povinni s obsahem kolektivní smlouvy seznámit zaměstnance nejpozději do 15 dnů od jejího uzavření.

V neposlední řadě je důležitý požadavek zákoníku práce, § 105 ohledně účasti odborové organizace nebo zástupce pro oblast bezpečnosti a ochrany zdraví při práci při pracovních úrazech.

§ 105

(1) Zaměstnavatel, u něhož k pracovnímu úrazu došlo, je povinen objasnit příčiny a okolnosti vzniku tohoto úrazu za účasti zaměstnance, pokud to zdravotní stav zaměstnance dovoluje, svědků a za účasti odborové organizace nebo zástupce pro oblast bezpečnosti a ochrany zdraví při práci a bez vážných důvodů neměnit stav na místě úrazu do doby objasnění příčin a okolností vzniku pracovního úrazu. O pracovním úrazu zaměstnance jiného zaměstnavatele zaměstnavatel podle věty první bez zbytečného odkladu uvědomí zaměstnavatele úrazem postiženého zaměstnance, umožní mu účast na objasnění příčin a okolností vzniku pracovního úrazu a seznámí ho s výsledky tohoto objasnění.

Vzorové pokyny pro dodavatele

Pokyny pro externí dodavatele firmy

Zaměstnanci dodavatelů, kteří se zdržují v prostorách firmy, jsou povinni:

1. Vstup do areálu firmy

Zaměstnanci dodavatele při vstupu do areálu společnosti jsou povinni ohlásit svůj příchod a odchod na vrátnici.

Pracovník vrátnice zajistí informování odpovědného zaměstnance firmy, který si návštěvníka převezme.

2. Služební vozidla

Parkování služebních osobních vozidel dodavatele je možné pouze na vyhrazeném parkovišti pro návštěvy.

Pokud je nutný vjezd vozidel dodavatele do areálu, musejí řidiči vozidel dodržet následující podmínky:

  1. Pro provoz na komunikacích naší společnosti platí zákon o provozu na pozemních komunikacích.

  2. V areálu na venkovních komunikacích je nejvyšší dovolená rychlost 20 km/h.

  3. Vjezd do objektů je dovolen pouze na dobu nakládky / vykládky s předchozím souhlasem osoby odpovědné za příslušné pracoviště společnosti.

  4. Není dovoleno parkovat vozidlo před vjezdy do objektů, únikovými východy, v nepřehledných místech a tam, kde je parkování zakázáno. Vozidlo je možné parkovat tak, aby nepřekáželo ostatnímu provozu, zejména pak provozu VZV.

  5. Při couvání (zejména do objektů, uvnitř objektů) je řidič povinen dbát zvýšené opatrnosti a couvání zajistit pomocí způsobilé a poučené osoby.

  6. V areálu není dovoleno provádět na vozidle opravářské práce, kromě nutných havarijních oprav.

  7. Pokud dojde během provozu nebo provádění prací dodavatelem k úniku provozních kapalin z vozidla dodavatele, je povinen odpovědný pracovník dodavatele učinit nezbytná opatření k zastavení dalšího úniku, informovat ihned pověřeného pracovníka a na náklady dodavatele zajistit likvidaci uniklých kapalin.

3. Provádění prací a služeb - zajištění BOZP

  1. Chovat se tak, aby svojí činností nezavdali příčinu ke vzniku požáru nebo úrazu, respektovat a nepoškozovat bezpečnostní značení v areálu.

    • Respektovat veškerá omezení a zákazy označené výstražnými značkami,

    • dodržovat zákaz jakékoliv manipulace s veškerým zařízením vybavení firmy,

    • dodržovat zákaz kouření a manipulace s otevřeným ohněm v celém areálu, kromě vyhrazených míst.

  2. Udržovat pořádek a čistotu, nepoškozovat budovu, sociální zařízení a ostatní majetek.

  3. Nezastavovat únikové cesty a přístupy k hasicím zařízením a rozvaděčům žádnými předměty ani materiálem. Tyto prostory musejí zůstat trvale volné.

  4. Dodavatel je povinen určit vedoucího zaměstnance, který odpovídá za chování ostatních zaměstnanců dodavatele u naší společnosti. Dodavatel musí seznámit zaměstnance, vyslané k provádění prací, s tímto dokumentem a platnými právními předpisy pro zajištění BOZP, PO a ochrany životního prostředí.

  5. Pracovníci dodavatele musejí být pro výkon činnosti vybaveni potřebnými osobními ochrannými pracovními prostředky podle identifikovaných rizik. Při provádění prací jsou povinni tyto OOPP používat.

  6. Práce (popř. obsluhu zařízení), pro něž je podmínkou zvláštní odborná a zdravotní způsobilost, smějí provádět pouze zaměstnanci dodavatele s touto způsobilostí.

  7. Zaměstnanci dodavatele nesmějí zahájit práce bez předchozího povolení (souhlasu) odpovědného pracovníka naší společnosti.

  8. Zaměstnanci dodavatele jsou povinni zajistit a vymezit pracoviště (po dohodě s odpovědným pracovníkem) a označit bezpečnostními značkami tak, aby ostatní osoby byly informovány o možných nebezpečích, popř. o zákazu vstupu do ohroženého prostoru, a to i při přerušení prací dodavatelem.

  9. Zaměstnanci dodavatele nesmějí obsluhovat žádné stroje a zařízení ve vlastnictví naší společnosti bez předchozího souhlasu odpovědného pracovníka a bez potřebné kvalifikace.

  10. Pohyb zaměstnanců dodavatele je omezen na prostory, kde jsou vykonávány objednané práce a na přístupové komunikace k nim. Do ostatních prostorů je vstup zaměstnancům dodavatele zakázán, pokud k tomu nebudou vyzváni.

  11. Opravářské práce uvnitř objektů nesmějí být prováděny nad ostatními zaměstnanci. Pokud jsou prováděny práce ve výškách, je dodavatel povinen zajistit nářadí a materiál, potřebný pro uskutečnění prací, proti pádu (použití upínacích pásů, odkládacích ploch apod.) a vymezit ohrožený prostor pod místem prováděných prací podle NV č. 362/2005 Sb.

  12. Provádění prací se zvýšeným nebezpečím požáru je možné pouze po vystavení písemného příkazu k provedení svářecích prací v souladu s vyhláškou č. 87/2000 Sb.

  13. Zaměstnanci dodavatele jsou povinni ohlásit objednateli vznik každé mimořádné události vzniklé v souvislosti s činností zaměstnanců dodavatele u naší společnosti.

4. Seznámení s riziky

Dodavatel je povinen seznámit se s riziky příslušného pracoviště naší společnosti ještě před zahájením prací. Rovněž je povinen oznámit objednateli rizika, která mohou ohrozit osoby zdržující se na příslušném pracovišti.

5. Krizový a poplachový plán

  1. Před zahájení činnosti je objednatel povinen seznámit své zaměstnance s interní dokumentací firmy v rozsahu požární poplachové směrnice, požárního evakuačního plánu, s traumatologickým a havarijním plánem.

  2. Nahlásit každé zahoření, případně požár, ke kterému došlo při pobytu v areálu firmy.

  3. Věcné prostředky požární ochrany a požárně bezpečnostní zařízení:

    • Vnitřní hydrantové systémy jsou instalovány v celém závodě.

    • Přenosné hasicí přístroje jsou umístěny na každém pracovišti.

    • Náš závod je vybaven zařízením EPS.

Vzorové pokyny pro návštěvníky

Pokyny pro pohyb návštěvníků v prostorách firmy

Návštěvníci, kteří se zdržují v prostorách firmy, jsou povinni:

  1. Ohlásit vstup na recepci, popř. vrátnici v areálu firmy a prokázat svou totožnost platným pasem nebo občanským průkazem.

  2. Parkovat pouze na vyznačených nebo Vám určených místech.

  3. Chovat se tak, aby svou činností nezavdali příčinu ke vzniku požáru, úrazu nebo ohrožení životního prostředí, respektovat a nepoškozovat bezpečnostní značení v areálu a dbát zásad politiky kvality, ochrany životního prostředí a bezpečnosti práce společnosti.

  4. Pohybovat se pouze v místech, které jsou předmětem Vaší návštěvy a ve výrobních prostorách pouze v doprovodu zaměstnance společnosti. Dodržovat vyznačené cesty. Mějte na paměti, že na našich pracovištích se můžete setkat s pohybujícími se manipulačními dopravními (vysokozdvižnými vozíky), rotujícími částmi strojů apod. Dodržujte max. rychlost 15 km/hod. na účelových komunikacích. Na našich účelových komunikacích platí pravidla silničního provozu.

  5. Na rizikových pracovištích je návštěva povinna používat OOPP (např. skladovací prostory - ochranná přilba). S druhy OOPP seznámí návštěvu vedoucí zaměstnanec daného pracoviště, který předá OOPP návštěvě a určí prostory, ve kterých musejí být používány, a informuje o možných nebezpečích, únikových cestách, umístění hasicích přístrojů, lékárniček, jakož i o chování v případě nouze.

  6. Řídit se ve výrobních prostorách pokyny provázejícího zaměstnance naší společnosti.

  7. Nefotografovat a nepořizovat videozáznamy bez povolení statutárního zástupce. Nevynášet z areálu žádné vzorky materiálu a výrobků bez povolení zodpovědného vedoucího zaměstnance.

    • Respektovat veškerá omezení a zákazy značené výstražnými značkami;

    • dodržovat zákaz jakékoliv manipulace s veškerým zařízením a vybavením firmy, zákaz užívání a zasahování do strojů neoprávněnými osobámi;

    • nepřibližovat se ke strojům a k zařízením. Tyto mohou být za určitých okolností z důvodu neznalosti problematiky možnými zdroji úrazu Vaší osoby. Nedotýkat se žádných součástek nebo dílů a strojních a technických zařízení, strojů a přístrojů, pokud to nevyžaduje povaha a účel návštěvy nebo výkon její pracovní činnosti;

    • dodržovat zákaz kouření a manipulace s otevřeným ohněm v celém areálu společnosti;

    • dodržovat zákaz používat soukromé elektrické spotřebiče a ostatní tepelné spotřebiče.

    Dále mají návštěvníci zakázáno používat otevřený oheň (např. svíčky, světlice) ve všech prostorech areálu.

  8. Udržovat pořádek a čistotu, postarejte se o řádnou likvidaci odpadu podle druhu a jeho třídění podle instrukcí příslušného vedoucího zaměstnance. Nepoškozovat budovu, sociální zařízení a ostatní majetek společnosti.

  9. Je zakázáno vstoupit do areálu společnosti pod vlivem alkoholu a drog. Dále je zakázáno donášet a konzumovat alkoholické nápoje, popř. drogy. Platí přísný zákaz donášení střelných a jiných zbraní do areálu naší společnosti.

  10. Nezastavovat únikové i hlavní cesty a přístupy k hasicím zařízením a rozvaděčům žádnými předměty ani materiálem. Tyto prostory musejí zůstat trvale volné.

  11. Respektovat požární poplachové směrnice, provozní a požární řády a zásady ochrany životního prostředí.

  12. Nahlásit každé zahoření a ohrožení životního prostředí, případně požár a úraz, ke kterému došlo při pobytu v areálu. Účinně spolupracovat při sepsání záznamu o požáru případně ekologické havárii a při dalším vyšetřování.

  13. Upozornit zaměstnance firmy na závady, které by mohly ohrozit požární ochranu, bezpečnost a zdraví osob, nebo životní prostředí.

  14. Ohlašovna požáru a ekologické havárie a lékárnička jsou umístěny na recepci, první pomoc lze přivolat z recepce, příp. vrátnice. Každý návštěvník je v případě zjištění požáru povinen vyhlásit požární poplach voláním "Hoří!“. Při následné evakuaci je každý povinen opustit budovu nejbližším únikovým východem a řídit se pokyny příslušného vedoucího zaměstnance. Shromaždiště je před hlavním vstupem do společnosti v blízkosti parkoviště.

  15. Pozor, v zimních měsících hrozí riziko uklouznutí na venkovních komunikacích. Pohybujte se zvýšenou opatrností pouze po komunikacích ošetřených posypem.

  16. V areálu naší společnosti je zakázáno opravovat vozidla. V případě havarijního úniku provozní kapaliny z Vašeho vozidla informujte ihned pracovníka recepce, aby se zajistilo co nejrychlejší odstranění pomocí sorpčních prostředků.

4.4 Implementace a provoz

Zde si přiblížíme, jaké jsou rozdíly mezi kapitolou "4.4.4 Dokumentace“ této nové normy ČSN OHSAS 18001:2008 a předchozí verzí specifikace OHSAS 18001:1999.

OHSAS 18001:1999 ČSN OHSAS 18001:2008
4.4 Zavedení a provoz 4.4 Implementace a provoz
4.4.4 Dokumentace 4.4.4 Dokumentace
Organizace musí vytvořit a udržovat informace na vhodném nosiči, např. v tištěné nebo elektronické formě, které
  1. popisují základní prvky systému managementu a jejich vzájemnou součinnost; a

  2. poskytují odkaz na související dokumentaci.

Poznámka: Je důležité, aby dokumentace byla udržována minimálně pro požadovanou efektivitu a účinnost.
Dokumentace systému managementu BOZP organizace musí zahrnovat
  1. politiku a cíle BOZP,

  2. popis rozsahu systému managementu BOZP,

  3. popis hlavních prvků systému managementu BOZP a jejich vzájemného působení a odkaz na související dokumenty,

  4. dokumenty, včetně záznamů, požadované touto normou OHSAS, a

  5. dokumenty, včetně záznamů, určené organizací jako nezbytné k zajištění efektivního plánování, provozování a řízení procesů, které souvisejí s managementem rizik v oblasti BOZP.

Poznámka: Je důležité, aby byla dokumentace přiměřená stupni složitosti a příslušným nebezpečím a rizikům a aby byla udržována na minimální úrovni požadované pro danou efektivitu a účinnost.

Pokud porovnáme text specifikace OHSAS 18001 z roku 1999 s novou normou OHSAS 18001, je už na první pohled znát, že je v nové normě kladen důraz na dokumentovanou politiku a cíle BOZP, popis rozsahu systému managementu BOZP, dokumenty a záznamy požadované normou OHSAS 18001 a dále ty, jež jsou nutné k zajištění efektivního plánování, provozování a řízení procesů.

Zkusme si tedy nyní přiblížit jednotlivé odstavce.

V odstavci a) se hovoří o požadavku mít dokumentovanou politiku a cíle BOZP. Připomeňme si, že tato povinnost je stanovena v kapitolách 4.2 a 4.3.3 normy OHSAS 18001.

V odstavci b) je stanoveno, aby byl popsán rozsah systému managementu BOZP, což je vlastně požadavek kapitoly 4.1 normy OHSAS 18001. Nejjednodušší způsob, jak splnit tento závazek, je např. doplnit do příručky ISŘ větu "systém managementu BOZP je vytvořen, dokumentován, uplatňován a udržován ve všech výrobních i doprovodných činnostech v areálu naší společnosti“.

Odstavec c) "popis hlavních prvků systému managementu BOZP a jejich vzájemného působení a odkaz na související dokumenty“ je pro aplikování nejsložitější. Je nutné popsat hlavní prvky našeho systému řízení. To je nejčastěji realizováno dvěma způsoby, a to buď popsáním v příručce ISŘ, nebo v dokumentovaném postupu organizace BOZP.

Rozhodneme-li vše zahrnout do příručky ISŘ, nesmíme pak zapomenout na dokumentování:

Ddokumentování

  1. identifikace nebezpečí, posuzování rizika a určení způsobu řízení - stačí odkázat se na interní dokumentovaný postup, jenž řeší tento požadavek normy 18001, kap. 4.3.1. Odstavec v příručce pak může vypadat následovně:

    "Naše společnost klade velký důraz na průběžnou identifikaci nebezpečí, posuzování rizika a uplatňování nezbytných opatření k řízení těchto rizik, neboť výsledky těchto posuzování jsou klíčová při stanovování cílů ISŘ a cílových hodnot. Metodika pro identifikaci nebezpečí, posuzování a řízení rizik je popsána ve směrnici Identifikace a hodnocení bezpečnostních rizik XY.

    Vyhodnocení rizik včetně identifikace zdrojů rizik a bezpečnostních opatření je uvedeno v "Registru bezpečnostních rizik“, který řídí manažer BOZP.“;

  2. úloh, odpovědností, povinností a pravomoci např. prostřednictvím popisu pracovní funkce, v organizačním řádu či jiném interním dokumentu. Nezapomeňme rovněž na určení odpovědných osob za jednotlivé oblasti BOZP v souladu s požadavky našich právních předpisů a na jmenování představitele vedení pro oblast BOZP;

  3. řízení provozu - tato část bude vždy nejobsáhleji popsána, jelikož do této kapitoly 4.4.6 normy OHSAS 18001 spadají zpracované směrnice a další postupy BOZP, místní provozní bezpečnostní předpisy (jako např. Dopravně provozní řád, Skladový řád), návody, bezpečnostní pokyny, bezpečnostní informace a další dokumentace nezbytná pro zajištění bezpečnosti a ochrany zdraví.

    Řízení provozu zahrnuje např. následující témata:

    • nakládání s chemickými látkami a přípravky (v souladu se zákonem č. 356/2003 Sb. a nařízení ES č. 1272/2008) včetně zajištění přístupu k bezpečnostním listům nebezpečných chemických látek a přípravků,

    • práce a pracoviště, které jsou zakázány těhotným ženám, kojícím ženám, matkám do konce devátého měsíce po porodu a mladistvým, a podmínky, za nichž mohou mladiství výjimečně tyto práce konat z důvodu přípravy na povolání podle vyhlášky č. 288/2003 Sb.,

    • zajištění osobních ochranných pracovních prostředků, mycích, čisticích a dezinfekčních prostředků, pracovních oděvů a obuvi v souladu s nařízením vlády č. 495/2001 Sb.,

    • návody či místní provozní bezpečnostní předpisy - ty patří při auditech k velmi problémové oblasti. Je velmi časově náročné zajistit si návody - tedy externí dokumenty - a ty poté řídit. Jen si položme otázku, zda máme ve firmě návody v českém jazyce či místní provozní bezpečnostní předpisy ke všem strojům, zařízením, přístrojům a nářadím, jak to po nás požaduje nařízení vlády č. 378/2001 Sb., v platném znění (nařízení vlády, kterým se stanoví bližší požadavky na bezpečný provoz a používání strojů, technických zařízení, přístrojů a nářadí);

  4. havarijní připravenost - tam spadají plány a postupy k identifikaci možnosti vzniku nežádoucích situací a havarijních situací a reakce na ně a postupy pro prevenci vzniku havarijní situace a zmírnění pravděpodobných onemocnění a zranění, které tyto situace mohou způsobit včetně prevence na úseku požární ochrany, pro likvidaci požáru, evakuaci osob a zajištění lékařské pomoci. Jde např. o traumatologický plán, havarijní plán pro případ úniku látek závadných vodám, požární řády, stanovení organizace zabezpečení požární ochrany atd.

Další možností, jak už jsme vzpomínali, je to, že v dokumentu "organizace BOZP“, kterou zpracuje odborně způsobilá osoba v prevenci rizik, jsou popsány hlavní prvky systému řízení BOZP i jejich vzájemného působení a tento dokument se odkazuje na další související dokumenty BOZP.

Má-li společnost odborně způsobilou osobu v prevenci rizik, pak by měla teoreticky mít už před zavedením systému managementu BOZP podle této normy OHSAS 18001 zpracovanou veškerou povinnou dokumentaci z hlediska platných právních předpisů BOZP. Je-li tomu tak, poté už by stačilo pouze zahrnout tyto dokumenty do systému integrovaného řízení, tedy dát jim patřičnou formální podobu a odkázat se na ně v dokumentaci integrovaného systému managementu, případně vytvořit určitý přehledný dokument, který by popisoval vnitřní vazby mezi stávajícími postupy BOZP a požadavky normy OHSAS 18001 (např. formou tabulky).

V žádném případě není nutné nahrazovat stávající dokumentaci BOZP, jako jsou např. různé pracovní instrukce, postupy či manuály.

Závazné dokumenty

Odstavec d) "dokumenty, včetně záznamů, požadované touto normou OHSAS“ - zde je nutné si projít důkladně požadavky normy, a pokud to uděláme, měli bychom zjistit, že je závazné mít např.:

  • dokumentovaný rozsah svého systému managementu BOZP,

  • dokumentovanou politiku BOZP,

  • dokumentovanou metodiku pro identifikaci nebezpečí, posuzování rizika a určení způsobu řízení,

  • dokumentovaná rizika (často nazýváno "registrem rizik“),

  • dokumentované cíle BOZP,

  • dokumentování úloh, odpovědností, povinností a pravomocí,

  • určeného člena vrcholového vedení se zvláštní odpovědností za BOZP,

  • záznamy o výcviku, vzdělání nebo zkušenostech,

  • záznamy o hodnocení efektivnosti výcviku a přijatých opatřeních,

  • dokumentování významných podnětů od externích zainteresovaných stran,

  • zprávy ze spoluúčasti a konzultací,

  • dokumentované postupy pro pokrytí situací, kdy by bez těchto postupů mohlo dojít k odchýlení se od politiky a cílů BOZP,

  • údaje a výsledky z monitorování a měření výkonnosti BOZP,

  • záznamy o kalibraci a činnostech údržby a o výsledcích - to vše zaznamenáno zařízením pro monitorování a měření výkonnosti,

  • záznamy o výsledcích hodnocení souladu s požadavky právních předpisů a s jinými požadavky, které se na společnost vztahují,

  • záznamy o incidentech včetně výsledků vyšetřování incidentů,

  • záznamy o přijatých nápravných a preventivních opatřeních,

  • zprávy z auditu systému managementu BOZP,

  • záznamy z přezkoumání systému managementu BOZP.

Připomeňme si, že pojem "postup“ v normě OHSAS 18001 znamená specifikovaný způsob provádění činnosti nebo procesu. Postupy však mohou nebo nemusejí být dokumentovány. Toto je třeba mít vždy na paměti, pokud se budeme rozhodovat o tom, zda dokument zpracovat či ne.

Odstavec e) "dokumenty, včetně záznamů, určené organizací jako nezbytné k zajištění efektivního plánování, provozování a řízení procesů, které souvisejí s managementem rizik v oblasti BOZP“ - zde by se organizace měla rozhodnout, jakou dokumentaci má mít vytvořenou, a to na základě posouzení rizik. To znamená, jaké je riziko, že daný úkol nebude splněn tak, jak by měl být, jen kvůli nedostatku písemných postupů nebo pokynů.

Dokumentace by měla tedy být vyhotovena s ohledem na potřeby organizace, její strukturu a prováděné činnosti.

Legislativní požadavky

Co se týče legislativních požadavků dotýkajících se dokumentace, pak je nutné vzít v úvahu požadavky zákoníku práce (zákon č. 262/2006 Sb., v platném znění), a to zejména části třinácté,hlavy III, Vnitřní předpis, jenž je definován v § 305 v následujících odstavcích:

Odst. 1: U zaměstnavatele může vnitřní předpis stanovit mzdová nebo platová práva a ostatní práva v pracovněprávních vztazích, z nichž je oprávněn zaměstnanec. Vnitřní předpis nesmí ukládat povinnosti jednotlivým zaměstnancům.

Odst. 2: Vnitřní předpis musí být vydán písemně, nesmí být v rozporu s právními předpisy ani být vydán se zpětnou účinností, jinak je zcela nebo v dotčené části neplatný. Nejde-li o pracovní řád, vydá se vnitřní předpis zpravidla na dobu určitou, nejméně však na dobu 1 roku; vnitřní předpis týkající se odměňování může být vydán i na kratší dobu.

Odst. 3: Vnitřní předpis je závazný pro zaměstnavatele a pro všechny jeho zaměstnance. Nabývá účinnosti dnem, který je v něm stanoven, nejdříve však dnem, kdy byl u zaměstnavatele vyhlášen.

Odst. 4: Zaměstnavatel je povinen zaměstnance seznámit s vydáním, změnou nebo zrušením vnitřního předpisu nejpozději do 15 dnů. Vnitřní předpis musí být všem zaměstnancům zaměstnavatele přístupný. Zaměstnavatel je povinen uschovat vnitřní předpis po dobu 10 let ode dne ukončení doby jeho platnosti.

Odst. 5: Jestliže zaměstnanci vzniklo na základě vnitřního předpisu právo z pracovněprávního vztahu uvedeného v § 3 větě druhé, zejména mzdové, platové nebo ostatní právo v pracovněprávních vztazích, nemá zrušení vnitřního předpisu vliv na trvání a uspokojení tohoto práva.

Pracovní řád

Důležité jsou rovněž požadavky definované v § 306 zákoníku práce - Pracovní řád:

Odst. 1: Pracovní řád je zvláštním druhem vnitřního předpisu; rozvádí ustanovení tohoto zákona, popřípadě zvláštních právních předpisů podle zvláštních podmínek u zaměstnavatele, pokud jde o povinnosti zaměstnavatele a zaměstnance vyplývající z pracovněprávních vztahů. Pracovní řád však nesmí zakládat nové povinnosti zaměstnanců.

Odst. 2: Pracovní řád nemůže obsahovat úpravu podle § 305 odst. 1 .

Odst. 4: Zaměstnavatel, u kterého působí odborová organizace, může vydat nebo změnit pracovní řád jen s předchozím písemným souhlasem odborové organizace, jinak je vydání nebo změna neplatné.

Dále nesmíme zapomenout, že v zákoníku práce (zákon č. 262/2006 Sb., v platném znění) se hovoří o vedení následující dokumentace:

  • o vyhledávání a vyhodnocování rizik a o přijatých opatřeních podle § 102,

  • o informacích a pokynech v souladu s § 103, odst. 1 ,

  • o provedeném školení v souladu s § 103, odst. 2 ,

  • o všech pracovních úrazech podle § 105.

Co se týká oblasti požární ochrany, pak základní požadavek na dokumentaci požární ochrany je stanoven v zákoně o požární ochraně (zákon č. 133/1985 Sb., v platném znění), a to v § 15, kde se píše:

"Právnické osoby a podnikající fyzické osoby provozující činnosti uvedené v § 4 odst. 2 a 3 jsou povinny zpracovávat předepsanou dokumentaci požární ochrany, plnit podmínky požární bezpečnosti v ní stanovené a udržovat ji v souladu se skutečným stavem.“

Prováděcí právní předpis (vyhláška MV č. 246/2001 Sb., v platném znění) stanoví poté druhy, obsah a vedení dokumentace požární ochrany. V tomto právním předpisu je podstatný zejména § 40 - Způsob vedení dokumentace požární ochrany.

Není-li zákonem nebo vyhláškou MV č. 246/2001 Sb. stanoveno jinak, zpracovává, popřípadě vede dokumentaci požární ochrany odborně způsobilá osoba nebo technik požární ochrany. Součástí dokumentace požární ochrany je také uvedení místa a rozsahu její účinnosti, datum zpracování nebo provedení záznamu, jméno a odborná způsobilost zpracovatele, popřípadě osoby, která dokumentaci vede.

Dokumentaci požární ochrany uvedenou v § 27 odst. 1 písm. a) až i) vyhlášky MV č. 246/2001 Sb. schvaluje statutární orgán právnické osoby nebo jím pověřený vedoucí zaměstnanec, podnikající fyzická osoba nebo její odpovědný zástupce před zahájením činnosti, k níž se dokumentace vztahuje.

Kontrola dokumentace požární ochrany uvedené v § 27 odst. 1 písm. a) až i) výše uvedené vyhlášky, včetně záznamu o jejím výsledku, se provádí v rámci preventivních požárních prohlídek, a to nejméně jednou za rok nebo po každém požáru anebo po každé provedené změně, která měla vliv na její obsah.

Požadavky stanovené na obsah některých druhů dokumentace požární ochrany podle § 27 odst. 1 vyhlášky MV č. 246/2001 Sb. mohou být zapracovány do jiné organizační nebo provozní dokumentace vedené právnickou osobou nebo podnikající fyzickou osobou (např. organizační řád, provozní řád, technologické postupy). Jsou-li v takovém případě splněny podmínky uvedené v odstavcích 1 až 3 § 40 vyhlášky o požární prevenci, považují se tyto části jiné organizační nebo provozní dokumentace za příslušné druhy dokumentace požární ochrany.

Ve vyhlášce MV č. 246/2001 Sb. je rovněž napsáno, že pokud vznikne pochybnost zda, popřípadě v jakém rozsahu má být zpracována nebo vedena dokumentace požární ochrany, rozhodne o tom na základě místních podmínek a po posouzení potřebných podkladů orgán státního požárního dozoru.

Poznámka: Při certifikačních auditech, tedy auditech 1. stupně, velmi často vyplave na povrch skutečnost, že firma při zavádění systému managementu BOZP pomyslela pouze na požadavky z oblasti BOZP a na požární ochranu "nějak“ zapomněla. Proto jsme zrekapitulovaly výše uvedené související základní požadavky.

Dokumentace požární ochrany

Dále neopomeňte při zavádění systému managementu BOZP, že dokumentaci požární ochrany tvoří:

  1. dokumentace o začlenění do kategorie činností se zvýšeným požárním nebezpečím nebo s vysokým požárním nebezpečím,

  2. posouzení požárního nebezpečí,

  3. stanovení organizace zabezpečení požární ochrany,

  4. požární řád,

  5. požární poplachové směrnice,

  6. požární evakuační plán,

  7. dokumentace zdolávání požárů,

  8. řád ohlašovny požárů,

  9. tematický plán a časový rozvrh školení zaměstnanců a odborné přípravy preventivních požárních hlídek a preventistů požární ochrany,

  10. dokumentace o provedeném školení zaměstnanců a odborné přípravě preventivních požárních hlídek a preventistů požární ochrany,

  11. požární kniha,

  12. dokumentace o činnosti a akceschopnosti jednotky požární ochrany, případně požární hlídky.

Jak sami můžete posoudit po pročtení tohoto článku, dotýkajícího se požadavku kapitoly 4.4.4 Dokumentace normy OHSAS 18001, ač vypadá tato kapitola na první pohled velmi krátká a jednoduchá, jde o komplikovaný a velmi náročný úkol, kdy je zapotřebí, aby se těmto požadavkům věnovali opravdu odborníci, kteří mají podporu jak ve vedení, tak i od dalších oddělení, jako je např. údržba, výroba, nákup apod. V dalším textu si také pro názornost postupně ukážeme některé konkrétní příklady popsaných požadavků a ustanovení.

Příklady výše popsaných požadavků a ustanovení. Příklady navazují na předchozí části této kapitoly, tj. čl. 4.4.2, 4.4.3 a 4.4.4 normy ČSN OHSAS 18001:2008 ve vazbě na příslušné právní předpisy.

Příklady k čl. 4.4.2:

Oblast školení

Jak již víme z předchozího textu, zaměstnavatel musí zajistit zaměstnancům školení o právních a ostatních předpisech k zajištění bezpečnosti a ochrany zdraví při práci, která doplňují jejich odborné předpoklady a požadavky pro výkon práce. Následující příklad se týká směrnice upravující požadavky v oblasti školení, a to pro:

  • vstupní školení (instruktáž),

  • periodické školení (instruktáž),

  • mimořádné školení (instruktáž).

Platí pravidlo, že všichni nově přijatí zaměstnanci musejí před nástupem do práce (nejpozději však v den nástupu na pracoviště) absolvovat všeobecné úvodní školení o bezpečnosti a ochraně zdraví při práci (a dále rovněž vstupní lékařskou prohlídku u smluvního lékaře závodní preventivní péče; i když tato je povinná pouze v určitých zákonem stanovených případech).

Vstupní instruktáž

Vstupní instruktáž provádí obvykle přímý nadřízený na přiděleném pracovišti (pozn.: který však musí nejprve - a poté zpravidla 1krát za 2 - 3 roky - sám absolvovat školení pro vedoucí pracovníky, není-li on sám současně odborně způsobilou osobou v prevenci rizik podle zákona 309/06 Sb., v platném znění). Při této instruktáži je zaměstnanec seznámen se všemi bezpečnostními předpisy, technologickými postupy, pravidly bezpečné práce a hygienickými předpisy, vztahujícími se na příslušné pracoviště, s nebezpečnými místy provozu a výrobního zařízení, s používáním osobních ochranných pracovních prostředků, protipožárním zabezpečením a s poskytováním první pomoci na pracovišti. Praktický zácvik může být prováděn pouze pod dohledem přímého nadřízeného nebo jím pověřeného pracovníka.

Každý pracovník obsluhující stroj nebo zařízení musí být prokazatelně proškolen a přezkoušen ze znalostí příslušných bezpečnostních předpisů, vnitřních směrnic a případně norem či normativních dokumentů podle své profese, resp. pracovní činnosti, kterou má na daném pracovišti vykonávat. Každý pracovník musí být také seznámen s návodem na obsluhu příslušných strojů a zařízení (s údržbou, lhůtami kontrolních prohlídek, revizí apod.). O všech provedených školeních a instruktážích musí být vždy

Nahrávám...
Nahrávám...